NAVIGATION SYSTEM(for Radio and Display Type) Stereo Component Amplifier Power Source Circuit

DESCRIPTION

This circuit provides power to the stereo component amplifier assembly.

WIRING DIAGRAM

B001G0CE09

CAUTION / NOTICE / HINT

Note

Inspect the fuses for circuits related to this system before performing the following inspection procedure.

PROCEDURE


  1. CHECK HARNESS AND CONNECTOR (STEREO COMPONENT AMPLIFIER ASSEMBLY - BATTERY AND BODY GROUND)


    1. Disconnect the stereo component amplifier assembly connectors.

      B001DKSE03
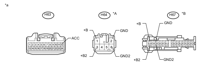
      Text in Illustration
      *A for 5 Door *B for 3 Door
      *a

      Front view of wire harness connector

      (to Stereo Component Amplifier Assembly)

      - -
    2. Measure the resistance according to the value(s) in the table below.

      Standard Resistance
      for 5 Door
      Tester Connection Condition Specified Condition
      H64-2 (GND) - Body ground Always Below 1 Ω
      H64-6 (GND2) - Body ground Always Below 1 Ω
      for 3 Door
      Tester Connection Condition Specified Condition
      H67-3 (GND) - Body ground Always Below 1 Ω
      H67-18 (GND2) - Body ground Always Below 1 Ω
    3. Measure the voltage according to the value(s) in the table below.

      Standard Voltage
      for 5 Door
      Tester Connection Condition Specified Condition
      H64-1 (+B) - H64-2 (GND) Always 11 to 14 V
      H64-3 (+B2) - H64-2 (GND) Always 11 to 14 V
      H63-12 (ACC) - H64-2 (GND) Engine switch on (ACC) 11 to 14 V
      for 3 Door
      Tester Connection Condition Specified Condition
      H67-1 (+B) - H67-3 (GND) Always 11 to 14 V
      H67-16 (+B2) - H67-3 (GND) Always 11 to 14 V
      H63-12 (ACC) - H67-3 (GND) Engine switch on (ACC) 11 to 14 V

    OK
    NG