TIRE PRESSURE WARNING VALVE INSTALLATION

CAUTION / NOTICE / HINT

Note


  • Always use a new grommet and valve core when installing the tire pressure warning valve and transmitter.

  • Check that the washer and nut are not damaged, and replace them if necessary.

  • Make sure not to damage the urethane covered backside of the tire pressure warning valve and transmitter (the surface opposite to the side with the ID code) with anything sharp.

  • If installing a new tire pressure warning valve and transmitter, write down the ID number before installation.

  • Check that there is no oil, water or lubricant around the rim hole, tire pressure warning valve and transmitter, washer and nut. Failing to do so may result in improper installation.

  • Use only a specified cap. If an unspecified cap is used, it may seize to the tire pressure warning valve and transmitter.

PROCEDURE


  1. INSTALL TIRE PRESSURE WARNING VALVE AND TRANSMITTER


    1. Install a new grommet to the tire pressure warning valve and transmitter.

      Note

      Do not install a grommet to a new tire pressure warning valve and transmitter, as a new tire pressure warning valve and transmitter has a grommet already installed.

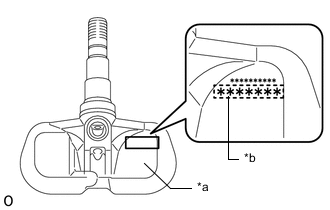
    2. Record the 7-digit number transmitter ID printed on the tire pressure warning valve and transmitter at the position shown in the illustration.

    3. B001CARE01
      Text in Illustration
      *a Printed Surface
      *b 7-digit Number Transmitter ID

      Insert the tire pressure warning valve and transmitter into the valve installation hole from the inside of the rim so that the printed surface can be seen.

      Note


      • Check that there is no visible deformation, damage, or other abnormalities on the tire pressure warning valve and transmitter.

      • Check that there is no foreign matter on the grommet and around the rim hole.

      • If the tire pressure warning valve and transmitter is installed upside down, it may be damaged or fail to transmit signals when driving at high speeds.

    4. B001FTFE01
      Text in Illustration
      *1 Tire Pressure Warning Valve and Transmitter
      *2 Rim
      *3 Grommet
      *4 Washer
      *5 Nut

      From the outside of the rim, install the washer to the tire pressure warning valve and transmitter, which has the grommet installed.

      Afterward, using an 11 mm deep socket wrench, tighten the nut.

      Torque:
      4.0 N*m  { 41 kgf*cm, 35 in.*lbf }

      Note


      • No further tightening is required once the nut is tightened to the specified torque.

      • Check that there is no foreign matter on the washer and nut.

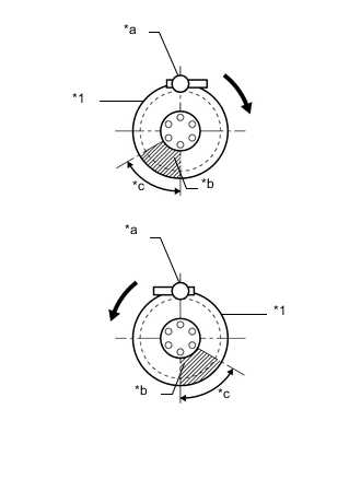
    5. B001HB0E01
      Text in Illustration
      *1 Rim
      *a Mount Tool of Mounting Machine
      *b Area for Tire Pressure Warning Valve and Transmitter
      *c 60°
      B001CHY Rim Rotation Direction

      Set the tire and disc wheel onto the mounting machine.

      Note


      • Make sure the tire pressure warning valve and transmitter is positioned in the area shown in the illustration when set to the mounting machine.

        Otherwise, the tire pressure warning valve and transmitter may interfere with the tire bead and become damaged.

      • Position the main body of the tire pressure warning valve and transmitter in the area shown in the illustration.

    6. Apply a sufficient coat of soapy water or equivalent to the tire bead and rim.

      Note

      Do not apply soapy water or equivalent directly to the tire pressure warning valve and transmitter.

    7. Using a mounting machine, install the tire to the disc wheel.

      Note


      • Make sure that the tire bead and mount tool do not interfere with the tire pressure warning valve and transmitter.

      • Make sure that the tire pressure warning valve and transmitter is not clamped by the bead and rim.

    8. Install a new valve core.

    9. Adjust the tire pressure to the standard tire pressure.

    10. After the tire is inflated, the valve nut may be loose. Using an 11 mm deep socket wrench, retighten the nut to the specified torque.

      Torque:
      4.0 N*m  { 41 kgf*cm, 35 in.*lbf }

      Note

      No further tightening is required once the nut is tightened to the specified torque.

    11. Check for air leaks with soapy water.

      If there is air leakage, push the valve core 2 or 3 times to remove any dirt attached to the valve core. If air continues to leak, replace the grommet, washer and nut.

    12. Install the cap.

  2. INSTALL FRONT WHEEL

    Torque:
    for steel wheel
    112 N*m  { 1137 kgf*cm, 82 ft.*lbf }
    for aluminum wheel
    103 N*m  { 1050 kgf*cm, 76 ft.*lbf }
  3. INSTALL REAR WHEEL

    Torque:
    for steel wheel
    112 N*m  { 1137 kgf*cm, 82 ft.*lbf }
    for aluminum wheel
    103 N*m  { 1050 kgf*cm, 76 ft.*lbf }
  4. INSTALL SPARE TIRE

  5. INSPECT TIRES

    Click here

  6. REGISTER TRANSMITTER ID

    Click here

  7. INSPECT TIRE PRESSURE WARNING SYSTEM

    Click here

  8. PERFORM INITIALIZATION

    Click here