TRANSFER SYSTEM PARTS LOCATION

ILLUSTRATION

B001H2CC01
*A for LHD *B for Vacuum Brake Booster
*C for Hydraulic Brake Booster *D for 5L-E
*1

BRAKE ACTUATOR ASSEMBLY

- SKID CONTROL ECU

*2

HYDRAULIC BRAKE BOOSTER ASSEMBLY

- SKID CONTROL ECU (MASTER CYLINDER SOLENOID)

*3

ENGINE ROOM RELAY BLOCK

- 4WD-B FUSE

- -

ILLUSTRATION

B001GJGC01
*A for RHD *B for Vacuum Brake Booster
*C for Hydraulic Brake Booster *D for 5L-E
*1

BRAKE ACTUATOR ASSEMBLY

- SKID CONTROL ECU

*2

HYDRAULIC BRAKE BOOSTER ASSEMBLY

- SKID CONTROL ECU (MASTER CYLINDER SOLENOID)

*3

ENGINE ROOM RELAY BLOCK

- 4WD-B FUSE

- -

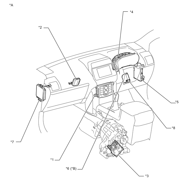
ILLUSTRATION

B001CRGC01
*A for LHD (w/ Combination Switch) *B for 1KD-FTV (Automatic Transmission)
*1

COMBINATION SWITCH ASSEMBLY

- TRANSFER POSITION SWITCH

- CENTER DIFFERENTIAL LOCK SWITCH

*2 4 WHEEL DRIVE CONTROL ECU
*3

TRANSFER SHIFT ACTUATOR ASSEMBLY

- HIGH-LOW TRANSFER SHIFT ACTUATOR


  • HIGH-LOW TRANSFER SHIFT MOTOR

  • HIGH-LOW TRANSFER LIMIT SWITCH

- CENTER DIFFERENTIAL LOCK ACTUATOR


  • CENTER DIFFERENTIAL LOCK SHIFT MOTOR

  • CENTER DIFFERENTIAL LOCK LIMIT SWITCH

  • CENTER DIFFERENTIAL LOCK DETECTION SWITCH

*4

COMBINATION METER ASSEMBLY

- 4LO INDICATOR LIGHT

- CENTER DIFFERENTIAL LOCK INDICATOR LIGHT

- BUZZER

*5

DRIVER SIDE JUNCTION BLOCK ASSEMBLY

- 4WD FUSE

- 4WD-B FUSE

*6 TCM
*7 ECM *8 DLC3

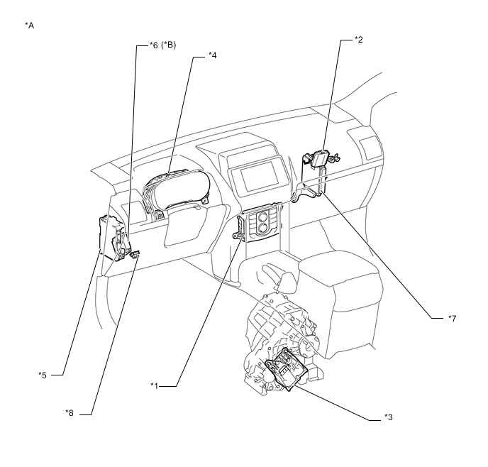
ILLUSTRATION

B001HFIC01
*A for RHD (w/ Combination Switch) *B for 1KD-FTV (Automatic Transmission)
*1

COMBINATION SWITCH ASSEMBLY

- TRANSFER POSITION SWITCH

- CENTER DIFFERENTIAL LOCK SWITCH

*2 4 WHEEL DRIVE CONTROL ECU
*3

TRANSFER SHIFT ACTUATOR ASSEMBLY

- HIGH-LOW TRANSFER SHIFT ACTUATOR


  • HIGH-LOW TRANSFER SHIFT MOTOR

  • HIGH-LOW TRANSFER LIMIT SWITCH

- CENTER DIFFERENTIAL LOCK ACTUATOR


  • CENTER DIFFERENTIAL LOCK SHIFT MOTOR

  • CENTER DIFFERENTIAL LOCK LIMIT SWITCH

  • CENTER DIFFERENTIAL LOCK DETECTION SWITCH

*4

COMBINATION METER ASSEMBLY

- 4LO INDICATOR LIGHT

- CENTER DIFFERENTIAL LOCK INDICATOR LIGHT

- BUZZER

*5

DRIVER SIDE JUNCTION BLOCK ASSEMBLY

- 4WD FUSE

- 4WD-B FUSE

*6 TCM
*7 ECM *8 DLC3

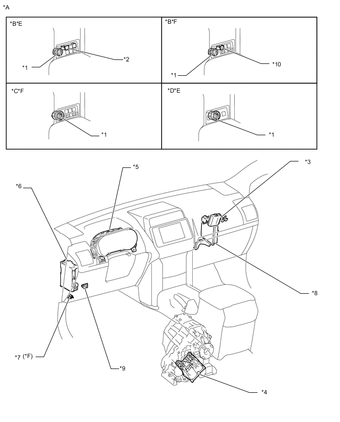
ILLUSTRATION

B001DVYC01
*A for LHD (w/o Combination Switch) *B for 1GR-FE, 1KD-FTV, 1GD-FTV
*C for 5L-E, 2TR-FE *D for 2TR-FE
*E for Automatic Transmission *F for Manual Transmission
*1 TRANSFER POSITION SWITCH *2

NO. 2 COMBINATION SWITCH ASSEMBLY

- CENTER DIFFERENTIAL LOCK SWITCH

*3 4 WHEEL DRIVE CONTROL ECU *4

TRANSFER SHIFT ACTUATOR ASSEMBLY

- HIGH-LOW TRANSFER SHIFT ACTUATOR


  • HIGH-LOW TRANSFER SHIFT MOTOR

  • HIGH-LOW TRANSFER LIMIT SWITCH

- CENTER DIFFERENTIAL LOCK ACTUATOR


  • CENTER DIFFERENTIAL LOCK SHIFT MOTOR

  • CENTER DIFFERENTIAL LOCK LIMIT SWITCH

  • CENTER DIFFERENTIAL LOCK DETECTION SWITCH

*5

COMBINATION METER ASSEMBLY

- 4LO INDICATOR LIGHT

- CENTER DIFFERENTIAL LOCK INDICATOR LIGHT

- BUZZER

*6

DRIVER SIDE JUNCTION BLOCK ASSEMBLY

- 4WD FUSE

- 4WD-B FUSE (except 5L-E)

*7 CLUTCH START SWITCH ASSEMBLY *8 ECM
*9 DLC3 *10 CENTER DIFFERENTIAL LOCK SWITCH

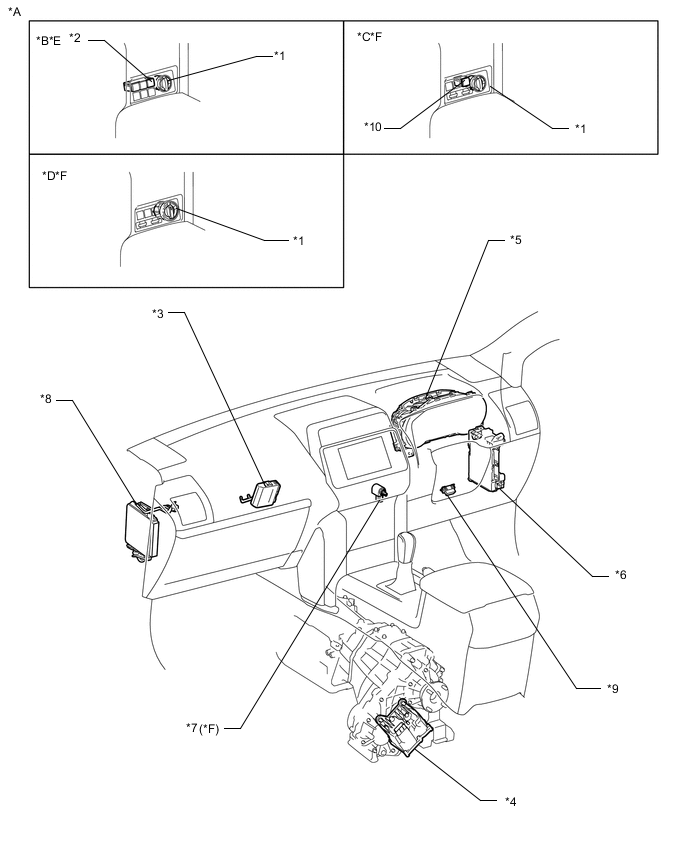
ILLUSTRATION

B001G83C01
*A for RHD (w/o Combination Switch) *B for 1GR-FE, 1KD-FTV, 1GD-FTV
*C for 1KD-FTV, 1GD-FTV *D for 5L-E
*E for Automatic Transmission *F for Manual Transmission
*1 TRANSFER POSITION SWITCH *2

NO. 2 COMBINATION SWITCH ASSEMBLY

- CENTER DIFFERENTIAL LOCK SWITCH

*3 4 WHEEL DRIVE CONTROL ECU *4

TRANSFER SHIFT ACTUATOR ASSEMBLY

- HIGH-LOW TRANSFER SHIFT ACTUATOR


  • HIGH-LOW TRANSFER SHIFT MOTOR

  • HIGH-LOW TRANSFER LIMIT SWITCH

- CENTER DIFFERENTIAL LOCK ACTUATOR


  • CENTER DIFFERENTIAL LOCK SHIFT MOTOR

  • CENTER DIFFERENTIAL LOCK LIMIT SWITCH

  • CENTER DIFFERENTIAL LOCK DETECTION SWITCH

*5

COMBINATION METER ASSEMBLY

- 4LO INDICATOR LIGHT

- CENTER DIFFERENTIAL LOCK INDICATOR LIGHT

- BUZZER

*6

DRIVER SIDE JUNCTION BLOCK ASSEMBLY

- 4WD FUSE

- 4WD-B FUSE (except 5L-E)

*7 CLUTCH START SWITCH ASSEMBLY *8 ECM
*9 DLC3 *10 CENTER DIFFERENTIAL LOCK SWITCH