DESCRIPTION
The MIL (Malfunction Indicator Lamp) is used to indicate vehicle malfunctions detected by the ECM. When the ignition switch is turned to ON, power is supplied to the MIL circuit, and the ECM provides the circuit ground which illuminates the MIL.
The MIL operation can be checked visually. When the ignition switch is first turned to ON, the MIL should be illuminated and should then turn off when the engine is started. If the MIL remains illuminated or is not illuminated, conduct the following troubleshooting procedure using the intelligent tester.
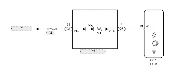
WIRING DIAGRAM
| *1 | from IG2 Relay |
| *2 | GAUGE |
| *3 | Combination Meter |
CAUTION / NOTICE / HINT
Note
After replacing the ECM, the new ECM needs registration (See page ) and initialization Click here.
PROCEDURE
CHECK THAT MIL IS ILLUMINATED
Check the MIL illumination condition.
| Condition | Proceed to |
|---|---|
| MIL remains on | A |
| MIL does not illuminate | B |
| B |
|
CHECK THAT MIL IS ILLUMINATED Click here |
| A |
|
CHECK WHETHER MIL TURNS OFF
Connect the intelligent tester to the DLC3.
Turn the ignition switch to ON and turn the tester on.
Check if DTCs have been stored Click here. If DTCs are output, write them down.
Clear DTCs Click here.
Check that the MIL turns off.
| OK |
|---|
| MIL turns off. |
| OK |
|
REPAIR CIRCUITS INDICATED BY OUTPUT DTCS Click here |
| NG |
|
CHECK HARNESS AND CONNECTOR (CHECK FOR SHORT IN WIRE HARNESS)
Disconnect the ECM connector.
Turn the ignition switch to ON.
Check that the MIL is not illuminated.
| OK |
|---|
| MIL is not illuminated. |
Reconnect the ECM connector.
| OK |
|
REPLACE ECM Click here |
| NG |
|
CHECK HARNESS AND CONNECTOR (COMBINATION METER ASSEMBLY - ECM)
Disconnect the ECM connector.
Disconnect the combination meter assembly connector.
Measure the resistance according to the value(s) in the table below.
| Standard Resistance (Check for Open) | ||||||
|---|---|---|---|---|---|---|
|
| Standard Resistance (Check for Short) | ||||||
|---|---|---|---|---|---|---|
|
Reconnect the ECM connector.
Reconnect the combination assembly meter connector.
| OK |
|
REPLACE COMBINATION METER ASSEMBLY Click here |
| NG |
|
REPAIR OR REPLACE HARNESS OR CONNECTOR |
CHECK THAT MIL IS ILLUMINATED
Check if the MIL is illuminated when the ignition switch is turned to ON.
| OK |
|---|
| MIL is illuminated. |
| OK |
|
SYSTEM OK |
| NG |
|
CHECK THAT ENGINE STARTS
Turn the ignition switch to ON.
Start the engine.
| Result | Proceed to |
|---|---|
| Engine starts | A |
| Engine does not start* | B |
Tech Tips
*: The intelligent tester cannot communicate with the ECM.
| B |
|
GO TO VC OUTPUT CIRCUIT Click here |
| A |
|
INSPECT COMBINATION METER ASSEMBLY (MIL CIRCUIT)
Refer to the combination meter troubleshooting procedure Click here.
| Result | Proceed to |
|---|---|
| NG | A |
| OK | B |
| A |
|
REPAIR OR REPLACE HARNESS OR CONNECTOR (COMBINATION METER ASSEMBLY - ECM) |
| B |
|
REPLACE COMBINATION METER ASSEMBLY Click here |