ECD SYSTEM Turbocharger Oil Leak and White Smoke

DESCRIPTION

Description
Oil Leak Type Description Main Trouble Area

Internal oil leak

(White smoke)

Oil leak from bearing housing to compressor housing (intake side) or turbine housing (exhaust side) through seal rings.

Internal oil leak is not visible from outside of turbocharger.

If oil leak occurs from turbine side seal, large amount of white smoke will be emitted from exhaust pipe.


  • Compressor side seal ring

  • Turbine side seal ring

  • Clogging of oil drain

  • Shaft breakage

  • Shaft and bearing seizure

  • Compressor impeller damage

  • Low quality fuel

External oil leak

Oil leak from inside of turbocharger to outside of turbocharger (e.g. from FIPG seal, oil pipe flange or oil pipe union).

Includes oil leak visible from outside of turbocharger.


  • FIPG sealing part

  • Oil pipe flange

  • Oil pipe union

  • Hose connection of intake pipe

Tech Tips


  • Turbocharger oil leaks are classified into 2 types. One is an internal oil leak, and the other is an external oil leak.

  • Each part of the turbocharger is shown below.

  • When oil leaks and smoke occur, sometimes the turbocharger is mistakenly replaced, even though the turbocharger is not the cause of the problem.

  • When there are oil marks on the surface of the compressor housing, or oil in the compressor inlet or outlet, the problem may mistakenly be determined to be a turbocharger oil leak.

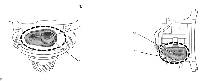
B001HDKE01
Text in Illustration
*1 Compressor Housing *2 Seal Ring
*3 Compressor Inlet *4 Compressor Impeller
*5 Bearing Housing *6 Shaft
*7 Oil Drain (Outlet) *8 FIPG Sealing Part
*9 Turbine Housing *10 Turbine Wheel
*a Internal Oil Leak to Compressor Housing *b Internal Oil Leak to Turbine Housing
B001GUYE08
Text in Illustration
*A Fig. 1 - -

Tech Tips


  • This illustration is not the turbocharger of the 1KD-FTV engine.

  • If the oil stain is similar to the one shown in the illustration (fig. 1), it may be oil spray from parts surrounding the turbocharger or oil leaking from the air cleaner hose. Therefore, this kind of oil stain on the outer surface of the turbocharger is not an oil leak from the turbocharger (external oil leak), and is not related to white smoke. For identification of an actual turbocharger outer oil leak, check only the sealing part shown below.

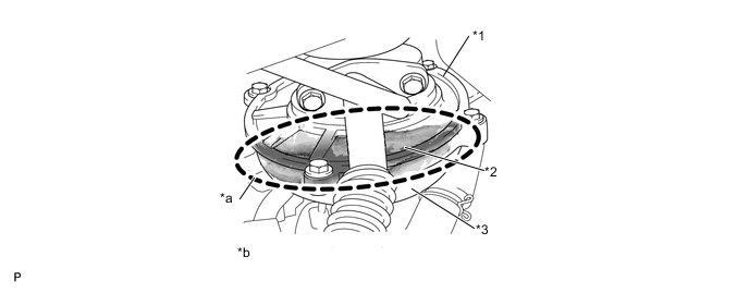
B001GJRE06
Text in Illustration
*A Fig. 2 *B Fig. 3
*a

Oil Existence at Compressor Inlet (Max. 5 cm3)

*b Oil Existence at Compressor Outlet

Tech Tips


  • This illustration is not the turbocharger of the 1KD-FTV engine.

  • A certain amount of oil is contained in the intake system because blow-by gas containing oil mist is returned to the intake system by the PCV. Therefore, the oil amount at the compressor inlet shown in the left figure (fig. 2) is normal and not an oil leak from the turbocharger (internal oil leak). Also, oil at the compressor outlet as shown in fig. 3 is normal.

B001FEAE07
Text in Illustration
*A Fig. 4 - -
*a In the case of an actual oil leak, oil leaks from the sealed part *b Oil Leak Check Point (FIPG Sealing Part)

Tech Tips


  • This illustration is not the turbocharger of the 1KD-FTV engine.

  • This is an illustration (fig. 4) of an air leak test performed by applying soapy water to the area of the leak. Bubbles indicate the leak point.


  1. Faults and Symptoms of Turbocharger Parts

    Compressor Side Seal Ring
    Main fault Seal ring breakage
    Symptoms
    • Oil leak to compressor housing

    • Excessive oil consumption

    Note
    • In case of compressor seal ring failure, large amount of oil would be found between compressor outlet and intercooler, and between intercooler and intake manifold, but not found at compressor inlet.

    • If large amount of oil is found at compressor inlet, it is not from turbocharger and may indicate a problem in the PCV system.

    Turbine Side Seal Ring
    Main fault Seal ring breakage
    Symptoms
    • Oil leak to turbine housing

    • Large amount of white smoke from exhaust pipe

    • Excessive oil consumption

    Note
    • In case of turbine seal ring failure, large amount of white smoke would be emitted continuously.

    • If white smoke is emitted only just after engine start (and it disappears later), or small amount of white smoke is emitted intermittently, it is not from turbocharger. It is due to failure of other parts.

    • If wet oil is found at turbine inlet, it is not from turbocharger. It is due to problem in other parts.

    Bearing Housing (Oil Drain Clogging)
    Main fault Oil drain clogging by coked oil
    Symptoms Large amount of white smoke from exhaust pipe

    Tech Tips


    • Oil coking is caused by insufficient oil maintenance.

    • If the oil drain is clogged by coked oil, oil cannot be drained smoothly, and it overflows from the bearing housing to the compressor housing and turbine housing. This results in a large amount of white smoke from the exhaust pipe.

    B001GSAE10
    Text in Illustration
    *1 Oil Drain - -
    *a Coked Oil *b Oil Drain Clogged with Coked Oil

    Tech Tips

    This illustration is not the turbocharger of the 1KD-FTV engine.

    Turbine Shaft
    Main fault
    • Breakage

    • Seizure

    Symptoms
    • Shaft does not rotate

    • Oil leak to compressor housing

    • Large amount of white smoke from exhaust pipe

    • Lack of power

    • Turbocharger noise changes

    Note
    • In case of turbine shaft failure, lack of power due to lack of boost pressure will be felt.

    • In cold conditions, shaft rotation can feel somewhat clingy due to viscosity of oil. Be sure not to mistake it for unsmooth shaft rotation.

    Compressor Impeller
    Main fault Breakage
    Symptoms
    • Shaft does not rotate

    • Oil leak to compressor housing

    • Lack of power

    Note
    • In case of compressor impeller failure, large amount of oil would be found between compressor outlet and intercooler, and between intercooler and intake manifold, but not found at compressor inlet.

    • Oil is blocked by boost pressure at compressor seal ring. Therefore, if boost pressure does not increase due to breakage of compressor impeller, oil flows out to compressor housing.

    Compressor Housing FIPG Sealing Part
    Symptoms Oil leak from FIPG sealing part
    Note
    • If oil stain is separated from FIPG sealing part, it can be determined to be due to oil spray from other parts surrounding turbocharger.

    • If oil stain is traced to hose connection part, it can be determined to be due to hose connection failure.

    B001GPPE07
    Text in Illustration
    *1 Compressor Back Plate *2 FIPG Sealing Part
    *3 Compressor Housing - -
    *a Oil Leak *b Oil Leak from FIPG Sealing Part

    Tech Tips

    This illustration is not the turbocharger of the 1KD-FTV engine.

    Intake Hoses
    Symptoms Oil leak from hose connection between hose and compressor housing
    Note If oil stain is traced to hose connection part, it can be determined to be due to hose connection failure.
    B001EA1E04
    Text in Illustration
    *A Fig. 5 - -
    *1 Compressor Outlet *2 Compressor Housing
    *a Trace of Oil Leak from Hose Connection Part *b Oil Leak from Hose Connection Part

    Tech Tips

    This illustration is not the turbocharger of the 1KD-FTV engine.

PROCEDURE


  1. CHECK TYPE OF OIL LEAK


    1. Check whether the oil leak is an internal or external oil leak.

      Tech Tips

      White smoke is not related to an external oil leak.

      Oil Leak Type Description

      Internal oil leak

      (White smoke)

      Oil leak from bearing housing to compressor housing (intake side) or turbine housing (exhaust side) through seal rings.

      Internal oil leak is not visible from outside of turbocharger.

      If oil leak occurs from turbine side seal, large amount of white smoke will be emitted from exhaust pipe.

      External oil leak

      Oil leak from inside of turbocharger to outside of turbocharger (e.g. from FIPG seal, oil pipe flange or oil pipe union).

      Includes oil leaks visible from outside of turbocharger.

      Result
      Result Proceed to
      External oil leak A
      Internal oil leak B

    B
    A
  2. REPLACE THE PART WHICH IS LEAKING OIL


    1. Replace the part which is leaking oil.


    NEXT
  3. CHECK WHITE SMOKE


    1. Fully depress the accelerator pedal, and then release it.

    2. B001HBJE01
      *1 Example:

      Check whether white smoke is emitted or not when racing the engine.

      CAUTION:

      Be sure not to check for white smoke indoors.

      Result
      Result Proceed to
      White smoke is emitted A
      White smoke is not emitted B

      Tech Tips


      • If white smoke appears for only a short period of time immediately after the engine is started, the white smoke is not from the turbocharger.

      • If the turbocharger is the cause of the problem, regardless of whether the engine is cold or warmed up, there will be a large amount of white smoke to the extent that visibility is obstructed for a few meters in the area of the smoke (as shown in the illustration).

      • Depending on whether there is oil mixed with the fuel, or whether there is unburned fuel present, the smell of the exhaust gas differs. When oil is mixed in, the exhaust gas smells like burning oil.


    A
    B
  4. INSPECT COMPRESSOR INLET


    1. Remove the air cleaner hose from the compressor inlet.

    2. Check whether an excessive amount of oil is present or not, and whether excessive oil deposits are attached to the compressor impeller or not.

      Tech Tips


      • A certain amount of oil may be present as shown in fig. 2 in "Description", because a certain amount of oil mist is contained in the PCV gas and this oil accumulates just before the compressor inlet.

      • If an excessive amount of oil is present at the compressor inlet, there may be a problem in the PCV system.

    3. Reinstall the air cleaner hose.


    NEXT
  5. INSPECT COMPRESSOR OUTLET


    1. Remove the air hose from the compressor outlet.

    2. Check whether or not an excessive amount of oil or excessive oil deposits are present at the compressor outlet.

      Tech Tips

      A certain amount of oil may be present as shown in fig. 3 in "Description", because a certain amount of oil mist is contained in the PCV gas.

      Result
      Result Proceed to
      Excessive amount of oil present at both compressor inlet and outlet A
      Excessive amount of oil present only at compressor outlet B
      Excessive amount of oil not present at compressor inlet or outlet C
    3. Reinstall the air hose.


    A
    B
    C
  6. INSPECT TURBINE INLET


    1. Remove the turbocharger from the engine.

    2. Check whether an excessive amount of wet oil or excessive oil deposits are present at the turbine inlet.

      Tech Tips

      Be sure not to mistake carbon soot for oil.


    NEXT
  7. INSPECT TURBINE OUTLET


    1. Check whether an excessive amount of wet oil or excessive oil deposits are present at the turbine outlet.

      Tech Tips


      • Be sure not to mistake carbon soot for oil.

      • If the turbocharger shaft is tilted, some amount of oil will flow out from the bearing housing. Therefore, be sure not to mistake oil that flowed out from the bearing housing during or after the removal of the turbocharger for oil that was present before the removal of the turbocharger.

      • If an excessive amount of oil or excessive oil deposits are present at the turbine inlet, this oil is coming from the exhaust port of the cylinders, and may indicate a problem in 1 or more cylinders.

      Result
      Result Proceed to
      Excessive amount of oil present at both turbine inlet and outlet A
      Excessive amount of oil present only at turbine outlet B

    A
    B
  8. REPLACE TURBOCHARGER SUB-ASSEMBLY


    1. Replace the turbocharger sub-assembly Click here.


    NEXT
  9. CONFIRM WHETHER MALFUNCTION HAS BEEN SUCCESSFULLY REPAIRED


    NEXT