ECD SYSTEM PARTS LOCATION

ILLUSTRATION

B001FP6E01

ILLUSTRATION

B001HILE02

ILLUSTRATION

B001FXQE03

ILLUSTRATION

B001GGKE02
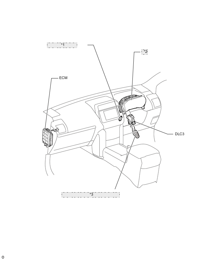
for LHD
*1 COMBINATION METER ASSEMBLY
*2 STOP LIGHT SWITCH
*3 ACCELERATOR PEDAL SENSOR ASSEMBLY

ILLUSTRATION

B001ETFE02
for RHD
*1 STOP LIGHT SWITCH
*2 COMBINATION METER ASSEMBLY
*3 ACCELERATOR PEDAL SENSOR ASSEMBLY