ILLUSTRATION
| *A | w/ Urea SCR System | *B | for 3 Door |
| *1 | CENTER EXHAUST PIPE ASSEMBLY | *2 | NITROGEN OXIDES SENSOR |
| *3 | NO. 3 SENSOR BRACKET | *4 | NO. 4 EXHAUST GAS TEMPERATURE SENSOR |
| *5 | TAILPIPE ASSEMBLY | *6 | EXHAUST PIPE SUPPORT |
| *7 | GASKET | *8 | NO. 1 SENSOR BRACKET |
|
N*m (kgf*cm, ft.*lbf): Specified torque | * | For use with SST or union nut wrench |
| ● | Non-reusable part | - | - |
ILLUSTRATION
| *A | w/ Urea SCR System | *B | for 5 Door |
| *1 | CENTER EXHAUST PIPE ASSEMBLY | *2 | NITROGEN OXIDES SENSOR |
| *3 | NO. 3 SENSOR BRACKET | *4 | NO. 4 EXHAUST GAS TEMPERATURE SENSOR |
| *5 | TAILPIPE ASSEMBLY | *6 | EXHAUST PIPE SUPPORT |
| *7 | GASKET | *8 | NO. 1 SENSOR BRACKET |
|
N*m (kgf*cm, ft.*lbf): Specified torque | * | For use with SST or union nut wrench |
| ● | Non-reusable part | - | - |
ILLUSTRATION
| *A | w/ Urea SCR System | - | - |
| *1 | FRONT EXHAUST PIPE ASSEMBLY | *2 | UREA INJECTOR SET |
| *3 | EXHAUST PIPE SUPPORT | *4 | GASKET |
| *5 | COMPRESSION SPRING | - | - |
|
N*m (kgf*cm, ft.*lbf): Specified torque | * | For use with union nut wrench |
| ● | Non-reusable part | - | - |
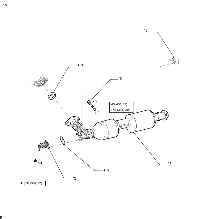
ILLUSTRATION
| *A | w/o Urea SCR System | - | - |
| *1 | CENTER EXHAUST PIPE ASSEMBLY | *2 | FRONT EXHAUST PIPE ASSEMBLY |
| *3 | TAILPIPE ASSEMBLY | *4 | EXHAUST PIPE SUPPORT |
| *5 | GASKET | *6 | COMPRESSION SPRING |
|
N*m (kgf*cm, ft.*lbf): Specified torque | ● | Non-reusable part |