POWER WINDOW REGULATOR MOTOR (for Rear Door) INSPECTION


  1. INSPECT POWER WINDOW REGULATOR MOTOR ASSEMBLY LH


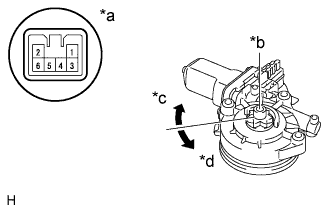
    1. A01I0ECE07
      Text in Illustration
      *a

      Component without harness connected

      (Power Window Regulator Motor Assembly LH)

      *b Motor Gear
      *c Clockwise
      *d Counterclockwise

      Apply battery voltage to the motor connector according to the table below.

      Note

      Do not apply battery voltage to any terminals except terminals 1 and 2.

      OK
      Battery Connection Specified Condition

      Battery positive (+) → Terminal 1

      Battery negative (-) → Terminal 2

      Motor gear rotates clockwise

      Battery positive (+) → Terminal 2

      Battery negative (-) → Terminal 1

      Motor gear rotates counterclockwise

      If the result is not as specified, replace the power window regulator motor assembly LH.

  2. INSPECT POWER WINDOW REGULATOR MOTOR ASSEMBLY RH


    1. A01I062E03
      Text in Illustration
      *a

      Component without harness connected

      (Power Window Regulator Motor Assembly RH)

      *b Motor Gear
      *c Counterclockwise
      *d Clockwise

      Apply battery voltage to the motor connector according to the table below.

      Note

      Do not apply battery voltage to any terminals except terminals 1 and 2.

      OK
      Battery Connection Specified Condition

      Battery positive (+) → Terminal 2

      Battery negative (-) → Terminal 1

      Motor gear rotates clockwise

      Battery positive (+) → Terminal 1

      Battery negative (-) → Terminal 2

      Motor gear rotates counterclockwise

      If the result is not as specified, replace the power window regulator motor assembly RH.