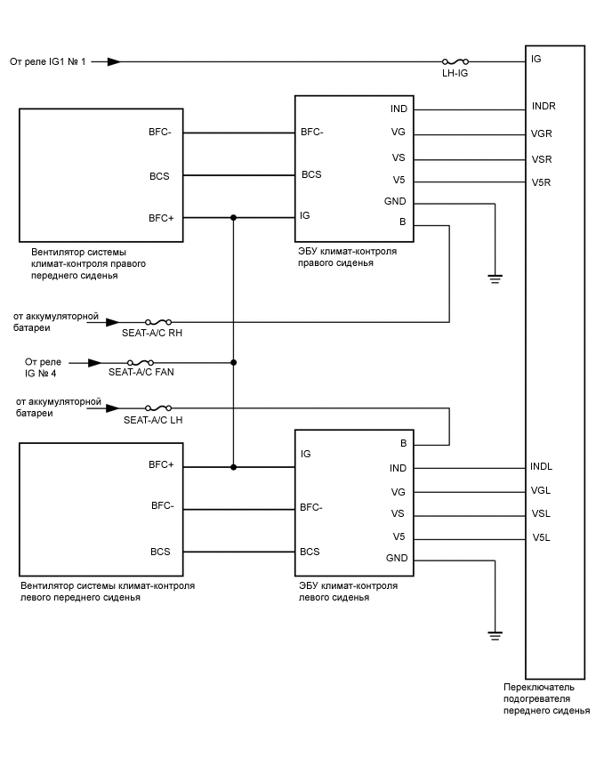
СИСТЕМА КЛИМАТ-КОНТРОЛЯ СИДЕНИЙ СХЕМА СИСТЕМЫ

A01X0P3E02