СИСТЕМА ПЕРЕДАЧИ ДАННЫХ CAN (для моделей с правосторонним рулевым управлением без ЭБУ центрального сетевого шлюза) Короткое замыкание на B+ в шине CAN

ОПИСАНИЕ

Если сопротивление между контактами 6 (CANH) и 16 (BAT) или контактами 14 (CANL) и 16 (BAT) разъема DLC3 составляет менее 6 кОм, возможно, между шиной CAN и цепью +B имеется короткое замыкание.

Неисправность Неисправный участок
Сопротивление между контактами 6 (CANH) и 16 (BAT) или контактами 14 (CANL) и 16 (BAT) разъема DLC3 составляет менее 6 кОм.
  • Короткое замыкание между шинами CAN и цепью +B

  • ECM

  • ЭБУ полного привода

  • ЭБУ рулевого управления с усилителем*1

  • Блок управления системы SRS

  • ЭБУ системы предупреждения о ненадлежащем давлении в шинах*2

  • Блок управления системой кондиционирования в сборе

  • ЭБУ центрального сетевого шлюза

  • Главный ЭБУ кузова (бортовой ЭБУ сети мультиплексной связи)

  • Электромагнитный клапан главного цилиндра (ЭБУ системы противоскольжения)

  • ЭБУ системы управления уровнем фар

  • ЭБУ сертификации (ЭБУ электронного ключа зажигания в сборе)*3

  • ЭБУ рулевого управления*4

  • Приемник мультимедийного модуля*5

  • Дополнительный разъем*6

  • Витой кабель с датчиком в сборе (датчик угла поворота рулевого колеса)

  • Щиток приборов в сборе

  • Разъем или вспомогательная шина CAN DLC3

  • Разъем распределительного блока шины CAN № 1

  • Разъем распределительного блока шины CAN № 2


СХЕМА ЭЛЕКТРИЧЕСКИХ СОЕДИНЕНИЙ

B001WJBE01
B001ZYSE01
B001XVNE01

ПРЕДОСТЕРЕЖЕНИЕ / ПРИМЕЧАНИЕ / УКАЗАНИЕ

Note


  • Перед измерением сопротивления шины CAN, выключите зажигание и оставьте автомобиль в покое на 1 минуту или более, не трогая замок зажигания, другие переключатели и не открывая/закрывая двери. После этого, отсоедините провод от отрицательного (-) вывода аккумуляторной батареи и перед измерением сопротивления оставьте автомобиль в покое на 1 минуту или более.

  • После выключения двигателя следует подождать некоторое время, прежде чем отсоединять провод от вывода аккумуляторной батареи. Поэтому, прежде чем приступать к этой работе, обязательно ознакомьтесь с примечанием относительно отсоединения провода от вывода аккумуляторной батареи (см. стр. Click here).

  • Перед выполнением следующей процедуры проверки проверьте предохранители цепей, относящихся к данной системе.

Tech Tips


  • Управление замком зажигания, любыми выключателями или связанными с дверными защелками ЭБУ и датчиками, обмен данными с которыми осуществляется посредством сети CAN, приводит к колебанию сопротивления.

  • Если DTC регистрируется при непродолжительном движении на автомобиле даже после удаления кодов DTC, неисправность может возникать вследствие вибрации автомобиля. В подобных случаях необходимо пошевелить разъемы ЭБУ или жгутов проводов во время проверки, чтобы установить причину неисправности.

ПОРЯДОК ВЫПОЛНЕНИЯ


  1. ПРОВЕРЬТЕ ШИНУ CAN НА КОРОТКОЕ ЗАМЫКАНИЕ НА B+ (ЕСМ — РАЗЪЕМ РАСПРЕДЕЛИТЕЛЬНОГО БЛОКА ШИНЫ CAN № 1)


    1. B001VT6E01
      Обозначения на рисунке
      *A для моделей с 1UR-FE, 1GR-FE
      *B для моделей с 1VD-FTV
      *a

      Вид спереди разъема со стороны жгута проводов:

      (к ECM)

      *b Вид спереди разъема DLC3

      Отсоедините провод от отрицательного (-) вывода аккумуляторной батареи.

    2. Отсоедините разъем ЭБУ.

    3. Измерьте сопротивление в соответствии со значениями, приведенными в таблице ниже.

      Номинальное сопротивление
      для моделей с 1UR-FE, 1GR-FE:
      Подключение диагностического прибора Условие Заданные условия
      A52-10 (CANH) - E22-16 (BAT) Провод отсоединен от отрицательного (-) вывода аккумуляторной батареи 6 кОм или более
      A52-11 (CANL) - E22-16 (BAT) Провод отсоединен от отрицательного (-) вывода аккумуляторной батареи 6 кОм или более
      Для моделей с 1VD-FTV:
      Подключение диагностического прибора Условие Заданные условия
      A52-41 (CANH) - E22-16 (BAT) Провод отсоединен от отрицательного (-) вывода аккумуляторной батареи 6 кОм или более
      A52-49 (CANL) - E22-16 (BAT) Провод отсоединен от отрицательного (-) вывода аккумуляторной батареи 6 кОм или более
      Результат
      Результат Перейти к
      OK (для моделей с 1UR-FE) А
      OK (для моделей с 1GR-FE) B
      OK (для моделей с 1VD-FTV) C
      NG D

    А
    B
    C
    D
  2. ПОДСОЕДИНИТЕ РАЗЪЕМ


    1. Подсоедините разъем A52 ECM.


    ДАЛЕЕ
  3. ПРОВЕРЬТЕ ШИНУ CAN НА КОРОТКОЕ ЗАМЫКАНИЕ НА В+ (ЩИТОК ПРИБОРОВ В СБОРЕ — РАСПРЕДЕЛИТЕЛЬНЫЙ БЛОК ШИНЫ CAN № 2)


    1. B001W1JE01
      Обозначения на рисунке
      *a

      Вид сзади разъема со стороны жгута проводов

      (к щитку приборов в сборе)

      *b Вид спереди разъема DLC3

      Отсоедините разъем щитка приборов.

    2. Измерьте сопротивление в соответствии со значениями, приведенными в таблице ниже.

      Номинальное сопротивление
      Подключение диагностического прибора Условие Заданные условия
      E119-39 (CANH) - E22-16 (BAT) Провод отсоединен от отрицательного (-) вывода аккумуляторной батареи 6 кОм или более
      E119-40 (CANL) - E22-16 (BAT) Провод отсоединен от отрицательного (-) вывода аккумуляторной батареи 6 кОм или более

    OK
    NG
  4. ПОДСОЕДИНИТЕ РАЗЪЕМ


    1. Подсоедините разъем E119 щитка приборов.


    ДАЛЕЕ
  5. ПРОВЕРЬТЕ ШИНУ CAN НА КОРОТКОЕ ЗАМЫКАНИЕ НА B+ (РАЗЪЕМ РАСПРЕДЕЛИТЕЛЬНОГО БЛОКА № 1)

    Tech Tips

    Если в линии связи имеется короткое замыкание на B+, когда вспомогательные устройства не подключены, отремонтируйте или замените вспомогательную шину CAN или разъем.


    1. Отсоедините разъем распределительного блока шины CAN № 1.

      B001ZDUE01
      Обозначения на рисунке
      *a

      Вид спереди разъема со стороны жгута проводов:

      (к разъему распределительного блока шины CAN № 1)

      *b Вид спереди разъема DLC3
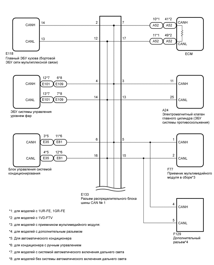
      *c к разъему № 2 распределительного блока шины CAN *d К главному ЭБУ кузова (бортовому ЭБУ сети мультиплексной связи)
      *e К электромагнитному клапану главного цилиндра (ЭБУ системы противоскольжения) *f К ЭБУ системы управления уровнем фар в сборе
      *g
      • к приемнику мультимедийного модуля (для моделей с приемником мультимедийного модуля)

      • к дополнительному разъему (для моделей с дополнительным разъемом)

      *h К блоку управления системой кондиционирования
      *i К ECM *j к ЭБУ буфера шины (для моделей с ЭБУ буфера шины)
    2. Измерьте сопротивление в соответствии со значениями, приведенными в таблице ниже.

      Номинальное сопротивление
      Подключение диагностического прибора Условие Заданные условия Куда подсоединить
      E133-1 (CANH) - E22-16 (BAT) Провод отсоединен от отрицательного (-) вывода аккумуляторной батареи 6 кОм или более Разъем распределительного блока шины CAN № 2
      E133-11 (CANL) - E22-16 (BAT) Провод отсоединен от отрицательного (-) вывода аккумуляторной батареи 6 кОм или более
      E133-2 (CANH) - E22-16 (BAT) Провод отсоединен от отрицательного (-) вывода аккумуляторной батареи 6 кОм или более Главный ЭБУ кузова (бортовой ЭБУ сети мультиплексной связи)
      E133-12 (CANL) - E22-16 (BAT) Провод отсоединен от отрицательного (-) вывода аккумуляторной батареи 6 кОм или более
      E133-3 (CANH) - E22-16 (BAT) Провод отсоединен от отрицательного (-) вывода аккумуляторной батареи 6 кОм или более Электромагнитный клапан главного цилиндра (ЭБУ системы противоскольжения)
      E133-13 (CANL) - E22-16 (BAT) Провод отсоединен от отрицательного (-) вывода аккумуляторной батареи 6 кОм или более
      E133-4 (CANH) - E22-16 (BAT) Провод отсоединен от отрицательного (-) вывода аккумуляторной батареи 6 кОм или более ЭБУ системы управления уровнем фар
      E133-14 (CANL) - E22-16 (BAT) Провод отсоединен от отрицательного (-) вывода аккумуляторной батареи 6 кОм или более
      E133-5 (CANH) - E22-16 (BAT) Провод отсоединен от отрицательного (-) вывода аккумуляторной батареи 6 кОм или более
      • Приемник мультимедийного модуля*1

      • Дополнительный разъем*2

      E133-15 (CANL) - E22-16 (BAT) Провод отсоединен от отрицательного (-) вывода аккумуляторной батареи 6 кОм или более
      E133-6 (CANH) - E22-16 (BAT) Провод отсоединен от отрицательного (-) вывода аккумуляторной батареи 6 кОм или более Блок управления системой кондиционирования в сборе
      E133-16 (CANL) - E22-16 (BAT) Провод отсоединен от отрицательного (-) вывода аккумуляторной батареи 6 кОм или более
      E133-7 (CANH) - E22-16 (BAT) Провод отсоединен от отрицательного (-) вывода аккумуляторной батареи 6 кОм или более ECM
      E133-17 (CANL) - E22-16 (BAT) Провод отсоединен от отрицательного (-) вывода аккумуляторной батареи 6 кОм или более
      E133-10 (CANH) - E22-16 (BAT) Провод отсоединен от отрицательного (-) вывода аккумуляторной батареи 6 кОм или более ЭБУ буфера шины*3
      E133-20 (CANL) - E22-16 (BAT) Провод отсоединен от отрицательного (-) вывода аккумуляторной батареи 6 кОм или более

      • *1: для моделей с приемником мультимедийного модуля

      • *2: для моделей с дополнительным разъемом

      • *3: для моделей с ЭБУ буфера шины

      Результат
      Результат Следующий шаг
      OK А
      NG (главная шина CAN ECM) B
      NG (главная шина CAN распределительного блока шины CAN № 2) C
      NG (вспомогательные шины CAN ЭБУ или датчика) D

    А
    B
    D
    C
  6. ПОДСОЕДИНИТЕ РАЗЪЕМ


    1. Подсоедините разъем E133 распределительного блока шины CAN № 1.


    ДАЛЕЕ
  7. ПРОВЕРЬТЕ ШИНУ CAN НА КОРОТКОЕ ЗАМЫКАНИЕ НА B+ (РАЗЪЕМ РАСПРЕДЕЛИТЕЛЬНОГО БЛОКА № 2)


    1. Отсоедините разъем распределительного блока шины CAN № 2.

      B001ZS6E01
      Обозначения на рисунке
      *a

      Вид спереди разъема со стороны жгута проводов:

      (к разъему распределительного блока шины CAN № 2)

      *b Вид спереди разъема DLC3
      *c к разъему № 1 распределительного блока шины CAN *d к ЭБУ полного привода
      *e к ЭБУ рулевого управления с усилителем (для моделей с электромагнитным клапаном регулирования расхода) *f к центральному блоку управления системы SRS
      *g к ЭБУ системы предупреждения о ненадлежащем давлении в шинах (для моделей с системой предупреждения о ненадлежащем давлении в шинах) *h к витому кабелю с датчиком в сборе (датчику угла поворота рулевого колеса)
      *i К щитку приборов в сборе *j к ЭБУ сертификации (ЭБУ электронного ключа зажигания в сборе) (для моделей с системой посадки и запуска)
      *k К ЭБУ рулевого управления (для моделей с VGRS) *l К DLC3
    2. Измерьте сопротивление в соответствии со значениями, приведенными в таблице ниже.

      Номинальное сопротивление
      Подключение диагностического прибора Условие Заданные условия Куда подсоединить
      E135-1 (CANH) - E22-16 (BAT) Провод отсоединен от отрицательного (-) вывода аккумуляторной батареи 6 кОм или более Разъем распределительного блока шины CAN № 1
      E135-11 (CANL) - E22-16 (BAT) Провод отсоединен от отрицательного (-) вывода аккумуляторной батареи 6 кОм или более
      E135-2 (CANH) - E22-16 (BAT) Провод отсоединен от отрицательного (-) вывода аккумуляторной батареи 6 кОм или более ЭБУ полного привода
      E135-12 (CANL) - E22-16 (BAT) Провод отсоединен от отрицательного (-) вывода аккумуляторной батареи 6 кОм или более
      E135-3 (CANH) - E22-16 (BAT) Провод отсоединен от отрицательного (-) вывода аккумуляторной батареи 6 кОм или более ЭБУ рулевого управления с усилителем*1
      E135-13 (CANL) - E22-16 (BAT) Провод отсоединен от отрицательного (-) вывода аккумуляторной батареи 6 кОм или более
      E135-4 (CANH) - E22-16 (BAT) Провод отсоединен от отрицательного (-) вывода аккумуляторной батареи 6 кОм или более Блок управления системы SRS
      E135-14 (CANL) - E22-16 (BAT) Провод отсоединен от отрицательного (-) вывода аккумуляторной батареи 6 кОм или более
      E135-5 (CANH) - E22-16 (BAT) Провод отсоединен от отрицательного (-) вывода аккумуляторной батареи 6 кОм или более ЭБУ системы предупреждения о ненадлежащем давлении в шинах*2
      E135-15 (CANL) - E22-16 (BAT) Провод отсоединен от отрицательного (-) вывода аккумуляторной батареи 6 кОм или более
      E135-6 (CANH) - E22-16 (BAT) Провод отсоединен от отрицательного (-) вывода аккумуляторной батареи 6 кОм или более Витой кабель с датчиком в сборе (датчик угла поворота рулевого колеса)
      E135-16 (CANL) - E22-16 (BAT) Провод отсоединен от отрицательного (-) вывода аккумуляторной батареи 6 кОм или более
      E135-7 (CANH) - E22-16 (BAT) Провод отсоединен от отрицательного (-) вывода аккумуляторной батареи 6 кОм или более Щиток приборов в сборе
      E135-17 (CANL) - E22-16 (BAT) Провод отсоединен от отрицательного (-) вывода аккумуляторной батареи 6 кОм или более
      E135-8 (CANH) - E22-16 (BAT) Провод отсоединен от отрицательного (-) вывода аккумуляторной батареи 6 кОм или более ЭБУ сертификации (ЭБУ электронного ключа зажигания в сборе)*3
      E135-18 (CANL) - E22-16 (BAT) Провод отсоединен от отрицательного (-) вывода аккумуляторной батареи 6 кОм или более
      E135-9 (CANH) - E22-16 (BAT) Провод отсоединен от отрицательного (-) вывода аккумуляторной батареи 6 кОм или более ЭБУ рулевого управления*4
      E135-19 (CANL) - E22-16 (BAT) Провод отсоединен от отрицательного (-) вывода аккумуляторной батареи 6 кОм или более
      E135-10 (CANH) - E22-16 (BAT) Провод отсоединен от отрицательного (-) вывода аккумуляторной батареи 6 кОм или более DLC3
      E135-20 (CANL) - E22-16 (BAT) Провод отсоединен от отрицательного (-) вывода аккумуляторной батареи 6 кОм или более

      • *1: для моделей с электромагнитным клапаном регулирования расхода

      • *2: Для моделей с системой предупреждения о ненадлежащем давлении в шинах

      • *3: для моделей с системой посадки и запуска

      • *4: для моделей с рулевым управлением с переменным передаточным числом

      Результат
      Результат Следующий шаг
      OK А
      NG (главная шина CAN щитка приборов) B
      NG (главная шина CAN распределительного блока шины CAN № 1) C
      NG (вспомогательные шины CAN DLC3) D
      NG (вспомогательные шины CAN ЭБУ или датчика) E

    А
    B
    C
    D
    E
  8. ПРОВЕРЬТЕ ШИНУ CAN НА КОРОТКОЕ ЗАМЫКАНИЕ НА B+ (ЭБУ, ДАТЧИК)


    1. B001Z89E02
      Обозначения на рисунке
      *a Вид спереди разъема DLC3

      Подсоедините разъем распределительного блока шины CAN.

    2. Отсоедините разъем, содержащий контакты CANH и CANL, от ЭБУ или датчика, к которому подсоединена шина, коротко замкнутая на +B.

    3. Измерьте сопротивление в соответствии со значениями, приведенными в таблице ниже.

      Номинальное сопротивление
      Подключение диагностического прибора Условие Заданные условия
      E22-6 (CANH) - E22-16 (BAT) Провод отсоединен от отрицательного (-) вывода аккумуляторной батареи 6 кОм или более
      E22-14 (CANL) - E22-16 (BAT) Провод отсоединен от отрицательного (-) вывода аккумуляторной батареи 6 кОм или более

      Tech Tips

      Если при отсоединении разъема от ЭБУ (или датчика) сопротивление составило не менее 6 кОм, возможно короткое замыкание в ЭБУ или датчике.


    OK
    NG