СИСТЕМА ПЕРЕДАЧИ ДАННЫХ CAN (для моделей с правосторонним рулевым управлением с ЭБУ центрального сетевого шлюза) Режим прекращения обмена данными с ЭБУ системы помощи при парковке

ОПИСАНИЕ

Неисправность Признак Неисправный участок
Режим прекращения обмена данными с ЭБУ системы помощи при парковке

Выполняется любое из следующих условий:


  • На экране "Communication Bus Check" (проверка шины передачи данных) GTS для параметра "Panoramic View Monitor" отображается прекращение обмена данными (см. стр. Click here)

  • Выводимые коды DTC системы передачи данных (начинающиеся на U) соответствуют "Режиму прекращения обмена данными с ЭБУ системы помощи при парковке" в "Таблице комбинаций кодов DTC" (см. стр. Click here)


  • Вспомогательная шина CAN или разъем ЭБУ системы помощи при парковке

  • Цепь питания ЭБУ системы помощи при парковке

  • Цепь массы ЭБУ системы помощи при парковке

  • ЭБУ системы помощи при парковке

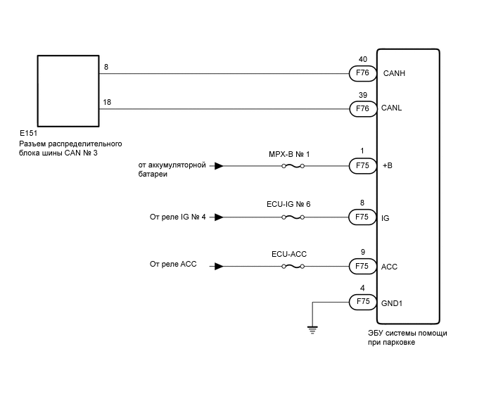
СХЕМА ЭЛЕКТРИЧЕСКИХ СОЕДИНЕНИЙ

B001XMCE09

ПРЕДОСТЕРЕЖЕНИЕ / ПРИМЕЧАНИЕ / УКАЗАНИЕ

Note


  • По причине того, что порядок диагностики важен для обеспечения правильной диагностики, начните с процедур поиска неисправностей в случае появления кодов DTC, относящихся к системе передачи данных CAN (см. стр. Click here).

  • Перед измерением сопротивления шины CAN, выключите зажигание и оставьте автомобиль в покое на 1 минуту или более, не трогая замок зажигания, другие переключатели и не открывая/закрывая двери. После этого, отсоедините провод от отрицательного (-) вывода аккумуляторной батареи и перед измерением сопротивления оставьте автомобиль в покое на 1 минуту или более.

  • После выключения двигателя следует подождать некоторое время, прежде чем отсоединять провод от вывода аккумуляторной батареи. Поэтому, прежде чем приступать к этой работе, обязательно ознакомьтесь с примечанием относительно отсоединения провода от вывода аккумуляторной батареи (см. стр. Click here).

  • Перед выполнением следующей процедуры проверки проверьте предохранители цепей, относящихся к данной системе.

  • После ремонта выполните процедуру проверки кодов DTC и убедитесь, что коды DTC не выводятся снова.

  • После ремонта выполните проверку шины CAN и убедитесь, что отображаются все ЭБУ и датчики, подсоединенные к системе передачи данных CAN (См. стр. Click here).

Tech Tips


  • Управление замком зажигания, любыми выключателями или связанными с дверными защелками ЭБУ и датчиками, обмен данными с которыми осуществляется посредством сети CAN, приводит к колебанию сопротивления.

  • Если DTC регистрируется при непродолжительном движении на автомобиле даже после удаления кодов DTC, неисправность может возникать вследствие вибрации автомобиля. В подобных случаях необходимо пошевелить разъемы ЭБУ или жгутов проводов во время проверки, чтобы установить причину неисправности.

ПОРЯДОК ВЫПОЛНЕНИЯ


  1. ПРОВЕРЬТЕ ШИНУ CAN НА ОБРЫВ (ВСПОМОГАТЕЛЬНАЯ ШИНА CAN ЭБУ СИСТЕМЫ ПОМОЩИ ПРИ ПАРКОВКЕ)


    1. B001Z6AE01
      Обозначения на рисунке
      *a

      Вид сзади разъема со стороны жгута проводов

      (к ЭБУ системы помощи при парковке)

      Отсоедините провод от отрицательного (-) вывода аккумуляторной батареи.

    2. Отсоедините разъемы ЭБУ системы помощи при парковке.

    3. Измерьте сопротивление в соответствии со значениями, приведенными в таблице ниже.

      Номинальное сопротивление
      Подключение диагностического прибора Условие Заданные условия
      F76-40 (CANH) - F76-39 (CANL) Провод отсоединен от отрицательного (-) вывода аккумуляторной батареи 54 - 69 Ом

    NG
    OK
  2. ПРОВЕРЬТЕ ЖГУТ ПРОВОДОВ И РАЗЪЕМ (ЭБУ СИСТЕМЫ ПОМОЩИ ПРИ ПАРКОВКЕ - АККУМУЛЯТОРНАЯ БАТАРЕЯ И МАССА)


    1. B001W6GE01
      Обозначения на рисунке
      *a

      Вид сзади разъема со стороны жгута проводов

      (к ЭБУ системы помощи при парковке)

      Подсоедините провод к отрицательному (-) выводу аккумуляторной батареи.

      Note

      После подсоединения провода необходимо инициализировать некоторые системы (см. стр. Click here).

    2. Отсоедините разъемы ЭБУ системы помощи при парковке.

    3. Измерьте напряжение в соответствии со значениями, приведенными в таблице.

      Номинальное напряжение
      Подключение диагностического прибора Условие Заданные условия
      F75-1 (+B) - масса Всегда 11-14 В
      F75-8 (IG) - масса Зажигание включено 11-14 В
      F75-9 (ACC) - масса Замок зажигания в положении ACC 11-14 В
    4. Измерьте сопротивление в соответствии со значениями, приведенными в таблице ниже.

      Номинальное сопротивление
      Подключение диагностического прибора Условие Заданные условия
      F75-4 (GND1) - масса Всегда Менее 1 Ом

    OK
    NG