СИСТЕМА ПЕРЕДАЧИ ДАННЫХ CAN (для моделей с левосторонним рулевым управлением с ЭБУ центрального сетевого шлюза) Проверьте линию шины 3 на короткое замыкание на GND

ОПИСАНИЕ

Между одним из проводов шины CAN и GND может быть короткое замыкание, если между контактом 6 (CA3H) ЭБУ центрального сетевого шлюза и контактом 4 (CG) разъема DLC3 или контактом 21 (CA3L) ЭБУ центрального сетевого шлюза и контактом 4 (CG) разъема DLC3 сопротивление отсутствует.

Неисправность Неисправный участок
Отсутствует сопротивление между контактом 6 (CA3H) ЭБУ центрального сетевого шлюза и контактом 4 (CG) DLC3, или контактом 21 (CA3L) ЭБУ центрального сетевого шлюза и контактом 4 (CG) DLC3.
  • Короткое замыкание на массу в линиях главной шины CAN 3

  • Короткое замыкание на массу в линиях вспомогательной шины CAN 3

  • ЭБУ центрального сетевого шлюза

  • Приемник мультимедийной системы в сборе*1

  • ЭБУ буфера шины*2

  • Радиоприемник с дисплеем в сборе*3

  • Разъем распределительного блока шины CAN № 5

  • Разъем распределительного блока шины CAN № 6

  • Контакт распределительного блока шины CAN № 2


СХЕМА ЭЛЕКТРИЧЕСКИХ СОЕДИНЕНИЙ

A01XANPE02

ПРЕДОСТЕРЕЖЕНИЕ / ПРИМЕЧАНИЕ / УКАЗАНИЕ

Note


  • По причине того, что порядок диагностики важен для обеспечения правильной диагностики, начните с процедур поиска неисправностей в случае появления кодов DTC, относящихся к системе передачи данных CAN (см. стр. Click here).

  • Перед измерением сопротивления шины CAN, выключите зажигание и оставьте автомобиль в покое на 1 минуту или более, не трогая замок зажигания, другие переключатели и не открывая/закрывая двери. После этого, отсоедините провод от отрицательного (-) вывода аккумуляторной батареи и перед измерением сопротивления оставьте автомобиль в покое на 1 минуту или более.

  • После выключения двигателя следует подождать некоторое время, прежде чем отсоединять провод от вывода аккумуляторной батареи. Поэтому, прежде чем приступать к этой работе, обязательно ознакомьтесь с примечанием относительно отсоединения провода от вывода аккумуляторной батареи (см. стр. Click here).

  • После ремонта выполните проверку шины CAN и убедитесь, что отображаются все ЭБУ и датчики, подсоединенные к системе передачи данных CAN (См. стр. Click here).

Tech Tips


  • Управление замком зажигания, любыми выключателями или связанными с дверными защелками ЭБУ и датчиками, обмен данными с которыми осуществляется посредством сети CAN, приводит к колебанию сопротивления.

  • Если DTC регистрируется при непродолжительном движении на автомобиле даже после удаления кодов DTC, неисправность может возникать вследствие вибрации автомобиля. В подобных случаях необходимо пошевелить разъемы ЭБУ или жгутов проводов во время проверки, чтобы установить причину неисправности.

ПОРЯДОК ВЫПОЛНЕНИЯ


  1. ПРОВЕРЬТЕ ШИНУ CAN НА КОРОТКОЕ ЗАМЫКАНИЕ НА GND (ЭБУ ЦЕНТРАЛЬНОГО СЕТЕВОГО ШЛЮЗА — РАЗЪЕМ РАСПРЕДЕЛИТЕЛЬНОГО БЛОКА ШИНЫ CAN № 5)


    1. A01X3R5E02
      Обозначения на рисунке
      *a

      Вид спереди разъема со стороны жгута проводов:

      (к центральному ЭБУ сетевого шлюза)

      *b Вид спереди разъема DLC3

      Отсоедините провод от отрицательного (-) вывода аккумуляторной батареи.

    2. Отсоедините разъем ЭБУ центрального сетевого шлюза.

    3. Измерьте сопротивление в соответствии со значениями, приведенными в таблице ниже.

      Номинальное сопротивление
      Подключение диагностического прибора Условие Заданные условия
      E145-6 (CA3H) - E22-4 (CG) Провод отсоединен от отрицательного (-) вывода аккумуляторной батареи 200 Ом или более
      E145-21 (CA3L) - E22-4 (CG) Провод отсоединен от отрицательного (-) вывода аккумуляторной батареи 200 Ом или более

    OK
    NG
  2. ПОДСОЕДИНИТЕ РАЗЪЕМ


    1. Подсоедините разъем E145 ЭБУ центрального сетевого шлюза.


    ДАЛЕЕ
  3. ПРОВЕРЬТЕ ШИНУ CAN НА КОРОТКОЕ ЗАМЫКАНИЕ НА GND (РАСПРЕДЕЛИТЕЛЬНЫЙ ТЕРМИНАЛ ШИНЫ CAN № 2 — РАСПРЕДЕЛИТЕЛЬНЫЙ БЛОК CAN № 6)


    1. A01X0I5E02
      Обозначения на рисунке
      *a

      Вид сзади разъема со стороны жгута проводов

      (к контакту распределительного блока шины CAN № 2)

      *b Вид спереди разъема DLC3

      Отсоедините разъем распределительного терминала шины CAN № 2.

    2. Измерьте сопротивление в соответствии со значениями, приведенными в таблице ниже.

      Номинальное сопротивление
      Подключение диагностического прибора Условие Заданные условия
      F98-3 (CANH) - E22-4 (CG) Провод отсоединен от отрицательного (-) вывода аккумуляторной батареи 200 Ом или более
      F98-2 (CANL) - E22-4 (CG) Провод отсоединен от отрицательного (-) вывода аккумуляторной батареи 200 Ом или более

    OK
    NG
  4. ПОДСОЕДИНИТЕ РАЗЪЕМ


    1. Подсоедините разъем F98 распределительного блока шины CAN № 2.


    ДАЛЕЕ
  5. ПРОВЕРЬТЕ ШИНУ CAN НА КОРОТКОЕ ЗАМЫКАНИЕ НА GND (РАСПРЕДЕЛИТЕЛЬНЫЙ БЛОК № 5)


    1. Отсоедините разъем распределительного блока шины CAN № 5.

      A01X80RE01
      Обозначения на рисунке
      *a

      Вид сзади разъема со стороны жгута проводов

      (к разъему распределительного блока шины CAN № 5)

      *b Вид спереди разъема DLC3
      *c к ЭБУ центрального сетевого шлюза *d к ЭБУ буфера шины (для моделей с ЭБУ буфера шины)
      *e
      • к приемнику мультимедийного модуля (для моделей с приемником мультимедийного модуля)

      • К радиоприемнику с дисплеем в сборе (для моделей с радиоприемником с дисплеем)

      *f к разъему № 6 распределительного блока шины CAN
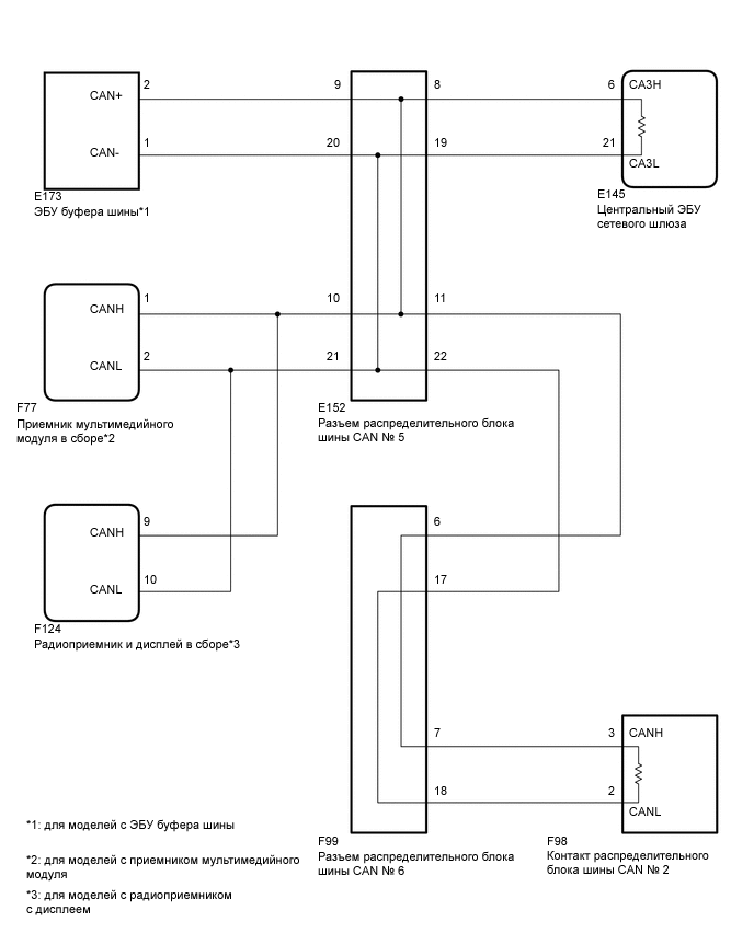
    2. Измерьте сопротивление в соответствии со значениями, приведенными в таблице ниже.

      Номинальное сопротивление
      Подключение диагностического прибора Условие Заданные условия Куда подсоединить
      E152-8 (CANH) - E22-4 (CG) Провод отсоединен от отрицательного (-) вывода аккумуляторной батареи 200 Ом или более ЭБУ центрального сетевого шлюза
      E152-19 (CANL) - E22-4 (CG) Провод отсоединен от отрицательного (-) вывода аккумуляторной батареи 200 Ом или более
      E152-9 (CANH) - E22-4 (CG) Провод отсоединен от отрицательного (-) вывода аккумуляторной батареи 200 Ом или более ЭБУ буфера шины*1
      E152-20 (CANL) - E22-4 (CG) Провод отсоединен от отрицательного (-) вывода аккумуляторной батареи 200 Ом или более
      E152-10 (CANH) - E22-4 (CG) Провод отсоединен от отрицательного (-) вывода аккумуляторной батареи 200 Ом или более
      • Приемник мультимедийного модуля*2

      • Радиоприемник с дисплеем в сборе*3

      E152-21 (CANL) - E22-4 (CG) Провод отсоединен от отрицательного (-) вывода аккумуляторной батареи 200 Ом или более
      E152-11 (CANH) - E22-4 (CG) Провод отсоединен от отрицательного (-) вывода аккумуляторной батареи 200 Ом или более Разъем распределительного блока шины CAN № 6
      E152-22 (CANL) - E22-4 (CG) Провод отсоединен от отрицательного (-) вывода аккумуляторной батареи 200 Ом или более

      • *1: для моделей с ЭБУ буфера шины

      • *2: для моделей с приемником мультимедийного модуля

      • *3: для моделей с радиоприемником с дисплеем

      Результат
      Результат Следующий шаг
      OK А
      NG (главная шина CAN ЭБУ центрального сетевого шлюза) B
      NG (главная шина CAN распределительного блока шины CAN № 6) C
      NG (вспомогательные шины CAN ЭБУ или датчика) D

    А
    B
    D
    C
  6. ПОДСОЕДИНИТЕ РАЗЪЕМ


    1. Подсоедините разъем E152 распределительного блока шины CAN № 5.


    ДАЛЕЕ
  7. ПРОВЕРЬТЕ ШИНУ CAN НА КОРОТКОЕ ЗАМЫКАНИЕ НА GND (РАСПРЕДЕЛИТЕЛЬНЫЙ БЛОК № 6)


    1. Отсоедините разъем распределительного блока шины CAN № 6.

      A01WZ5TE01
      Обозначения на рисунке
      *a

      Вид сзади разъема со стороны жгута проводов

      (к разъему распределительного блока шины CAN № 6)

      *b Вид спереди разъема DLC3
      *c к разъему № 5 распределительного блока шины CAN *d к контакту распределительного блока шины CAN № 2
    2. Измерьте сопротивление в соответствии со значениями, приведенными в таблице ниже.

      Номинальное сопротивление
      Подключение диагностического прибора Условие Заданные условия Куда подсоединить
      F99-6 (CANH) - E22-4 (CG) Провод отсоединен от отрицательного (-) вывода аккумуляторной батареи 200 Ом или более Разъем распределительного блока шины CAN № 5
      F99-17 (CANL) - E22-4 (CG) Провод отсоединен от отрицательного (-) вывода аккумуляторной батареи 200 Ом или более
      F99-7 (CANH) - E22-4 (CG) Провод отсоединен от отрицательного (-) вывода аккумуляторной батареи 200 Ом или более Контакт распределительного блока шины CAN № 2
      F99-18 (CANL) - E22-4 (CG) Провод отсоединен от отрицательного (-) вывода аккумуляторной батареи 200 Ом или более
      Результат
      Результат Следующий шаг
      OK А
      NG (главная шина CAN распределительного блока шины CAN № 5) B
      NG (главная шина CAN распределительного терминала шины CAN № 2) C

    А
    B
    C
  8. ПРОВЕРЬТЕ ШИНУ CAN НА КОРОТКОЕ ЗАМЫКАНИЕ НА GND (ЭБУ, ДАТЧИК)


    1. A01X1XDE02
      Обозначения на рисунке
      *a

      Устройство с подсоединенным жгутом проводов

      (ЭБУ центрального сетевого шлюза)

      *b Вид спереди разъема DLC3

      Подсоедините разъем распределительного блока шины CAN.

    2. Отсоедините разъем, содержащий контакты CANH и CANL, от ЭБУ или датчика, к которому подсоединена шина, коротко замкнутая на массу.

    3. Измерьте сопротивление в соответствии со значениями, приведенными в таблице ниже.

      Номинальное сопротивление
      Подключение диагностического прибора Условие Заданные условия
      E145-6 (CA3H) - E22-4 (CG) Провод отсоединен от отрицательного (-) вывода аккумуляторной батареи 200 Ом или более
      E145-21 (CA3L) - E22-4 (CG) Провод отсоединен от отрицательного (-) вывода аккумуляторной батареи 200 Ом или более

      Tech Tips

      Если при отсоединении разъема от ЭБУ (или датчика) сопротивление составило не менее 200 Ом, то возможно короткое замыкание в ЭБУ или датчике.


    OK
    NG