СИСТЕМА ПЕРЕДАЧИ ДАННЫХ CAN (для моделей с правосторонним рулевым управлением с ЭБУ центрального сетевого шлюза) Проверьте линию шины 2 на короткое замыкание на GND

ОПИСАНИЕ

Между одним из проводов шины CAN и GND может быть короткое замыкание, если между контактом 18 (CA4H) ЭБУ центрального сетевого шлюза и контактом 4 (CG) разъема DLC3 или контактом 17 (CA4L) ЭБУ центрального сетевого шлюза и контактом 4 (CG) разъема DLC3 сопротивление отсутствует.

Неисправность Неисправный участок
Отсутствует сопротивление между контактом 18 (CA4H) ЭБУ центрального сетевого шлюза и контактом 4 (CG) DLC3, или контактом 17 (CA4L) ЭБУ центрального сетевого шлюза и контактом 4 (CG) DLC3.
  • Короткое замыкание на массу в линиях главной шины CAN 2

  • Короткое замыкание на массу в линиях вспомогательной шины CAN 2

  • ECM

  • ЭБУ полного привода

  • ЭБУ рулевого управления с усилителем*1

  • Блок управления системы SRS

  • ЭБУ системы предупреждения о ненадлежащем давлении в шинах*2

  • Блок управления системой кондиционирования в сборе

  • ЭБУ центрального сетевого шлюза

  • Главный ЭБУ кузова (бортовой ЭБУ сети мультиплексной связи)

  • Электромагнитный клапан главного цилиндра (ЭБУ системы противоскольжения)

  • ЭБУ системы управления уровнем фар

  • ЭБУ сертификации (ЭБУ электронного ключа зажигания в сборе)*3

  • ЭБУ рулевого управления*4

  • Витой кабель с датчиком в сборе (датчик угла поворота рулевого колеса)

  • Щиток приборов в сборе

  • Разъем распределительного блока шины CAN № 1

  • Разъем распределительного блока шины CAN № 2


СХЕМА ЭЛЕКТРИЧЕСКИХ СОЕДИНЕНИЙ

B001VXVE01
B001YL6E01
B001YUUE02

ПРЕДОСТЕРЕЖЕНИЕ / ПРИМЕЧАНИЕ / УКАЗАНИЕ

Note


  • По причине того, что порядок диагностики важен для обеспечения правильной диагностики, начните с процедур поиска неисправностей в случае появления кодов DTC, относящихся к системе передачи данных CAN (см. стр. Click here).

  • Перед измерением сопротивления шины CAN, выключите зажигание и оставьте автомобиль в покое на 1 минуту или более, не трогая замок зажигания, другие переключатели и не открывая/закрывая двери. После этого, отсоедините провод от отрицательного (-) вывода аккумуляторной батареи и перед измерением сопротивления оставьте автомобиль в покое на 1 минуту или более.

  • После выключения двигателя следует подождать некоторое время, прежде чем отсоединять провод от вывода аккумуляторной батареи. Поэтому, прежде чем приступать к этой работе, обязательно ознакомьтесь с примечанием относительно отсоединения провода от вывода аккумуляторной батареи (см. стр. Click here).

  • После ремонта выполните проверку шины CAN и убедитесь, что отображаются все ЭБУ и датчики, подсоединенные к системе передачи данных CAN (См. стр. Click here).

Tech Tips


  • Управление замком зажигания, любыми выключателями или связанными с дверными защелками ЭБУ и датчиками, обмен данными с которыми осуществляется посредством сети CAN, приводит к колебанию сопротивления.

  • Если DTC регистрируется при непродолжительном движении на автомобиле даже после удаления кодов DTC, неисправность может возникать вследствие вибрации автомобиля. В подобных случаях необходимо пошевелить разъемы ЭБУ или жгутов проводов во время проверки, чтобы установить причину неисправности.

ПОРЯДОК ВЫПОЛНЕНИЯ


  1. ПРОВЕРЬТЕ ШИНУ CAN НА КОРОТКОЕ ЗАМЫКАНИЕ НА GND (ЕСМ — РАЗЪЕМ РАСПРЕДЕЛИТЕЛЬНОГО БЛОКА ШИНЫ CAN № 1)


    1. A01X1CCE02
      Обозначения на рисунке
      *A для моделей с 1UR-FE
      *B для моделей с 1VD-FTV
      *a

      Вид спереди разъема со стороны жгута проводов:

      (к ECM)

      *b Вид спереди разъема DLC3

      Отсоедините провод от отрицательного (-) вывода аккумуляторной батареи.

    2. Отсоедините разъем ЭБУ.

    3. Измерьте сопротивление в соответствии со значениями, приведенными в таблице ниже.

      Номинальное сопротивление
      Для моделей с 1UR-FE:
      Подключение диагностического прибора Условие Заданные условия
      A52-10 (CANH) - E22-4 (CG) Провод отсоединен от отрицательного (-) вывода аккумуляторной батареи 200 Ом или более
      A52-11 (CANL) - E22-4 (CG) Провод отсоединен от отрицательного (-) вывода аккумуляторной батареи 200 Ом или более
      Для моделей с 1VD-FTV:
      Подключение диагностического прибора Условие Заданные условия
      A52-41 (CANH) - E22-4 (CG) Провод отсоединен от отрицательного (-) вывода аккумуляторной батареи 200 Ом или более
      A52-49 (CANL) - E22-4 (CG) Провод отсоединен от отрицательного (-) вывода аккумуляторной батареи 200 Ом или более
      Результат
      Результат Перейти к
      OK (для моделей с 1UR-FE) А
      OK (для моделей с 1VD-FTV) B
      NG C

    А
    B
    C
  2. ПОДСОЕДИНИТЕ РАЗЪЕМ


    1. Подсоедините разъем A52 ECM.


    ДАЛЕЕ
  3. ПРОВЕРЬТЕ ШИНУ CAN НА КОРОТКОЕ ЗАМЫКАНИЕ НА GND (ЩИТОК ПРИБОРОВ В СБОРЕ — РАСПРЕДЕЛИТЕЛЬНЫЙ БЛОК ШИНЫ CAN № 2)


    1. A01XBGEE02
      Обозначения на рисунке
      *a

      Вид сзади разъема со стороны жгута проводов

      (к щитку приборов в сборе)

      *b Вид спереди разъема DLC3

      Отсоедините разъем щитка приборов.

    2. Измерьте сопротивление в соответствии со значениями, приведенными в таблице ниже.

      Номинальное сопротивление
      Подключение диагностического прибора Условие Заданные условия
      E119-39 (CANH) - E22-4 (CG) Провод отсоединен от отрицательного (-) вывода аккумуляторной батареи 200 Ом или более
      E119-40 (CANL) - E22-4 (CG) Провод отсоединен от отрицательного (-) вывода аккумуляторной батареи 200 Ом или более

    OK
    NG
  4. ПОДСОЕДИНИТЕ РАЗЪЕМ


    1. Подсоедините разъем E119 щитка приборов.


    ДАЛЕЕ
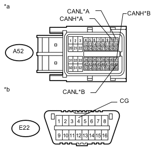
  5. ПРОВЕРЬТЕ ШИНУ CAN НА КОРОТКОЕ ЗАМЫКАНИЕ НА GND (ЭБУ ЦЕНТРАЛЬНОГО СЕТЕВОГО ШЛЮЗА — РАЗЪЕМ РАСПРЕДЕЛИТЕЛЬНОГО БЛОКА ШИНЫ CAN № 1)


    1. A01XAW7E02
      Обозначения на рисунке
      *a

      Вид спереди разъема со стороны жгута проводов:

      (к центральному ЭБУ сетевого шлюза)

      *b Вид спереди разъема DLC3

      Отсоедините разъем ЭБУ центрального сетевого шлюза.

    2. Измерьте сопротивление в соответствии со значениями, приведенными в таблице ниже.

      Номинальное сопротивление
      Подключение диагностического прибора Условие Заданные условия
      E145-18 (CA4H) - E22-4 (CG) Провод отсоединен от отрицательного (-) вывода аккумуляторной батареи 200 Ом или более
      E145-17 (CA4L) - E22-4 (CG) Провод отсоединен от отрицательного (-) вывода аккумуляторной батареи 200 Ом или более

    OK
    NG
  6. ПОДСОЕДИНИТЕ РАЗЪЕМ


    1. Подсоедините разъем E145 ЭБУ центрального сетевого шлюза.


    ДАЛЕЕ
  7. ПРОВЕРЬТЕ ШИНУ CAN НА КОРОТКОЕ ЗАМЫКАНИЕ НА GND (РАСПРЕДЕЛИТЕЛЬНЫЙ БЛОК № 1)


    1. Отсоедините разъем распределительного блока шины CAN № 1.

      A01XA1TE01
      Обозначения на рисунке
      *a

      Вид спереди разъема со стороны жгута проводов:

      (к разъему распределительного блока шины CAN № 1)

      *b Вид спереди разъема DLC3
      *c к разъему № 2 распределительного блока шины CAN *d К главному ЭБУ кузова (бортовому ЭБУ сети мультиплексной связи)
      *e К электромагнитному клапану главного цилиндра (ЭБУ системы противоскольжения) *f К ЭБУ системы управления уровнем фар в сборе
      *g К блоку управления системой кондиционирования *h К ECM
      *i к ЭБУ центрального сетевого шлюза - -
    2. Измерьте сопротивление в соответствии со значениями, приведенными в таблице ниже.

      Номинальное сопротивление
      Подключение диагностического прибора Условие Заданные условия Куда подсоединить
      E133-1 (CANH) - E22-4 (CG) Провод отсоединен от отрицательного (-) вывода аккумуляторной батареи 200 Ом или более Разъем распределительного блока шины CAN № 2
      E133-11 (CANL) - E22-4 (CG) Провод отсоединен от отрицательного (-) вывода аккумуляторной батареи 200 Ом или более
      E133-2 (CANH) - E22-4 (CG) Провод отсоединен от отрицательного (-) вывода аккумуляторной батареи 200 Ом или более Главный ЭБУ кузова (бортовой ЭБУ сети мультиплексной связи)
      E133-12 (CANL) - E22-4 (CG) Провод отсоединен от отрицательного (-) вывода аккумуляторной батареи 200 Ом или более
      E133-3 (CANH) - E22-4 (CG) Провод отсоединен от отрицательного (-) вывода аккумуляторной батареи 200 Ом или более Электромагнитный клапан главного цилиндра (ЭБУ системы противоскольжения)
      E133-13 (CANL) - E22-4 (CG) Провод отсоединен от отрицательного (-) вывода аккумуляторной батареи 200 Ом или более
      E133-4 (CANH) - E22-4 (CG) Провод отсоединен от отрицательного (-) вывода аккумуляторной батареи 200 Ом или более ЭБУ системы управления уровнем фар
      E133-14 (CANL) - E22-4 (CG) Провод отсоединен от отрицательного (-) вывода аккумуляторной батареи 200 Ом или более
      E133-6 (CANH) - E22-4 (CG) Провод отсоединен от отрицательного (-) вывода аккумуляторной батареи 200 Ом или более Блок управления системой кондиционирования в сборе
      E133-16 (CANL) - E22-4 (CG) Провод отсоединен от отрицательного (-) вывода аккумуляторной батареи 200 Ом или более
      E133-7 (CANH) - E22-4 (CG) Провод отсоединен от отрицательного (-) вывода аккумуляторной батареи 200 Ом или более ECM
      E133-17 (CANL) - E22-4 (CG) Провод отсоединен от отрицательного (-) вывода аккумуляторной батареи 200 Ом или более
      E133-8 (CANH) - E22-4 (CG) Провод отсоединен от отрицательного (-) вывода аккумуляторной батареи 200 Ом или более ЭБУ центрального сетевого шлюза
      E133-18 (CANL) - E22-4 (CG) Провод отсоединен от отрицательного (-) вывода аккумуляторной батареи 200 Ом или более
      Результат
      Результат Следующий шаг
      OK А
      NG (главная шина CAN ECM) B
      NG (вспомогательная шина CAN ЭБУ центрального сетевого шлюза) C
      NG (главная шина CAN распределительного блока шины CAN № 2) D
      NG (вспомогательные шины CAN ЭБУ или датчика) E

    А
    B
    C
    E
    D
  8. ПОДСОЕДИНИТЕ РАЗЪЕМ


    1. Подсоедините разъем E133 распределительного блока шины CAN № 1.


    ДАЛЕЕ
  9. ПРОВЕРЬТЕ ШИНУ CAN НА КОРОТКОЕ ЗАМЫКАНИЕ НА GND (РАСПРЕДЕЛИТЕЛЬНЫЙ БЛОК № 2)


    1. Отсоедините разъем распределительного блока шины CAN № 2.

      A01X1NLE01
      Обозначения на рисунке
      *a

      Вид спереди разъема со стороны жгута проводов:

      (к разъему распределительного блока шины CAN № 2)

      *b Вид спереди разъема DLC3
      *c к разъему № 1 распределительного блока шины CAN *d к ЭБУ полного привода
      *e к ЭБУ рулевого управления с усилителем (для моделей с электромагнитным клапаном регулирования расхода) *f к центральному блоку управления системы SRS
      *g к ЭБУ системы предупреждения о ненадлежащем давлении в шинах (для моделей с системой предупреждения о ненадлежащем давлении в шинах) *h к витому кабелю с датчиком в сборе (датчику угла поворота рулевого колеса)
      *i К щитку приборов в сборе *j к ЭБУ сертификации (ЭБУ электронного ключа зажигания в сборе) (для моделей с системой посадки и запуска)
      *k К ЭБУ рулевого управления (для моделей с VGRS) - -
    2. Измерьте сопротивление в соответствии со значениями, приведенными в таблице ниже.

      Номинальное сопротивление
      Подключение диагностического прибора Условие Заданные условия Куда подсоединить
      E135-1 (CANH) - E22-4 (CG) Провод отсоединен от отрицательного (-) вывода аккумуляторной батареи 200 Ом или более Разъем распределительного блока шины CAN № 1
      E135-11 (CANL) - E22-4 (CG) Провод отсоединен от отрицательного (-) вывода аккумуляторной батареи 200 Ом или более
      E135-2 (CANH) - E22-4 (CG) Провод отсоединен от отрицательного (-) вывода аккумуляторной батареи 200 Ом или более ЭБУ полного привода
      E135-12 (CANL) - E22-4 (CG) Провод отсоединен от отрицательного (-) вывода аккумуляторной батареи 200 Ом или более
      E135-3 (CANH) - E22-4 (CG) Провод отсоединен от отрицательного (-) вывода аккумуляторной батареи 200 Ом или более ЭБУ рулевого управления с усилителем*1
      E135-13 (CANL) - E22-4 (CG) Провод отсоединен от отрицательного (-) вывода аккумуляторной батареи 200 Ом или более
      E135-4 (CANH) - E22-4 (CG) Провод отсоединен от отрицательного (-) вывода аккумуляторной батареи 200 Ом или более Блок управления системы SRS
      E135-14 (CANL) - E22-4 (CG) Провод отсоединен от отрицательного (-) вывода аккумуляторной батареи 200 Ом или более
      E135-5 (CANH) - E22-4 (CG) Провод отсоединен от отрицательного (-) вывода аккумуляторной батареи 200 Ом или более ЭБУ системы предупреждения о ненадлежащем давлении в шинах*2
      E135-15 (CANL) - E22-4 (CG) Провод отсоединен от отрицательного (-) вывода аккумуляторной батареи 200 Ом или более
      E135-6 (CANH) - E22-4 (CG) Провод отсоединен от отрицательного (-) вывода аккумуляторной батареи 200 Ом или более Витой кабель с датчиком в сборе (датчик угла поворота рулевого колеса)
      E135-16 (CANL) - E22-4 (CG) Провод отсоединен от отрицательного (-) вывода аккумуляторной батареи 200 Ом или более
      E135-7 (CANH) - E22-4 (CG) Провод отсоединен от отрицательного (-) вывода аккумуляторной батареи 200 Ом или более Щиток приборов в сборе
      E135-17 (CANL) - E22-4 (CG) Провод отсоединен от отрицательного (-) вывода аккумуляторной батареи 200 Ом или более
      E135-8 (CANH) - E22-4 (CG) Провод отсоединен от отрицательного (-) вывода аккумуляторной батареи 200 Ом или более ЭБУ сертификации (ЭБУ электронного ключа зажигания в сборе)*3
      E135-18 (CANL) - E22-4 (CG) Провод отсоединен от отрицательного (-) вывода аккумуляторной батареи 200 Ом или более
      E135-9 (CANH) - E22-4 (CG) Провод отсоединен от отрицательного (-) вывода аккумуляторной батареи 200 Ом или более ЭБУ рулевого управления*4
      E135-19 (CANL) - E22-4 (CG) Провод отсоединен от отрицательного (-) вывода аккумуляторной батареи 200 Ом или более

      • *1: для моделей с электромагнитным клапаном регулирования расхода

      • *2: Для моделей с системой предупреждения о ненадлежащем давлении в шинах

      • *3: для моделей с системой посадки и запуска

      • *4: для моделей с рулевым управлением с переменным передаточным числом

      Результат
      Результат Следующий шаг
      OK А
      NG (главная шина CAN щитка приборов) B
      NG (главная шина CAN распределительного блока шины CAN № 1) C
      NG (вспомогательные шины CAN ЭБУ или датчика) D

    А
    B
    C
    D
  10. ПРОВЕРЬТЕ ШИНУ CAN НА КОРОТКОЕ ЗАМЫКАНИЕ НА GND (ЭБУ, ДАТЧИК)


    1. A01XBVHE02
      Обозначения на рисунке
      *a

      Устройство с подсоединенным жгутом проводов

      (ЭБУ центрального сетевого шлюза)

      *b Вид спереди разъема DLC3

      Подсоедините разъем распределительного блока шины CAN.

    2. Отсоедините разъем, содержащий контакты CANH и CANL, от ЭБУ (или датчика), к которому подсоединена шина, замкнутая на массу.

    3. Измерьте сопротивление в соответствии со значениями, приведенными в таблице ниже.

      Номинальное сопротивление
      Подключение диагностического прибора Условие Заданные условия
      E145-18 (CA4H) - E22-4 (CG) Провод отсоединен от отрицательного (-) вывода аккумуляторной батареи 200 Ом или более
      E145-17 (CA4L) - E22-4 (CG) Провод отсоединен от отрицательного (-) вывода аккумуляторной батареи 200 Ом или более

      Tech Tips

      Если при отсоединении разъема от ЭБУ (или датчика) сопротивление составило не менее 200 Ом, то возможно короткое замыкание в ЭБУ или датчике.


    OK
    NG