СИСТЕМА ПЕРЕДАЧИ ДАННЫХ CAN (для моделей с левосторонним рулевым управлением с ЭБУ центрального сетевого шлюза) Прекращение обмена данными с датчиком угла поворота рулевого колеса

ОПИСАНИЕ

Неисправность Признак Неисправный участок
Прекращение обмена данными с датчиком угла поворота рулевого колеса

Выполняется любое из следующих условий:


  • На экране "Communication Bus Check" (проверка шины передачи данных) GTS для параметра "Spiral cable (Steering Angle Sensor)" отображается прекращение обмена данными (см. стр. Click here).

  • Выводимые коды DTC системы передачи данных (начинающиеся на U) соответствуют "Режиму прекращения обмена данными с датчиком угла поворота рулевого колеса" в "Таблице комбинаций кодов DTC" (см. стр. Click here).


  • Вспомогательная шина CAN или разъем витого кабеля с датчиком в сборе (датчик угла поворота рулевого колеса)

  • Цепь питания витого кабеля с датчиком (датчика угла поворота рулевого колеса)

  • Цепь питания витого кабеля с датчиком (датчика угла поворота рулевого колеса)

  • Витой кабель с датчиком в сборе (датчик угла поворота рулевого колеса)

СХЕМА ЭЛЕКТРИЧЕСКИХ СОЕДИНЕНИЙ

B001XANE09

ПРЕДОСТЕРЕЖЕНИЕ / ПРИМЕЧАНИЕ / УКАЗАНИЕ

Note


  • По причине того, что порядок диагностики важен для обеспечения правильной диагностики, начните с процедур поиска неисправностей в случае появления кодов DTC, относящихся к системе передачи данных CAN (см. стр. Click here).

  • Перед измерением сопротивления шины CAN, выключите зажигание и оставьте автомобиль в покое на 1 минуту или более, не трогая замок зажигания, другие переключатели и не открывая/закрывая двери. После этого, отсоедините провод от отрицательного (-) вывода аккумуляторной батареи и перед измерением сопротивления оставьте автомобиль в покое на 1 минуту или более.

  • После выключения двигателя следует подождать некоторое время, прежде чем отсоединять провод от вывода аккумуляторной батареи. Поэтому, прежде чем приступать к этой работе, обязательно ознакомьтесь с примечанием относительно отсоединения провода от вывода аккумуляторной батареи (см. стр. Click here).

  • Перед выполнением следующей процедуры проверки проверьте предохранители цепей, относящихся к данной системе.

  • После ремонта выполните процедуру проверки кодов DTC и убедитесь, что коды DTC не выводятся снова.

  • Процедура проверки кодов DTC: Двигайтесь на автомобиле со скоростью не менее 36 км/час (22 миль в час) в течение 6,04 с или более.

  • После ремонта выполните проверку шины CAN и убедитесь, что отображаются все ЭБУ и датчики, подсоединенные к системе передачи данных CAN (См. стр. Click here).

Tech Tips


  • Управление замком зажигания, любыми выключателями или связанными с дверными защелками ЭБУ и датчиками, обмен данными с которыми осуществляется посредством сети CAN, приводит к колебанию сопротивления.

  • Если DTC регистрируется при непродолжительном движении на автомобиле даже после удаления кодов DTC, неисправность может возникать вследствие вибрации автомобиля. В подобных случаях необходимо пошевелить разъемы ЭБУ или жгутов проводов во время проверки, чтобы установить причину неисправности.

ПОРЯДОК ВЫПОЛНЕНИЯ


  1. ПРОВЕРЬТЕ ШИНУ CAN НА ОБРЫВ (ВСПОМОГАТЕЛЬНАЯ ШИНА CAN ДАТЧИКА УГЛА ПОВОРОТА РУЛЕВОГО КОЛЕСА)


    1. Отсоедините провод от отрицательного (-) вывода аккумуляторной батареи.

      B001VMEE01
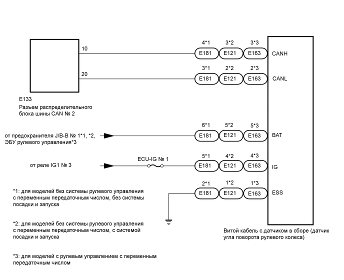
      Обозначения на рисунке
      *A для моделей без системы рулевого управления с переменным передаточным числом, без системы посадки и запуска *B для моделей без системы рулевого управления с переменным передаточным числом, с системой посадки и запуска
      *C для моделей с рулевым управлением с переменным передаточным числом - -
      *a

      Вид спереди разъема со стороны жгута проводов:

      (к витому кабелю с датчиком в сборе (датчик угла поворота рулевого колеса))

      - -
    2. Отсоедините разъем витого кабеля с датчиком (датчика угла поворота рулевого колеса).

    3. Измерьте сопротивление в соответствии со значениями, приведенными в таблице ниже.

      Номинальное сопротивление
      Для моделей без системы рулевого управления с переменным передаточным числом, без системы посадки и запуска:
      Подключение диагностического прибора Условие Заданные условия
      E181-4 (CANH) - E181-3 (CANL) Провод отсоединен от отрицательного (-) вывода аккумуляторной батареи 54 - 69 Ом
      Для моделей без системы рулевого управления с переменным передаточным числом, с системой посадки и запуска:
      Подключение диагностического прибора Условие Заданные условия
      E121-3 (CANH) - E121-2 (CANL) Провод отсоединен от отрицательного (-) вывода аккумуляторной батареи 54 - 69 Ом
      Для моделей с системой рулевого управления с переменным передаточным числом:
      Подключение диагностического прибора Условие Заданные условия
      E163-3 (CANH) - E163-2 (CANL) Провод отсоединен от отрицательного (-) вывода аккумуляторной батареи 54 - 69 Ом

    NG
    OK
  2. ПРОВЕРЬТЕ ЖГУТ ПРОВОДОВ И РАЗЪЕМ (ДАТЧИК УГЛА ПОВОРОТА РУЛЕВОГО КОЛЕСА – АККУМУЛЯТОРНАЯ БАТАРЕЯ И МАССА)


    1. Подсоедините провод к отрицательному (-) выводу аккумуляторной батареи.

      B001YKXE02
      Обозначения на рисунке
      *A для моделей без системы рулевого управления с переменным передаточным числом, без системы посадки и запуска *B для моделей без системы рулевого управления с переменным передаточным числом, с системой посадки и запуска
      *C для моделей с рулевым управлением с переменным передаточным числом - -
      *a

      Вид спереди разъема со стороны жгута проводов:

      (к витому кабелю с датчиком в сборе (датчик угла поворота рулевого колеса))

      - -

      Note

      После подсоединения провода необходимо инициализировать некоторые системы (см. стр. Click here).

    2. Измерьте напряжение в соответствии со значениями, приведенными в таблице.

      Номинальное напряжение
      Для моделей без системы рулевого управления с переменным передаточным числом, без системы посадки и запуска:
      Подключение диагностического прибора Условие Заданные условия
      E181-6 (BAT) - масса Всегда 11-14 В
      E181-5 (IG) - масса Зажигание включено 11-14 В
      Для моделей без системы рулевого управления с переменным передаточным числом, с системой посадки и запуска:
      Подключение диагностического прибора Условие Заданные условия
      E121-5 (BAT) - масса Всегда 11-14 В
      E121-4 (IG) - масса Зажигание включено 11-14 В
      Для моделей с системой рулевого управления с переменным передаточным числом:
      Подключение диагностического прибора Условие Заданные условия
      E163-5 (BAT) - масса Всегда 11-14 В
      E163-4 (IG) - масса Зажигание включено 11-14 В
    3. Измерьте сопротивление в соответствии со значениями, приведенными в таблице ниже.

      Номинальное сопротивление
      Для моделей без системы рулевого управления с переменным передаточным числом, без системы посадки и запуска:
      Подключение диагностического прибора Условие Заданные условия
      E181-2 (ESS) - масса Всегда Менее 1 Ом
      Для моделей без системы рулевого управления с переменным передаточным числом, с системой посадки и запуска:
      Подключение диагностического прибора Условие Заданные условия
      E121-1 (ESS) - масса Всегда Менее 1 Ом
      Для моделей с системой рулевого управления с переменным передаточным числом:
      Подключение диагностического прибора Условие Заданные условия
      E163-1 (ESS) - масса Всегда Менее 1 Ом

    OK
    NG