СИСТЕМА ПЕРЕДАЧИ ДАННЫХ CAN (для моделей с левосторонним рулевым управлением с ЭБУ центрального сетевого шлюза) ОПИСАНИЕ СИСТЕМЫ


  1. КРАТКОЕ ОПИСАНИЕ


    1. Мультиплексная шина CAN (Controller Area Network – локальная сеть контроллеров) – это последовательная система обмена данными, работающая в реальном времени. Система мультиплексной связи автомобиля имеет высокую скорость передачи данных и выполняет функцию обнаружения неисправностей.

      A01XBQ3E02
    2. Передача данных по шине CAN производится с помощью пары линий CANH и CANL, причем полезным сигналом является разность напряжений. (На пару линий подается базовое напряжение, а при передаче данных создается разность потенциалов.)

    3. Большинство установленных на автомобиле блоков ЭБУ и датчиков работают, поддерживая совместный доступ к данным и обмен данными между собой.

    4. Шина V имеет нагрузочные цепи с резистором 60 Ом, а шина 2, шина 3, шина 5, вспомогательная шина 1 и локальная шина имеют нагрузочные цепи с двумя резисторами по 120 Ом.

    5. Система передачи данных CAN состоит из 6 шин.

  2. ОПРЕДЕЛЕНИЕ ТЕРМИНОВ


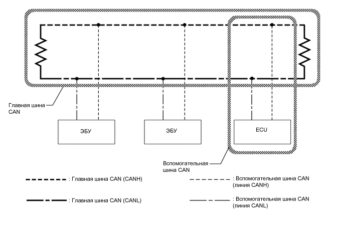
    1. Главная шина


      1. Главной шиной называется жгут проводов между двумя нагрузочными сопротивлениями на шине. Это – главная шина в системе передачи данных CAN.

    2. Боковой


      1. Вспомогательной шиной называется жгут проводов, отходящий от главной шины к ЭБУ или датчику.

    3. Нагрузочные сопротивления


      1. На концах главной шины CAN установлены два параллельных резистора сопротивлением 120 Ом. Они называются нагрузочными сопротивлениями. Эти сопротивления позволяют точно оценивать изменения дифференциального напряжения между линиями шины CAN. Чтобы шина CAN работала должным образом, должны быть установлены оба нагрузочных сопротивления. Поскольку два резистора установлены параллельно, результат измерения составляет приблизительно 60 Ом.

  3. ЭБУ И ДАТЧИКИ, КОТОРЫЕ ОБМЕНИВАЮТСЯ ДАННЫМИ ЧЕРЕЗ СИСТЕМУ CAN


    1. Шина V


      1. ЭБУ центрального сетевого шлюза

      2. DLC3

    2. Шина 2


      1. ECM

      2. Щиток приборов в сборе

      3. Главный ЭБУ кузова (бортовой ЭБУ сети мультиплексной связи)

      4. Витой кабель с датчиком в сборе (датчик угла поворота рулевого колеса)

      5. Блок управления системы SRS

      6. ЭБУ системы управления уровнем фар

      7. ЭБУ центрального сетевого шлюза

      8. Электромагнитный клапан главного цилиндра (ЭБУ системы противоскольжения)

      9. ЭБУ рулевого управления*1

      10. ЭБУ рулевого управления с усилителем*2

      11. ЭБУ полного привода

      12. ЭБУ системы предупреждения о ненадлежащем давлении в шинах*3

      13. Блок управления системой кондиционирования в сборе

      14. ЭБУ сертификации (ЭБУ электронного ключа зажигания в сборе)*4


        • *1: для моделей с рулевым управлением с переменным передаточным числом

        • *2: для моделей с электромагнитным клапаном регулирования расхода

        • *3: для моделей с системой предупреждения о ненадлежащем давлении в шинах

        • *4: Для моделей с системой посадки и запуска

    3. Шина 3


      1. ЭБУ центрального сетевого шлюза

      2. Приемник мультимедийного модуля*1

      3. Радиоприемник с дисплеем в сборе*2

      4. ЭБУ буфера шины*3

      5. Приемопередатчик системы обработки и передачи информации*4


        • *1: для моделей с приемником мультимедийного модуля

        • *2: для моделей с радиоприемником с дисплеем

        • *3: для моделей с ЭБУ буфера шины

        • *4: для моделей с приемопередатчиком системы обработки и передачи информации

    4. Шина 5


      1. ЭБУ центрального сетевого шлюза

      2. ЭБУ предупреждения о недопустимой дистанции*1

      3. ЭБУ помощи при парковке*2

      4. ЭБУ помощи при движении*3

      5. Передняя камера распознавания объектов*3

      6. Датчик радара миллиметрового диапазона в сборе*3

      7. Внутреннее зеркало заднего вида в сборе*4, *5

      8. ЭБУ управления подвеской*6

      9. Левый датчик системы контроля слепых зон*7


        • *1: Для моделей с сенсорной системой помощи при парковке TOYOTA

        • *2: для моделей с системой монитора типа местности

        • *3: для моделей с предаварийной системой безопасности

        • *4: для моделей без предаварийной системы безопасности

        • *5: для моделей с системой автоматического включения дальнего света

        • *6: для моделей с активной подвеской с регулировкой высоты

        • *7: для моделей с системой контроля слепых зон

    5. Вспомогательная шина 1


      1. Главный ЭБУ кузова (бортовой ЭБУ сети мультиплексной связи)

      2. ЭБУ электропривода левого наружного зеркала в сборе*1

      3. ЭБУ электропривода правого наружного зеркала в сборе*1

      4. Переключатель электропривода сиденья в сборе*1

      5. Мультиплексный ЭБУ регулировки наклона и телескопического изменения высоты*2

      6. Блок автоматизированного привода двери багажного отделения в сборе (ЭБУ автоматизированного привода двери багажного отделения)*3

      7. Главный ЭБУ кузова № 2*4


        • *1: для моделей с запоминающим устройством

        • *2: для моделей с наклонной телескопической рулевой колонкой с электроприводом

        • *3: для моделей с системой автоматизированного привода двери багажного отделения

        • *4: для моделей с доводчиком заднего откидного борта

    6. Локальная шина*


      1. ЭБУ помощи при движении в сборе

      2. Передняя камера распознавания объектов

      3. Датчик радара миллиметрового диапазона в сборе


        • *: для моделей с предаварийной системой безопасности

  4. ОПИСАНИЕ ЦЕПИ


    1. Шина V имеет нагрузочную цепь с резистором 60 Ом.

    2. Каждая из шин — шина 2, шина 3, шина 5, вспомогательная шина 1 и локальная шина — имеет нагрузочные цепи с двумя резисторами по 120 Ом.

  5. ЗАМЕЧАНИЯ ПО ПОИСКУ НЕИСПРАВНОСТЕЙ


    1. Коды DTC системы передачи данных CAN можно проверить с помощью GTS. Несмотря на то, что разъем DLC3 подсоединен к системе передачи данных CAN, кодов DTC для неисправностей в разъеме DLC3 или проводах главной шины DLC3 не существует. При наличии неисправности в разъеме DLC3 или главных шинах DLC3 блоки ЭБУ, подключенные к шине CAN, не могут выводить коды DTC на GTS.

  6. ДИАГНОСТИЧЕСКИЕ КОДЫ НЕИСПРАВНОСТЕЙ ДЛЯ СИСТЕМЫ ПЕРЕДАЧИ ДАННЫХ CAN

    Tech Tips

    См. раздел "Система диагностики" (стр. Click here).

  7. КАК РАЗЛИЧАТЬ РАЗЪЕМЫ РАСПРЕДЕЛИТЕЛЬНОГО БЛОКА ШИНЫ CAN


    1. В системе передачи данных CAN все разъемы, подключенные к распределительному блоку шины CAN, имеющему контакт заземления, имеют одинаковую форму. Разъемы, подключенные к распределительному блоку шины CAN, можно различать по цвету шин и соединительной части распределительного блока.

      Tech Tips

      См. раздел "КОНТАКТЫ ЭБУ" (см. стр. Click here) для определения цвета шин или формы соединительной поверхности.