СИСТЕМА ПЕРЕДАЧИ ДАННЫХ CAN (для моделей с правосторонним рулевым управлением), Diagnostic DTC:U0327

Код DTC Наименование DTC
U0327 Несовместимость программного обеспечения с блоком управления безопасности автомобиля

ОПИСАНИЕ

Код DTC Условие обнаружения DTC Неисправный участок
U0327 Не передаются данные от ЭБУ сертификации (ЭБУ электронного ключа зажигания в сборе).
  • Цепь питания ЭБУ сертификации (ЭБУ электронного ключа зажигания в сборе)

  • Вспомогательная шина CAN или разъем ЭБУ сертификации (ЭБУ электронного ключа зажигания в сборе)

  • ЭБУ сертификации (ЭБУ электронного ключа зажигания в сборе)


СХЕМА ЭЛЕКТРИЧЕСКИХ СОЕДИНЕНИЙ

A01WZJXE08

ПРЕДОСТЕРЕЖЕНИЕ / ПРИМЕЧАНИЕ / УКАЗАНИЕ

Note

Перед выполнением следующей процедуры проверки проверьте предохранители цепей, относящихся к данной системе.

Tech Tips

Управление замком зажигания, любыми выключателями или связанными с дверными защелками ЭБУ и датчиками, обмен данными с которыми осуществляется посредством сети CAN, приводит к колебанию сопротивления.

ПОРЯДОК ВЫПОЛНЕНИЯ


  1. МЕРЫ ПРЕДОСТОРОЖНОСТИ

    Note

    После выключения зажигания следует подождать некоторое время, прежде чем отсоединять провод от вывода аккумуляторной батареи. Поэтому, прежде чем приступать к этой работе, обязательно ознакомьтесь с примечанием относительно отсоединения провода от вывода аккумуляторной батареи (см. стр. Click here).


    ДАЛЕЕ
  2. ОТСОЕДИНИТЕ ПРОВОД ОТ ОТРИЦАТЕЛЬНОГО ВЫВОДА АККУМУЛЯТОРНОЙ БАТАРЕИ


    1. Отсоедините провод от отрицательного (-) вывода аккумуляторной батареи перед измерением сопротивления главной и вспомогательной шин CAN.

      CAUTION:

      Для автомобилей с системой SRS:

      После отсоединения провода от отрицательного (-) вывода аккумуляторной батареи подождите не менее 90 с, чтобы предотвратить срабатывание системы SRS.

      Note

      После подсоединения провода необходимо инициализировать некоторые системы (см. стр. Click here).


    ДАЛЕЕ
  3. ПРОВЕРЬТЕ ШИНУ CAN НА ОБРЫВ (ВСПОМОГАТЕЛЬНАЯ ШИНА CAN ECU (ЭБУ) СЕРТИФИКАЦИИ)


    1. A01XABNE01
      Обозначения на рисунке
      *a

      Вид спереди разъема со стороны жгута проводов:

      (к ЭБУ сертификации [ЭБУ электронного ключа зажигания в сборе])

      Отсоедините разъем E29 ЭБУ сертификации (ЭБУ электронного ключа зажигания в сборе).

    2. Измерьте сопротивление в соответствии со значениями, приведенными в таблице ниже.

      Номинальное сопротивление
      Подключение диагностического прибора Положение переключателя Заданные условия
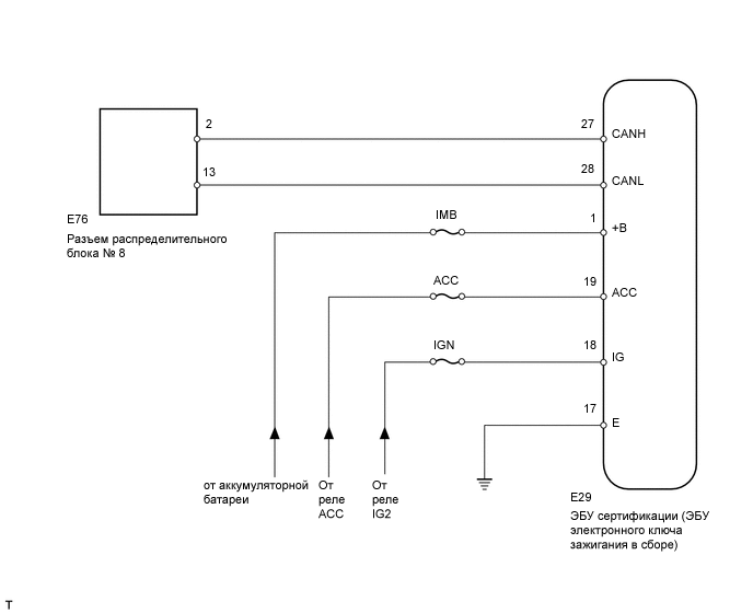
      E29-27 (CANH) - E29-28 (CANL) Замок зажигания в положении OFF (ВЫКЛ) 54 - 69 Ом

    NG
    OK
  4. ПРОВЕРЬТЕ ЖГУТ ПРОВОДОВ И РАЗЪЕМ (ЭБУ СЕРТИФИКАЦИИ – АККУМУЛЯТОРНАЯ БАТАРЕЯ И МАССА)


    1. A01X0XAE01
      Обозначения на рисунке
      *a

      Вид спереди разъема со стороны жгута проводов:

      (к ЭБУ сертификации [ЭБУ электронного ключа зажигания в сборе])

      Подсоедините провод к отрицательному выводу (-) аккумуляторной батареи.

      Note

      После подсоединения провода необходимо инициализировать некоторые системы (см. стр. Click here).

    2. Измерьте напряжение в соответствии со значениями, приведенными в таблице.

      Номинальное напряжение
      Подключение диагностического прибора Условие Заданные условия
      E29-1(+B) - масса Всегда 11-14 В
      E29-18 (IG) - масса Зажигание включено 11-14 В
      E29-19 (ACC) - масса Замок зажигания в положении ACC 11-14 В
    3. Измерьте сопротивление в соответствии со значениями, приведенными в таблице ниже.

      Номинальное сопротивление
      Подключение диагностического прибора Условие Заданные условия
      E29-17 (E) - масса Всегда Менее 1 Ом

    OK
    NG