ГЕНЕРАТОР (для моделей с номинальным током 100 A) ПРОВЕРКА

ПОРЯДОК ВЫПОЛНЕНИЯ


  1. ПРОВЕРЬТЕ ШКИВ ГЕНЕРАТОРА С МУФТОЙ


    1. A01X4JLE01
      Обозначения на рисунке
      *a Удерживайте
      B001XPG Раэблокировано
      A01X4WG Заблокировано

      Удерживая центр шкива генератора с муфтой с помощью SST, убедитесь, что наружное кольцо поворачивается против часовой стрелки и не поворачивается по часовой стрелке.

      SST
      09820-63021

      Если результат проверки не отвечает требованиям, замените шкив муфты.

  2. ПРОВЕРЬТЕ ЩЕТКОДЕРЖАТЕЛЬ ГЕНЕРАТОРА В СБОРЕ


    1. A01X7ZUE06
      Обозначения на рисунке
      *1 Длина

      Измерьте длину щетки штангенциркулем.

      Номинальная длина выступающей части
      9,5 - 11,5 мм (0,374 - 0,453 дюйма)
      Минимально допустимая длина выступающей части
      4,5 мм (0,177 дюйма)

      Если длина щетки меньше минимально допустимой, замените щеткодержатель генератора в сборе.

  3. ПРОВЕРЬТЕ РОТОР ГЕНЕРАТОРА В СБОРЕ


    1. A01X8M8

      Проверьте, не изношен ли подшипник ротора генератора, и не имеет ли он повреждений.

      При необходимости замените ротор генератора в сборе.

    2. Проверьте сопротивление.


      1. A01X1DCE54
        Обозначения на рисунке
        *1 Токосъемное кольцо

        Измерьте сопротивление в соответствии со значениями, приведенными в таблице ниже.

        Номинальное сопротивление
        Подключение диагностического прибора Условие Заданные условия
        Токосъемное кольцо - токосъемное кольцо 20°C (68°F) 3,4 - 3,8 Ом

        Если результат не соответствует заданному, замените ротор генератора в сборе.

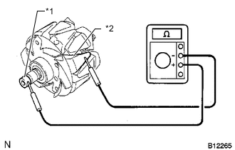
      2. A01X7SNE47
        Обозначения на рисунке
        *1 Токосъемное кольцо
        *2 Сердечник ротора

        Измерьте сопротивление в соответствии со значениями, приведенными в таблице ниже.

        Номинальное сопротивление
        Подключение диагностического прибора Условие Заданные условия
        Токосъемное кольцо - сердечник ротора Всегда 10 МОм или более

        Если результат не соответствует заданному, замените ротор генератора в сборе.

    3. A01X0VGE04
      Обозначения на рисунке
      *1 Диаметр

      Измерьте диаметр токосъемных колец штангенциркулем.

      Номинальный диаметр
      14,2-14,8 мм (0,559-0,583 дюйма)
      Минимально допустимый диаметр
      14,0 мм (0,551 дюйма)

      Если диаметр меньше минимально допустимого, замените ротор генератора в сборе.