СИСТЕМА НАВИГАЦИИ, Diagnostic DTC:B15C2

Код DTC Наименование DTC
B15C2 Неверный сигнал скорости

ОПИСАНИЕ

Приемник мультимедийного модуля получает сигнал скорости автомобиля от щитка приборов и информацию от антенны системы навигации, а затем корректирует местоположение автомобиля на карте. Приемник мультимедийного модуля в сборе регистрирует этот диагностический код неисправности DTC, когда расхождение между информацией о скорости, получаемой от антенны системы навигации в сборе, и импульсным сигналом SPD от щитка приборов в сборе становится большим.

Tech Tips


  • Напряжение 12 В или 5 В выдается каждым ЭБУ, а затем подается в щиток приборов в сборе. Сигнал преобразуется в последовательность импульсов транзисторным преобразователем щитка приборов. Каждый ЭБУ управляет соответствующей системой на основании импульсного сигнала.

  • При коротком замыкании в одном из ЭБУ или жгутов проводов, подключенных к ЭБУ, ни одна система, указанная в блок-схеме, не будет работать должным образом.

Код DTC Условие обнаружения DTC Неисправный участок
B15C2 Обнаружено расхождение между сигналами GPS и SPD.
  • Система измерительных приборов и индикаторов

  • Приемник мультимедийного модуля в сборе

СХЕМА СОЕДИНЕНИЙ

B001WLNE80
*1 Щиток приборов в сборе
*2 Приемник мультимедийного модуля в сборе

ПРЕДОСТЕРЕЖЕНИЕ / ПРИМЕЧАНИЕ / УКАЗАНИЕ

Note

В зависимости от замененных деталей или операций, которые были выполнены при проверке или обслуживании автомобиля, может потребоваться инициализация, регистрация или калибровка. Перейдите к разделу "Система навигации" (меры предосторожности) (см. стр. Click here).

ПОРЯДОК ВЫПОЛНЕНИЯ


  1. УДАЛИТЕ DTC


    1. Сбросьте коды DTC (см. стр. Click here).


    ДАЛЕЕ
  2. ПРОВЕРЬТЕ DTC


    1. Повторно проверьте наличие кодов DTC и определите, выводятся ли вновь те же коды DTC (см. стр. Click here).

      OK
      Коды DTC не выводятся.

    OK
    NG
  3. ПРОВЕРЬТЕ ДАТЧИК АВТОМОБИЛЯ (ПРОВЕРКА РАБОТЫ)


    1. B001W88

      Войдите в экран "System Sensors Check" (проверка датчиков системы). См. "Проверьте GPS и датчики автомобиля" в разделе "Проверка работы" (см. стр. Click here).

    2. Во время движения автомобиля сравните показания параметра "Speed" (скорость) с показаниями спидометра. Убедитесь в том, что показания почти совпадают.

      OK
      Показания совпадают или почти совпадают.

    OK
    NG
  4. ПРОВЕРЬТЕ ЩИТОК ПРИБОРОВ В СБОРЕ (ФОРМУ ВЫХОДНОГО СИГНАЛА)


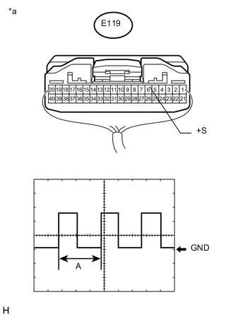
    1. B00206EE02
      Обозначения на рисунке
      *a

      Устройство с подсоединенным жгутом проводов

      (щиток приборов в сборе)

      Проверьте форму выходного сигнала.


      1. Снимите щиток приборов в сборе, не отсоединяя его разъемы (см. стр. Click here).

      2. Подключите осциллограф к контакту E119-6 (+S) и массе.

      3. Включите зажигание (IG).

      4. Медленно поверните колесо.

      5. Проверьте форму сигнала в соответствии с условиями, указанными в таблице ниже.

        Параметр / Устройство Условие
        Контакты, на которых выполняются измерения E119-6 (+S) - масса
        Настройки прибора 5 В/дел., 20 мс/ дел.
        Состояние автомобиля Колесо вращается
        OK
        Форма сигнала похожа на показанную на рисунке.

        Tech Tips

        Когда система функционирует нормально, за один оборот колеса формируется 4 импульса. По мере увеличения скорости автомобиля период (A), отмеченный на рисунке, уменьшается.


    NG
    OK
  5. ПРОВЕРЬТЕ ЖГУТ ПРОВОДОВ И РАЗЪЕМ (ПРИЕМНИК МУЛЬТИМЕДИЙНОГО МОДУЛЯ В СБОРЕ — ЩИТОК ПРИБОРОВ В СБОРЕ)


    1. Отсоедините разъем F77 приемника мультимедийного модуля.

    2. Отсоедините разъем E119 щитка приборов в сборе.

    3. Измерьте сопротивление в соответствии со значениями, приведенными в таблице ниже.

      Номинальное сопротивление
      Подключение диагностического прибора Условие Заданные условия
      F77-56 (SPD) - E119-6 (+S) Всегда Менее 1 Ом
      F77-56 (SPD) - масса Всегда 10 кОм или более

    OK
    NG