ТОПЛИВНЫЙ НАСОС УСТАНОВКА

ПОРЯДОК ВЫПОЛНЕНИЯ


  1. УСТАНОВИТЕ ТОПЛИВОЗАБОРНИК С БЕНЗОНАСОСОМ И ДАТЧИКОМ УРОВНЯ ТОПЛИВА В СБОРЕ


    1. Слегка смажьте новую прокладку бензином или консистентной смазкой и установите ее на топливный бак.

    2. A01X96RC04
      *a Выступание
      *b Канавка
      B001XPG Передняя сторона

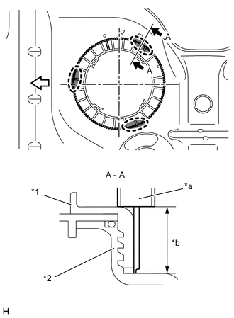
      Установите топливозаборник с бензонасосом и датчиком уровня топлива в топливный бак.

      Note

      Будьте осторожны, чтобы не допустить деформации рукоятки датчика уровня топлива.

      Tech Tips

      Совместите выступ на топливозаборнике с бензонасосом и датчиком уровня топлива с канавкой топливного бака.

    3. A01XC0TC01
      *a Контрольная метка для предотвращения одновременного проворачивания
      B001XPG Передняя сторона

      Нанесите контрольную метку для предотвращения одновременного проворачивания на продувочный патрубок топливного бака в сборе.

      Tech Tips

      При замене продувочного патрубка топливного бака в сборе выполнение этой процедуры обязательно.

    4. A01X1J6C01
      *a Метка начальной точки поворота (со стороны топливного бака)
      *b Метка начальной точки поворота (со стороны крепежной детали датчика топливного насоса)
      B001XPG Передняя сторона

      Предварительно установите крепежную деталь датчика топливного насоса, совместив метку начальной точки поворота новой крепежной детали датчика топливного насоса с меткой начальной точки поворота топливного бака, вдавливая продувочный патрубок топливного бака в сборе в топливный бак.

    5. A01X9QJC01
      *1 Крепежная деталь датчика топливного насоса
      *a Специальный инструмент (SST) (комплект захватов)
      *b Ребро
      *c Вырез
      *d Точка неправильной установки SST (комплект захватов) (метка начальной точки поворота крепежной детали датчика топливного насоса)

      Установите 4 SST (комплекта захватов) на крепежную деталь датчика топливного насоса и временно закрепите их.

      SST
      09808-14031   ( 09808-01080, 09808-01090, 09808-01100 )

      Note


      • Совместите вырез SST (комплекта захватов) с ребром крепежной детали датчика топливного насоса.

      • Не помещайте SST на метку начальной точки поворота крепежной детали датчика топливного насоса. В противном случае SST (комплект захватов) будет установлен неправильно.

    6. A01X5Q9C03
      *1 Крепежная деталь датчика топливного насоса
      *a Специальный инструмент (SST) (комплект захватов)
      *b Крепление
      B001XPG Надавите
      A01X4WG Специальный инструмент (SST) (болт)

      С усилием вдавливая захват SST в ребро крепежной детали датчика топливного насоса, затяните болт.

    7. A01X04AC01
      *a SST (пластина)
      *b Специальный инструмент (SST) (комплект захватов)
      B001XPG Специальный инструмент (SST) (болт)

      Временно установите SST (пластину) на SST (комплект захватов) с помощью 4 SST (болтов).

    8. A01X83VC01
      *a Центр крепежной детали датчика топливного насоса
      *b SST (пластина)
      B001XPG Передняя сторона

      Отрегулируйте положение SST (пластины) так, чтобы установочное отверстие SST (рукоятки) было совмещено с центром крепежной детали датчика топливного насоса.

    9. A01X6YGC01
      *1 Крепежная деталь датчика топливного насоса
      *a SST (пластина)
      *b Специальный инструмент (SST) (комплект захватов)
      *c Специальный инструмент (SST) (болт)
      *d Ребро
      B001ZCQ Надавите

      С усилием вдавливая SST (комплект захватов) в ребро крепежной детали датчика топливного насоса, затяните SST (болт).

    10. A01X0JJC01
      *a Контрольная метка для предотвращения одновременного проворачивания
      *b Положение начала затяжки
      *c Положение после поворота на полтора оборота
      B001XPG Передняя сторона

      Пока один механик вдавливает продувочный патрубок топливного бака в сборе в топливный бак, другой механик крепко прижимает крепежную деталь датчика топливного насоса к резьбе топливного бака и затягивает крепление приблизительно на полтора оборота.

      Note


      • Не пользуйтесь другими инструментами, кроме SST, например отверткой и т. д.

      • Нажимая на SST, не прилагайте чрезмерного усилия, поскольку продувочный патрубок топливного бака в сборе передает чрезмерное усилие на крепежную деталь датчика топливного насоса, в результате чего снятие будет затруднено, а детали могут получить повреждения.

      • Не пользуйтесь пневматическим ключом ударного действия и не поворачивайте рукоятку SST с чрезмерным усилием, поскольку детали могут получить повреждения.

      • Не поворачивайте крепежную деталь датчика топливного насоса, когда контрольная метка для предотвращения одновременного проворачивания не находится на месте.

    11. A01XA4UC01
      *a SST (пластина)
      *b Механик, выполняющий затяжку
      *c Механик, обеспечивающий опору
      *d Примерно 180°
      B001XPG Передняя сторона

      Пока один механик вдавливает продувочный патрубок топливного бака в сборе в топливный бак, другой механик медленно затягивает деталь приблизительно на 180°.

    12. Проверьте затяжку крепежной детали датчика топливного насоса.


      1. A01WZQQC01
        *1 Крепежная деталь датчика топливного насоса
        *2 Топливный бак в сборе
        *a Штангенциркуль
        *b Измеряемая высота
        A01X4WG Передняя сторона
        A01X1V0 Точка измерения

        С помощью штангенциркуля измерьте расстояние до верхней поверхности топливного бака в сборе в 3 местах, как показано на рисунке.

        Номинальное значение/Номинальный режим
        Различие результатов измерения не превышает 3 мм.

        Note

        Если результаты измерений различаются приблизительно на 6 мм, то резьба перекошена на 1 виток (6 мм), и крепежную деталь датчика топливного насоса необходимо снять и повторно установить.

    13. Установите специальный инструмент (SST) (рукоятка) на специальный инструмент (SST) (пластину).

      SST
      09808-14031   ( 09808-01010, 09808-01020 )
    14. A01X1NGC01
      *a SST (рукоятка)
      *b SST (пластина)
      *c Положение полной затяжки
      *d Метка начальной точки поворота крепежной детали датчика топливного насоса
      *e Метка начальной точки поворота топливного бака
      *f Механик, выполняющий затяжку
      *g Механик, обеспечивающий опору
      B001XPG Затяните
      A01X4WG Передняя сторона

      Пока один механик прижимает продувочный патрубок топливного бака в сборе к топливному баку, другой механик с помощью SST (рукоятки) медленно затягивает крепежную деталь датчика топливного насоса, пока она не окажется в положении полной затяжки.

  2. УСТАНОВИТЕ ТОПЛИВНЫЙ БАК В СБОРЕ

    (см. стр. Click here).