СИСТЕМА РУЛЕВОГО УПРАВЛЕНИЯ С УСИЛИТЕЛЕМ (для моделей с 1VD-FTV с DPF), Diagnostic DTC:C15F0

Код DTC Наименование DTC
C15F0 Цепь электромагнитного клапана VFC

ОПИСАНИЕ

Данная цепь обеспечивает электропитание электромагнитного клапана рулевого управления с усилителем.

ЭБУ рулевого управления с усилителем регулирует ток электромагнитного клапана рулевого управления с усилителем в соответствии с сигналом угла поворота рулевого колеса, сигналом относительного угла VGRS, сохраненным "нулем" положения рулевого колеса, сигналом скорости автомобиля и сигналом частоты вращения коленчатого вала двигателя, обеспечивая требуемое усиление рулевого управления.

Код DTC Условие обнаружения DTC Неисправный участок
C15F0 Короткое замыкание или обрыв в цепи электромагнитного клапана.
  • Жгут или разъем

  • Лопастной насос в сборе

  • ЭБУ рулевого управления с усилителем

СХЕМА ЭЛЕКТРИЧЕСКИХ СОЕДИНЕНИЙ

A01X8N7E12
*a Электромагнитный клапан рулевого управления с усилителем
*b ЭБУ рулевого управления с усилителем

ПОРЯДОК ВЫПОЛНЕНИЯ


  1. СНИМИТЕ ПОКАЗАНИЯ GTS (ТОК ЭЛЕКТРОМАГНИТНОГО КЛАПАНА)


    1. Выключите зажигание.

    2. Подключите GTS к DLC3.

    3. Включите зажигание (IG).

    4. Включите GTS.

    5. Войдите в следующие меню: Chassis / PPS / Data List.

      PPS
      Информация на дисплее прибора Измеряемая величина / диапазон измерения Нормальное состояние Замечание по диагностике
      Solenoid Current

      Ток электромагнитного клапана /

      Мин.: 0 мА

      Макс.: 1000 мА

      200 - 950 мА Двигатель работает, рулевое колесо поворачивается.
      OK
      На экране GTS отображается нормальное значение.

    OK
    NG
  2. ПРОВЕРЬТЕ ЖГУТ ПРОВОДОВ И РАЗЪЕМ (ЭБУ РУЛЕВОГО УПРАВЛЕНИЯ С УСИЛИТЕЛЕМ – ЭЛЕКТРОМАГНИТНЫЙ КЛАПАН РУЛЕВОГО УПРАВЛЕНИЯ С УСИЛИТЕЛЕМ)


    1. Отсоедините разъем E102 ЭБУ рулевого управления с усилителем.

    2. Отсоедините разъем C149 электромагнитного клапана рулевого управления с усилителем.

    3. Измерьте сопротивление в соответствии со значениями, приведенными в таблице ниже.

      Номинальное сопротивление
      Подключение диагностического прибора Условие Заданные условия
      E102-7 (SOF+) - C149-2 (SOF+) Всегда Менее 1 Ом
      E102-8 (SOF-) - C149-1 (SOF-)
      E102-7 (SOF+) - масса Всегда 10 кОм или более
      E102-8 (SOF-) - масса

    NG
    OK
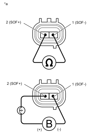
  3. ПРОВЕРЬТЕ ЭЛЕКТРОМАГНИТНЫЙ КЛАПАН РУЛЕВОГО УПРАВЛЕНИЯ С УСИЛИТЕЛЕМ В СБОРЕ

    A01XAS2E01
    Обозначения на рисунке
    *a

    Устройство с неподсоединенным жгутом проводов

    (электромагнитный клапан рулевого управления с усилителем)


    1. Отсоедините разъем C149 электромагнитного клапана рулевого управления с усилителем.

    2. Измерьте сопротивление в соответствии со значениями, приведенными в таблице ниже.

      Номинальное сопротивление
      Подключение диагностического прибора Условие Заданные условия
      1 (SOF-) - 2 (SOF+) 20°C (68°F) 6,7 - 7,3 Ом
    3. Подсоедините положительный (+) вывод аккумуляторной батареи с лампой 21 Вт к контакту 2 (SOF+), а отрицательный (-) вывод – к контакту 1 (SOF-) разъема электромагнитного клапана. Затем убедитесь в том, что клапан приводится в движение, издавая характерный для этого звук.

      OK
      Клапан приводится в движение, издавая характерный звук.

    OK
    NG