STEERING COLUMN ASSEMBLY(for Manual Tilt and Manual Telescopic Steering Column) INSPECTION

PROCEDURE


  1. INSPECT STEERING COLUMN ASSEMBLY (w/ Entry and Start System)


    1. A01X6T7E01
      *1 573 mm

      Measure the length of the steering main shaft.

      Standard length
      573 mm (1.88 ft.)
  2. INSPECT STEERING COLUMN ASSEMBLY (w/o Entry and Start System)


    1. Inspect the collar.


      1. A01X7F3E04
        *1 Collar

        Check that the 2 collars are securely installed to the steering column assembly.

        If the bushings are missing or damaged, replace the steering column assembly with a new one.

      2. Check the 2 bushings for deformation and damage.

        If the bushings are deformed or damaged, replace the steering column assembly with a new one.

    2. Inspect the capsules.


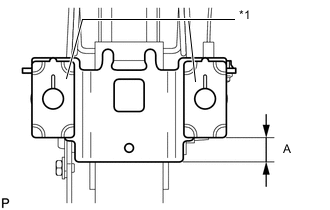
      1. A01XAA3E02
        *1 Capsule

        Check that the 2 capsules are securely installed to the steering column assembly as shown in the illustration.

        Standard Dimension (A)
        10 mm (0.394 in.)

        If the capsules are not positioned as specified, replace the break away capsule and break away collar, break away bracket with a new one.

      2. Check the 2 capsules for deformation and damage.

        If the capsules are not positioned as specified, replace the break away capsule and break away collar, break away bracket with a new one.