VARIABLE GEAR RATIO STEERING SYSTEM, Diagnostic DTC:C15A3/63, C15C5/69

DTC Code DTC Name
C15A3/63 Actuator Malfunction
C15C5/69 Motor Revolution Angle Signal (Test Mode DTC)

DESCRIPTION

The steering actuator drives the internal motor using the current output from the steering control ECU to change the relative angle between the tire angle and steering wheel angle.

The rotation angle sensor in the steering actuator detects the motor rotation angle and outputs this information to the steering control ECU.

If the steering control ECU detects a malfunction in the rotation angle sensor circuit, it will store DTC C15A3/63.

DTC Code DTC Detection Condition Trouble Area
C15A3/63 The steering control ECU detects a malfunction in the rotation angle sensor circuit.
  • Harness or connector

  • Steering actuator

  • Steering control ECU

C15C5/69 A steering signal indicating a motor rotation angle of 36° or more (to the left or right) is input after entering test mode.*
  • Harness or connector

  • Steering actuator

  • Steering control ECU

Tech Tips

*: A tire angle of 36° and a motor rotation angle of 36° correspond to the steering wheel angle. The amount of change in tire angle and motor rotation angle is from when the mode is changed to test mode.

WIRING DIAGRAM

A01WZSTE05

PROCEDURE


  1. CHECK HARNESS AND CONNECTOR (STEERING CONTROL ECU - STEERING ACTUATOR)

    A01WZNAE03
    *a Rear view of wire harness connector: (to Steering Control ECU)
    *b Rear view of wire harness connector: (to Steering Actuator)
    *c 15 (RG)
    *d 10 (RG+)

    1. Disconnect the E79 steering control ECU connector.

    2. Disconnect the E80 steering actuator connector.

    3. Measure the resistance according to the value(s) in the table below.

      Standard Resistance
      Tester Connection Condition Specified Condition
      E79-4 (S1) - E80-2 (S1+) Always Below 1 Ω
      E79-6 (RV) - E80-1 (RV+)
      E79-14 (S2) - E80-9 (S2+)
      E79-15 (RG) - E80-10 (RG+)
      E79-4 (S1) - E79-6 (RV) Always 10 kΩ or higher
      E79-4 (S1) - E79-14 (S2)
      E79-4 (S1) - E79-15 (RG)
      E79-6 (RV) - E79-14 (S2)
      E79-6 (RV) - E79-15 (RG)
      E79-14 (S2) - E79-15 (RG)
      E79-4 (S1) - Body ground
      E79-6 (RV) - Body ground
      E79-14 (S2) - Body ground
      E79-15 (RG) - Body ground

    NG
    OK
  2. CHECK STEERING ACTUATOR


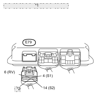
    1. A01X6GLE02
      *1 Rear view of wire harness connector: (to Steering Control ECU)
      *2 15 (RG)

      Disconnect the E79 steering control ECU connector.

    2. Measure the resistance according to the value(s) in the table below.

      Tech Tips

      The resistance must be measured with the steering actuator connector connected.

      Standard Resistance
      Tester Connection Condition Specified Condition
      E79-4 (S1) - E79-6 (RV) Always Below 200 Ω
      E79-4 (S1) - E79-14 (S2)
      E79-4 (S1) - E79-15 (RG)
      E79-6 (RV) - E79-14 (S2)
      E79-6 (RV) - E79-15 (RG)
      E79-14 (S2) - E79-15 (RG)
      E79-4 (S1) - Body ground Always 10 kΩ or higher
      E79-6 (RV) - Body ground
      E79-14 (S2) - Body ground
      E79-15 (RG) - Body ground
      Result
      Result Proceed to
      NG A
      OK (for LHD) B
      OK (for RHD) C

    A
    B
    C