POWER STEERING SYSTEM ON-VEHICLE INSPECTION

PROCEDURE


  1. INSPECT DRIVE BELT


    1. B002022E03
      Text in Illustration
      *a Correct
      *b Incorrect
      *c Incorrect

      Visually check the belt for excessive wear, frayed cords, etc.

      If any defect is found, replace the drive belt.

      Tech Tips

      Cracks on the rib side of a belt are considered acceptable. Replace the belt if there are any missing ribs.

    2. Check by hand that the belt fits properly in the ribbed grooves and has not slipped out of the grooves on the bottom of the crank pulley.

  2. BLEED POWER STEERING SYSTEM


    1. Check the fluid level.

    2. Jack up the front of the vehicle and support it with stands.

    3. Turn the steering wheel.


      1. With the engine stopped, turn the wheel slowly from lock to lock several times.

    4. Lower the vehicle.

    5. Start the engine.

    6. Idle the engine for a few minutes.

    7. Turn the steering wheel.


      1. With the engine idling, turn the wheel left or right to the full lock position and keep it there for 2 to 3 seconds, then turn the wheel to the opposite full lock position and keep it there for 2 to 3 seconds. *1

      2. Repeat *1 several times.

        Note

        For vehicles with VGRS, if the steering wheel is turned from lock to lock repeatedly, the system may stop operating and the amount of rotation before the steering wheel locks may increase due to operation of the overheating prevention function. When the system temperature drops, the system operation automatically returns to normal.

    8. Stop the engine.

    9. B001XIHE03
      Text in Illustration
      *a Correct
      *b Incorrect

      Check for foaming or emulsification.

      If the system has to be bled twice because of foaming or emulsification, check for fluid leaks in the system.

    10. Check the fluid level.

  3. CHECK FLUID LEVEL


    1. B001W8BE02
      Text in Illustration
      *a COLD Range
      *b HOT Range

      Keep the vehicle horizontal.

    2. With the engine stopped, check the fluid level in the reservoir.

      If necessary, add fluid.

      Fluid
      ATF DEXRON II or III, or equivalent

      Tech Tips

      If the fluid is hot, check that the fluid level is within the HOT range. If the fluid is cold, check that the fluid level is within the COLD range.

    3. Start the engine and idle it.

    4. Turn the steering wheel from lock to lock several times to raise the fluid temperature.

      Fluid temperature
      80°C (176°F)
    5. B001XIHE03
      Text in Illustration
      *a Correct
      *b Incorrect

      Check for foaming or emulsification.

      If foaming or emulsification is identified, bleed the power steering system.

    6. B001ZQKE01
      Text in Illustration
      *a Engine idling
      *b Engine stopped
      *c 5.0 mm (0.197 in.) or less

      With the engine idling, measure the fluid level in the reservoir.

    7. Stop the engine.

    8. Wait a few minutes and remeasure the fluid level in the reservoir.

      Maximum fluid level rise
      5.0 mm (0.197 in.)

      If the fluid level rise is more than the maximum, bleed the power steering system.

    9. Check the fluid level.

  4. CHECK STEERING FLUID PRESSURE


    1. Disconnect the pressure feed tube from the vane pump.


      1. for 1GR-FE:

        Refer to the following procedures Click here.

      2. for 1UR-FE:

        Refer to the following procedures Click here.

      3. for 1VD-FTV (without DPF):

        Refer to the following procedures Click here.

      4. for 3UR-FE:

        Refer to the following procedures Click here.

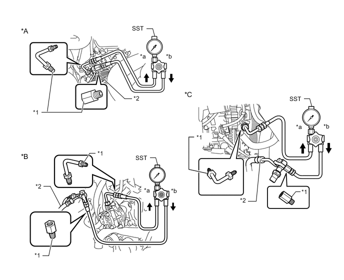
    2. Connect SST as shown in the illustration.

      SST
      09640-10010   ( 09641-01010, 09641-01030, 09641-01060 )
      B001Y99E02
      Text in Illustration
      *A for 1GR-FE *B for 1VD-FTV without DPF
      *C for 1UR-FE, 3UR-FE - -
      *1 Attachment *2 Pressure feed tube
      *a IN *b OUT

      Note

      Make sure that the valve of SST is in the open position.

    3. Bleed the power steering system.

    4. Start the engine and idle it.

    5. Turn the steering wheel from lock to lock several times to raise the fluid temperature.

      Fluid temperature
      80°C (176°F)
    6. B001WF7E01
      Text in Illustration
      *1 Power steering gear
      *2 Oil reservoir
      *3 Vane pump
      *a Closed

      With the engine idling, close the valve of SST and observe the reading on SST.

      Standard fluid pressure
      10000 to 10700 kPa (102.0 to 109.0 kgf/cm2, 1450 to 1551 psi)

      Note


      • Do not keep the valve closed for more than 10 seconds.

      • Do not allow the fluid temperature to become too high.

      If the pressure is less than the minimum, check for fluid leaks and replace parts as necessary.

    7. B001XAGE01
      Text in Illustration
      *1 Power steering gear
      *2 Oil reservoir
      *3 Vane pump
      *a Open

      With the engine idling, fully open the valve.

    8. Measure the fluid pressure at engine speeds of 1000 rpm and 3000 rpm.

      Difference in fluid pressure
      500 kPa (5.1 kgf/cm2, 73 psi) or less

      Note

      Do not turn the steering wheel.

      If the pressure difference is higher than the specified value, check for fluid leaks and replace parts as necessary.

    9. B001YMBE01
      Text in Illustration
      *1 Power steering gear
      *2 Oil reservoir
      *3 Vane pump
      *a Open
      *b Lock position

      With the engine idling and the valve fully open, turn the steering wheel left or right to the full lock position. Observe the reading on SST.

      Standard fluid pressure
      10000 to 10700 kPa (102.0 to 109.0 kgf/cm2, 1450 to 1551 psi)

      Note


      • Do not keep the steering wheel in the full lock position for more than 10 seconds.

      • Do not allow the fluid temperature to become too high.

      If the pressure is less than the minimum, check for fluid leaks and replace parts as necessary.

    10. Disconnect SST.

      SST
      09640-10010   ( 09641-01010, 09641-01030, 09641-01060 )
    11. Connect the pressure feed tube to the vane pump.


      1. for 1GR-FE:

        Refer to the following procedures Click here.

      2. for 1UR-FE:

        Refer to the following procedures Click here.

      3. for 1VD-FTV (without DPF):

        Refer to the following procedures Click here.

      4. for 3UR-FE:

        Refer to the following procedures Click here.

    12. Bleed the power steering system.