REAR DIFFERENTIAL CARRIER ASSEMBLY(for LSD) REASSEMBLY

PROCEDURE


  1. INSPECT AND ADJUST ADJUSTING SHIM


    1. B001X6XE03
      Text in Illustration
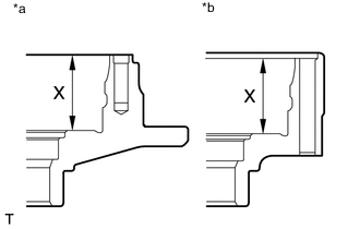
      *a RH
      *b LH

      Measure the differential case LH and RH dimensions labeled X shown in the illustration.

    2. B001Z16E02

      Install the 3 thrust washers and 2 clutch plates to the side gear.

    3. Using SST to press down the thrust washers and clutch plates with a force of approximately 98 N (10 kgf, 22 lbf), measure dimension "Y" shown in the illustration.

      SST
      09649-17010
    4. Referring to the following table, select the proper adjusting shim.

      Standard Adjusting Shim Thickness
      Adjusting shim thickness = X - Y - 19.08 mm (0.751 in.)
      Mark Specified Condition
      A 0.20 mm (0.00787 in.)
      B 0.25 mm (0.00984 in.)
      C 0.30 mm (0.0118 in.)
      D 0.35 mm (0.0138 in.)
      B001Z59E02
      *1 X mm
      *2 Y mm
      *3 #: Reassemble another type of shim or check the backlash after assembling shim A.
      B001W2RE02
      *1 X in.
      *2 Y in.
      *3 #: Reassemble another type of shim or check the backlash after assembling shim A.
  2. INSPECT REAR DIFFERENTIAL SIDE GEAR


    1. B001Z8R

      Install the thrust washers, clutch plates and adjusting shim to the side gear.

      Tech Tips

      When installing the adjusting shim, make sure the surface with no oil groove faces the differential case side.

    2. Install the side gear to the differential case.

    3. Install the 4 pinion gears and thrust washers to the spider.

    4. A01X1CV

      Align the spring retainer holes with the straight pins and install the retainer.

    5. Install the spider assembly to the differential case.

      Tech Tips

      Install the spider to the differential case tightly and do not move the spring retainer.

    6. A01X7QD

      Using the dial indicator, measure the side gear backlash while holding the side gear and spider.

      Standard backlash
      0.02 to 0.15 mm (0.000788 to 0.00590 in.)

      Tech Tips


      • Measure at all 4 pinion gear locations.

      • Measure the backlash at the differential case LH and RH.

      • Apply hypoid gear oil LSD to each sliding surface and rotating part.

      If the backlash is not within the specification, replace the side gear thrust washers with washers of a different thickness.

  3. ASSEMBLE DIFFERENTIAL CASE


    1. Install the spider assembly to the differential case LH.

      Tech Tips

      Install the spider to the differential case LH tightly and do not move the spring retainer.

    2. Install the compression spring and spring retainer RH.

    3. Install the side gear assembly RH.

      Note


      • Be careful not to drop the side gear.

      • Check the pinion and side gear alignment.

    4. B001XRVE13
      Text in Illustration
      *a Matchmark

      Align the matchmarks and assemble the differential case LH and RH.

    5. Install the 8 bolts and tighten them uniformly, a little at a time.

      Torque:
      47 N*m  { 480 kgf*cm, 35 ft.*lbf }
  4. INSTALL REAR DIFFERENTIAL CASE BEARING


    1. B001VV9E02

      Using SST and a press, press the RH side bearing (inner race) into the differential case.

      SST
      09710-30050
      09950-70010   ( 09951-07150 )
    2. B001W90E04

      Using SST and a press, press the LH side bearing (inner race) into the differential case.

      SST
      09710-30050
      09950-60010   ( 09951-00480 )
      09950-70010   ( 09951-07150 )
  5. INSTALL DIFFERENTIAL RING GEAR


    1. Clean the threads of the bolts and differential case with non-residue solvent.

    2. Clean the contact surface of the differential case and ring gear.

    3. Heat the ring gear to about 100°C (212°F) in boiling water.

    4. Carefully take the ring gear out of the boiling water.

    5. After the moisture on the ring gear has completely evaporated, quickly align the matchmarks on the ring gear and differential case and set the ring gear onto the differential case. Then temporarily install the 12 bolts so that the bolt holes in the ring gear and differential case are aligned.

    6. B001Y7QE08
      Text in Illustration
      *a Matchmark

      After the ring gear cools down sufficiently, remove the 12 bolts. Then apply thread lock adhesive to the 12 bolts and install them.

      Thread lock
      Toyota Genuine Adhesive 1360 K, Three Bond 1360 K or equivalent
      Torque:
      137 N*m  { 1397 kgf*cm, 101 ft.*lbf }
  6. INSPECT DIFFERENTIAL RING GEAR RUNOUT


    1. Place the bearing outer races on their respective bearings.

      Tech Tips

      Do not interchange the left and right outer races.

    2. Install the assembled plate washers to the side bearing.

    3. Install the differential case to the differential carrier.

      Tech Tips

      If it is difficult to install the differential case to the carrier, replace the plate washer with a thinner one. However, select a plate washer that allows no clearance between it and the carrier.

    4. Align the matchmarks on the bearing caps and differential carrier.

    5. Install and uniformly tighten the 4 bolts a little at a time.

    6. B001WWI

      Using a dial indicator, measure the ring gear runout.

      Maximum runout
      0.05 mm (0.00197 in.)

      If the runout is more than the maximum, replace the ring gear.

    7. Remove the differential case.

  7. INSTALL REAR DRIVE PINION FRONT TAPERED ROLLER BEARING


    1. B001ZKOE04

      Using SST and a press, press in the bearing (outer race).

      SST
      09950-60020   ( 09951-00890 )
      09950-70010   ( 09951-07150 )
  8. INSTALL REAR DRIVE PINION REAR TAPERED ROLLER BEARING


    1. B001YBEE04

      Using SST and a press, press in the bearing (outer race).

      SST
      09950-60020   ( 09951-00890 )
      09950-70010   ( 09951-07150 )
  9. INSTALL REAR DRIVE PINION REAR TAPERED ROLLER BEARING


    1. Install the washer to the drive pinion.

      Tech Tips

      After installing the washer, check the tooth contact pattern. If necessary, replace the washer with one of a different thickness.

    2. B001Z8CE08
      Text in Illustration
      *1 Plate Washer

      Using SST and a press, press the rear bearing (inner race) into the drive pinion.

      SST
      09506-35010
  10. INSPECT DIFFERENTIAL DRIVE PINION PRELOAD


    1. B001ZO2

      Install the drive pinion, front bearing (inner race) and oil slinger.

      Tech Tips

      Install the spacer and oil seal after adjusting the gear contact pattern.

    2. B001ZT5E04
      Text in Illustration
      *a Turn
      *b Hold

      Using SST, install the companion flange.

      SST
      09950-30012   ( 09951-03010, 09953-03010, 09954-03010, 09955-03030, 09956-03040 )
    3. B001VR7E02

      Using SST to hold the companion flange in place, then slowly tighten the nut within the drive pinion preload adjustment range so that it reaches the specified drive pinion preload (at Starting).

      SST
      09330-00021   ( 09330-00030 )
      Limit Torque Value
      441 N*m (4497 kgf*cm, 325 ft.*lbf) or less

      Note


      • Apply hypoid gear oil LSD to the nut.

      • As there is no spacer, tighten a little at a time, being careful not to overtighten it.

    4. B001WYV

      Using a torque wrench, measure the preload.

      Standard Preload (at Starting)
      Bearing Specified Condition
      New 1.04 to 1.69 N*m (11 to 17 kgf*cm, 10 to 14 in.*lbf)
      Reused 0.85 to 1.37 N*m (9 to 13 kgf*cm, 8 to 12 in.*lbf)

      Tech Tips

      Measure the total preload after turning the bearing clockwise and counterclockwise several times to make the bearing smooth.

  11. INSTALL REAR DIFFERENTIAL CASE SUB-ASSEMBLY


    1. Place the bearing outer races on their respective bearings.

      Tech Tips

      Do not interchange the left and right outer races.

    2. Install the differential case to the carrier.

      Tech Tips

      Make sure that there is backlash between the ring gear and drive pinion.

  12. INSTALL REAR DIFFERENTIAL BEARING ADJUSTING NUT


    1. B001YF4

      Install the 2 adjusting nuts to the carrier, making sure the nuts are threaded properly.

  13. INSPECT DIFFERENTIAL RING GEAR BACKLASH


    1. B001VN1E05
      Text in Illustration
      *a Matchmark

      Align the matchmarks on the bearing caps and carrier. Screw in the 4 bearing cap bolts 2 or 3 turns and press down the bearing caps by hand.

      Tech Tips

      If the bearing caps do not fit tightly on the carrier, the adjusting nuts are not engaged properly. Reinstall the adjusting nuts if necessary.

    2. B001WS9

      Tighten the 4 bolts.

      Torque:
      90 N*m  { 918 kgf*cm, 66 ft.*lbf }
    3. B001Z1ZE04

      Loosen the 4 bolts to the point where the adjusting nuts can be turned by SST.

      SST
      09504-00011
    4. Using SST, tighten the adjusting nut on the ring gear side until the ring gear has a backlash of about 0.2 mm (0.00787 in.).

    5. B001XJ1E03

      While turning the ring gear, use SST to tighten the adjusting nut on the drive pinion side. After the bearings are settled, loosen the adjusting nut on the drive pinion side.

    6. B001ZCZE02

      Place a dial indicator on the top of the adjusting nut on the ring gear side.

      SST
      09504-00011
    7. Adjust the side bearing to 0 preload by tightening the other adjusting nut until the pointer on the indicator begins to move.

    8. B001XJ1E03

      Using SST, tighten the adjusting nut 1 to 1.5 notches from the 0 preload position.

      SST
      09504-00011
    9. B001XPDE05

      Using a dial indicator, adjust the ring gear backlash until it is within the specification.

      SST
      09504-00011
      Standard backlash
      0.10 to 0.20 mm (0.00394 to 0.00787 in.)

      Tech Tips

      The backlash is adjusted by turning the left and right adjusting nuts by an equal amount. For example, loosen the nut on the left side 1 notch and tighten the nut on the right side 1 notch.

    10. Tighten the 4 bearing cap bolts.

      Torque:
      90 N*m  { 918 kgf*cm, 66 ft.*lbf }
    11. After rotating the ring gear 5 turns or more, recheck the ring gear backlash.

      Standard backlash
      0.10 to 0.20 mm (0.00394 to 0.00787 in.)
  14. INSPECT TOTAL PRELOAD


    1. B001WYV

      Using a torque wrench, measure the preload with the teeth of the drive pinion and ring gear in contact.

      Standard Drive Pinion Preload (at Starting)
      Bearing Specified Condition
      New 1.42 to 2.32 N*m (15 to 23 kgf*cm, 13 to 20 in.*lbf)
      Reused 1.23 to 2.00 N*m (13 to 20 kgf*cm, 11 to 17 in.*lbf)
  15. INSPECT TOOTH CONTACT BETWEEN RING GEAR AND DRIVE PINION


    1. A01X7I9

      Coat 3 or 4 teeth at 3 different positions on the ring gear with Prussian blue.

    2. Turn the companion flange in both directions to inspect the ring gear for proper tooth contact.

      B001X5WE02
      Text in Illustration
      *a Proper Contact *b Heel Contact
      *c Face Contact *d Select an adjusting washer that will shift the drive pinion closer to the ring gear (*b, *c)
      *e Toe Contact *f Flank Contact
      *g Select an adjusting washer that will shift the drive pinion away from the ring gear (*e, *f) - -

      If the teeth are not contacting properly, use the following table to select a proper washer for correction.

      Standard Washer Thickness
      Specified Condition Specified Condition
      1.04 to 1.06 mm (0.0410 to 0.0417 in.) 1.315 to 1.335 mm (0.0518 to 0.0525 in.)
      1.065 to 1.085 mm (0.0420 to 0.0427 in.) 1.34 to 1.36 mm (0.0528 to 0.0535 in.)
      1.09 to 1.11 mm (0.0430 to 0.0437 in.) 1.365 to 1.385 mm (0.0538 to 0.0545 in.)
      1.115 to 1.135 mm (0.0439 to 0.0446 in.) 1.39 to 1.41 mm (0.0548 to 0.0555 in.)
      1.14 to 1.16 mm (0.0449 to 0.0456 in.) 1.415 to 1.435 mm (0.0557 to 0.0564 in.)
      1.165 to 1.185 mm (0.0459 to 0.0466 in.) 1.44 to 1.46 mm (0.0567 to 0.0574 in.)
      1.19 to 1.21 mm (0.0469 to 0.0476 in.) 1.465 to 1.485 mm (0.0577 to 0.0584 in.)
      1.215 to 1.235 mm (0.04789 to 0.0486 in.) 1.49 to 1.51 mm (0.0587 to 0.0594 in.)
      1.24 to 1.26 mm (0.0489 to 0.0496 in.) 1.515 to 1.535 mm (0.0597 to 0.0604 in.)
      1.265 to 1.285 mm (0.0498 to 0.0505 in.) 1.54 to 1.56 mm (0.0607 to 0.0614 in.)
      1.29 to 1.31 mm (0.0508 to 0.0515 in.) -
  16. REMOVE DRIVE PINION COMPANION FLANGE REAR NUT


    1. B001X9YE02

      Using SST to hold the flange, remove the nut.

      SST
      09330-00021   ( 09330-00030 )
  17. REMOVE REAR DRIVE PINION COMPANION FLANGE REAR SUB-ASSEMBLY

    Click here

  18. REMOVE REAR DIFFERENTIAL DRIVE PINION OIL SLINGER

  19. REMOVE REAR DRIVE PINION FRONT TAPERED ROLLER BEARING

    Click here

  20. INSTALL REAR DIFFERENTIAL DRIVE PINION BEARING SPACER


    1. Install a new spacer to the drive pinion.

  21. INSTALL REAR DRIVE PINION FRONT TAPERED ROLLER BEARING


    1. B001WFOE01

      Using SST and a hammer, tap in the bearing (outer race).

      SST
      09316-60011   ( 09316-00011, 09316-00021 )
    2. Install the bearing (inner race).

  22. INSTALL REAR DIFFERENTIAL DRIVE PINION OIL SLINGER

  23. INSTALL REAR DIFFERENTIAL CARRIER OIL SEAL


    1. B001WCEE01

      Using SST and a hammer, tap in a new oil seal.

      SST
      09214-76011
      Standard oil seal depth
      0.05 to 0.95 mm (0.00197 to 0.0374)
    2. Coat the lip of the oil seal with MP grease.

  24. INSTALL REAR DRIVE PINION REAR COMPANIONFLANGE SUB-ASSEMBLY


    1. B001ZT5E04
      Text in Illustration
      *a Turn
      *b Hold

      Using SST, install the companion flange.

      SST
      09950-30012   ( 09951-03010, 09953-03010, 09954-03010, 09955-03030, 09956-03040 )
  25. INSPECT DRIVE PINION PRELOAD


    1. Coat the threads of a new nut with hypoid gear oil.

    2. B001Y6LE01

      Using SST to hold the companion flange in place, then slowly tighten the nut within the drive pinion preload adjustment range so that it reaches the specified drive pinion preload (at Starting).

      SST
      09330-00021   ( 09330-00030 )
      Limit Torque Value
      441 N*m (4497 kgf*cm, 325 ft.*lbf) or less
    3. B001WYV

      Using a torque wrench, measure the preload.

      Standard Preload (at Starting)
      Bearing Specified Condition
      New 1.04 to 1.69 N*m (11 to 17 kgf*cm, 10 to 14 in.*lbf)
      Reused 0.85 to 1.37 N*m (9 to 13 kgf*cm, 8 to 12 in.*lbf)
  26. INSPECT TOTAL PRELOAD


    1. B001WYV

      Using a torque wrench, measure the preload with the teeth of the drive pinion and ring gear in contact.

      Standard Drive Pinion Preload (at Starting)
      Bearing Specified Condition
      New 1.42 to 2.32 N*m (15 to 23 kgf*cm, 13 to 20 in.*lbf)
      Reused 1.23 to 2.00 N*m (13 to 20 kgf*cm, 11 to 17 in.*lbf)
  27. INSPECT DIFFERENTIAL RING GEAR


    1. A01X4NT

      Using a dial indicator, measure the ring gear backlash.

      Standard backlash
      0.10 to 0.20 mm (0.00394 to 0.00787 in.)

      Tech Tips

      Measure at 3 or more positions around the circumference of the ring gear.

      If the backlash is not as specified, adjust the side bearing preload or repair as necessary.

  28. INSPECT RUNOUT OF REAR DRIVE PINION COMPANION FLANGE REAR SUB-ASSEMBLY


    1. B001Y41E41
      Text in Illustration
      *a Vertical Runout
      *b Lateral Runout
      *c 35 mm (1.38 in.)

      Using a dial indicator, measure the runout of the companion flange vertically and laterally.

      Maximum Runout
      Runout Specified Condition
      Vertical runout 0.10 mm (0.00394 in.)
      Lateral runout 0.10 mm (0.00394 in.)

      If the runout is more than the maximum, replace the companion flange.

  29. STAKE DRIVE PINION COMPANION FLANGE REAR NUT


    1. B001XIE

      Using a chisel and hammer, stake the nut.

  30. INSTALL REAR DIFFERENTIAL BEARING ADJUSTING NUT LOCK


    1. A01X58W

      Install 2 new nut locks to the bearing caps.

    2. Install the 2 bolts, and bend the nut locks.

      Torque:
      13 N*m  { 130 kgf*cm, 9 ft.*lbf }