VALVE BODY ASSEMBLY INSTALLATION

PROCEDURE


  1. INSTALL TRANSMISSION CASE GASKET


    1. Coat 2 new transmission case gaskets with ATF and install them to the automatic transmission case sub-assembly.

  2. INSTALL MANUAL VALVE


    1. Coat the manual valve with ATF and install it to the transmission valve body assembly.

  3. INSTALL TRANSMISSION VALVE BODY ASSEMBLY


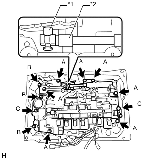
    1. B001Z4LE02
      Text in Illustration
      *1 Manual Valve Lever Sub-assembly
      *2 Manual Valve

      Insert the manual valve lever sub-assembly into the groove on the end of the manual valve and install the transmission valve body assembly to the automatic transmission case sub-assembly with the 12 bolts.

      Torque:
      11 N*m  { 112 kgf*cm, 8 ft.*lbf }

      Tech Tips

      Bolt Length:


      • for bolt A: 25 mm (0.984 in.)

      • for bolt B: 36 mm (1.42 in.)

      • for bolt C: 50 mm (1.97 in.)

    2. Install the detent spring and detent spring cover to the transmission valve body assembly with the bolt.

      Torque:
      10 N*m  { 102 kgf*cm, 7 ft.*lbf }
  4. INSTALL VALVE BODY OIL STRAINER ASSEMBLY


    1. Coat a new O-ring with ATF, and install it to the valve body oil strainer assembly.

    2. Install the valve body oil strainer assembly to the transmission valve body assembly with the 3 bolts.

      Torque:
      10 N*m  { 102 kgf*cm, 7 ft.*lbf }
  5. CONNECT TRANSMISSION WIRE

    Click here

  6. CHECK AUTOMATIC TRANSMISSION SYSTEM

    Click here