MAYDAY SWITCH INSPECTION

PROCEDURE


  1. REMOVE MAP LIGHT ASSEMBLY

    Click here

  2. INSPECT MAP LIGHT ASSEMBLY


    1. Check the resistance.


      1. A01X9D1C01
        *a

        Component without harness connected

        (Map Light Assembly)

        Measure the resistance according to the value(s) in the table below.

        Resistance
        Tester Connection Condition Specified Condition
        22 (SIG1) - 21 (GND3) Mayday switch not pressed 410 to 414 Ω
        22 (SIG1) - 21 (GND3) Mayday switch pressed 81 to 83 Ω
    2. Check the operation (indicator).


      1. A01X4O7C01
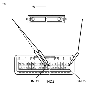
        *a

        Component without harness connected

        (Map Light Assembly)

        *b Two 1.5 V dry cell batteries

        Check that each indicator illuminates when 2 dry cell batteries are connected to the map light assembly connector terminals as shown in the illustration.

        Note

        Do not apply more than 3 V.

        OK
        Tester Connection Condition Specified Condition
        24 (IND1) - 17 (GND9) Positive (+) dry cell battery - Negative (-) dry cell battery HELP RED indicator illuminates
        23 (IND2) - 17 (GND9) Positive (+) dry cell battery - Negative (-) dry cell battery HELP GREEN indicator illuminates
  3. INSTALL MAP LIGHT ASSEMBLY

    Click here