CAN COMMUNICATION SYSTEM(for RHD with Central Gateway ECU) Steering Angle Sensor Communication Stop Mode

DESCRIPTION

Detection Item Symptom Trouble Area
Steering Angle Sensor Communication Stop Mode

Either Condition is met:


  • Communication stop for "Spiral cable (Steering Angle Sensor)" is indicated on the "Communication Bus Check" screen of the GTS Click here.

  • Communication system DTCs (DTCs that start with U) that are output correspond to "Steering Angle Sensor Communication Stop Mode" in "DTC Combination Table" Click here.


  • Spiral with sensor cable sub-assembly (steering angle sensor) CAN branch wire or connector

  • Power source circuit of spiral with sensor cable sub-assembly (steering angle sensor)

  • Spiral with sensor cable sub-assembly (steering angle sensor) ground circuit

  • Spiral with sensor cable sub-assembly (steering angle sensor)

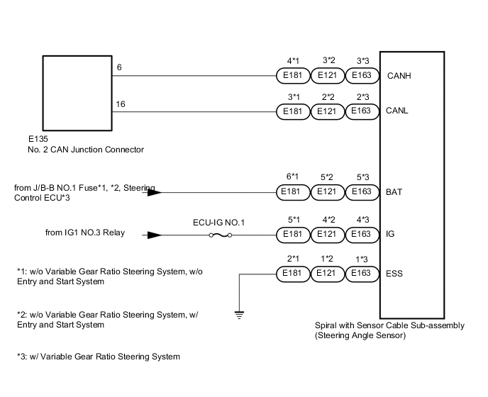
WIRING DIAGRAM

B001XANE10

CAUTION / NOTICE / HINT

Note


  • Because the order of diagnosis is important to allow correct diagnosis, make sure to begin troubleshooting using How to Proceed with Troubleshooting when CAN communication system related DTCs are output Click here.

  • Before measuring the resistance of the CAN bus, turn the ignition switch off and leave the vehicle for 1 minute or more without operating the key, switches or opening or closing the doors. After that, disconnect the cable from the negative (-) battery terminal and leave the vehicle for 1 minute or more before measuring the resistance.

  • After turning the ignition switch off, waiting time may be required before disconnecting the cable from the battery terminal. Therefore, make sure to read the disconnecting the cable from the battery terminal notice before proceeding with work Click here.

  • Inspect the fuses for circuits related to this system before performing the following inspection procedure.

  • After performing repairs, perform the DTC check procedure and confirm that the DTCs are not output again.

  • After the repair, perform CAN Bus Check and check that all the ECUs and sensors connected to the CAN communication system are displayed Click here.

Tech Tips


  • Operating the ignition switch, any switches or any doors triggers related ECU and sensor communication with the CAN, which causes resistance variation.

  • Even after DTCs are cleared, if a DTC is stored again after driving the vehicle for a while, the malfunction may be occurring due to vibration of the vehicle. In such a case, wiggling the ECUs or wire harness while performing the inspection below may help determine the cause of the malfunction.

PROCEDURE


  1. CHECK FOR OPEN IN CAN BUS WIRE (STEERING ANGLE SENSOR CAN BRANCH WIRE)


    1. Disconnect the cable from the negative (-) battery terminal.

      B001VMEE01
      Text in Illustration
      *A w/o Variable Gear Ratio Steering System, w/o Entry and Start System *B w/o Variable Gear Ratio Steering System, w/ Entry and Start System
      *C w/ Variable Gear Ratio Steering System - -
      *a

      Front view of wire harness connector

      (to Spiral with Sensor Cable Sub-assembly [Steering Angle Sensor])

      - -
    2. Disconnect the spiral with sensor cable sub-assembly (steering angle sensor) connector.

    3. Measure the resistance according to the value(s) in the table below.

      Standard Resistance
      w/o Variable Gear Ratio Steering System, w/o Entry and Start System:
      Tester Connection Condition Specified Condition
      E181-4 (CANH) - E181-3 (CANL) Cable disconnected from negative (-) battery terminal 54 to 69 Ω
      w/o Variable Gear Ratio Steering System, w/ Entry and Start System:
      Tester Connection Condition Specified Condition
      E121-3 (CANH) - E121-2 (CANL) Cable disconnected from negative (-) battery terminal 54 to 69 Ω
      w/ Variable Gear Ratio Steering System:
      Tester Connection Condition Specified Condition
      E163-3 (CANH) - E163-2 (CANL) Cable disconnected from negative (-) battery terminal 54 to 69 Ω

    NG
    OK
  2. CHECK HARNESS AND CONNECTOR (STEERING ANGLE SENSOR - BATTERY AND BODY GROUND)


    1. Connect the cable to the negative (-) battery terminal.

      B001YKXE02
      Text in Illustration
      *A w/o Variable Gear Ratio Steering System, w/o Entry and Start System *B w/o Variable Gear Ratio Steering System, w/ Entry and Start System
      *C w/ Variable Gear Ratio Steering System - -
      *a

      Front view of wire harness connector

      (to Spiral with Sensor Cable Sub-assembly [Steering Angle Sensor])

      - -

      Note

      When connecting the cable, some systems need to be initialized after the cable is reconnected Click here.

    2. Measure the voltage according to the value(s) in the table below.

      Standard Voltage
      w/o Variable Gear Ratio Steering System, w/o Entry and Start System:
      Tester Connection Condition Specified Condition
      E181-6 (BAT) - Body ground Always 11 to 14 V
      E181-5 (IG) - Body ground Ignition switch ON 11 to 14 V
      w/o Variable Gear Ratio Steering System, w/ Entry and Start System:
      Tester Connection Condition Specified Condition
      E121-5 (BAT) - Body ground Always 11 to 14 V
      E121-4 (IG) - Body ground Ignition switch ON 11 to 14 V
      w/ Variable Gear Ratio Steering System:
      Tester Connection Condition Specified Condition
      E163-5 (BAT) - Body ground Always 11 to 14 V
      E163-4 (IG) - Body ground Ignition switch ON 11 to 14 V
    3. Measure the resistance according to the value(s) in the table below.

      Standard Resistance
      w/o Variable Gear Ratio Steering System, w/o Entry and Start System:
      Tester Connection Condition Specified Condition
      E181-2 (ESS) - Body ground Always Below 1 Ω
      w/o Variable Gear Ratio Steering System, w/ Entry and Start System:
      Tester Connection Condition Specified Condition
      E121-1 (ESS) - Body ground Always Below 1 Ω
      w/ Variable Gear Ratio Steering System:
      Tester Connection Condition Specified Condition
      E163-1 (ESS) - Body ground Always Below 1 Ω

    OK
    NG