Click here

FUEL PUMP REASSEMBLY

Click here
Click here Click here

CAUTION / NOTICE / HINT

A01X55U
Note:

Do not disconnect the hoses indicated in the illustration.

Click here

PROCEDURE


  1. Click here

    INSTALL NO. 1 FUEL SUCTION SUPPORT


    1. Attach the 2 claws to the claw holes to install the fuel suction support.

  2. Click here

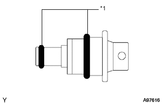
    INSTALL FUEL MAIN VALVE ASSEMBLY


    1. A01X4LIE20

      Apply a light coat of gasoline to 2 new O-rings, and install them onto the fuel main valve.

      Table 1. Text in Illustration
      *1 New O-Ring
    2. Install the fuel main valve to the fuel filter case.

      Note:

      Make sure the O-rings are not cut or pinched during the installation.

  3. Click here

    INSTALL FUEL PUMP


    1. Connect the fuel pump wire harness connector to the fuel pump.

    2. B00205GE02

      Apply a light coat of gasoline to a new O-ring. Then install the O-ring and spacer to the fuel pump.

      Table 2. Text in Illustration
      *1 O-Ring
      *2 Spacer
    3. Attach the 5 claws to the claw holes and install the fuel pump to the fuel filter case.

  4. Click here

    INSTALL NO. 1 FUEL SUB-TANK

    Note:

    Make sure that the fuel tube passes into the section marked by the circle.

    Table 3. Text in Illustration
    *1 Fuel Tube

    1. Attach the 3 claws to the claw holes and install the fuel sub-tank.

    2. A01X3YOE02

      Connect the jet pump (labeled B) to the sub-tank.

      Table 4. Text in Illustration
      *1 Jet Pump

      1. Attach the claw on the end of the tube to the claw hole.

    3. Connect the jet pump (labeled A) to the sub-tank.

    4. Connect the fuel pump connector.

  5. Click here

    INSTALL FUEL SENDER GAUGE ASSEMBLY

    Click here