FUEL PUMP DISASSEMBLY

CAUTION / NOTICE / HINT

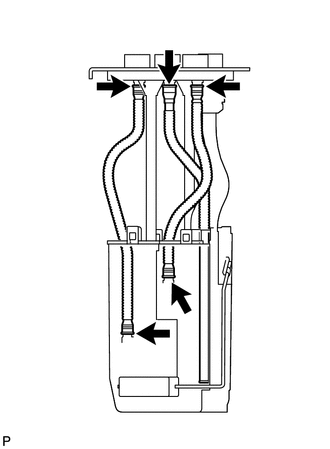
Note

Do not disconnect the hoses indicated in the illustration.

A01X55U

PROCEDURE


  1. REMOVE FUEL SENDER GAUGE ASSEMBLY

    Click here

  2. REMOVE NO. 1 FUEL SUB-TANK


    1. A01X5GC

      Disconnect the fuel pump connector.

    2. A01X6UIE02

      Disconnect the jet pump (labeled A) from the sub-tank.

    3. Disconnect the jet pump (labeled B) from the sub-tank.

      Text in Illustration
      *1 Jet Pump

      1. Using a small screwdriver, detach the claw from the sub-tank.

        Tech Tips

        Tape the screwdriver tip before use.

    4. A01X5O7

      Using a screwdriver, detach the 3 claws from the claw holes.

      Note

      Do not damage the fuel sub-tank.

      Tech Tips

      Tape the screwdriver tip before use.

    5. A01X0GN

      Using a screwdriver, detach the 3 claws from the claw holes.

      Note

      Do not damage the fuel sub-tank.

      Tech Tips

      Tape the screwdriver tip before use.

  3. REMOVE FUEL PUMP


    1. A01X8NIE02
      Text in Illustration
      *1 Fuel Filter Case

      Using a screwdriver, detach the 5 claws from the claw holes and disconnect the fuel pump from the fuel filter case.

      Tech Tips

      Tape the screwdriver tip before use.

    2. A01X9A2

      Disconnect the fuel pump wire harness connector from the fuel pump to remove it.

    3. B001Z7QE02
      Text in Illustration
      *1 O-Ring
      *2 Spacer

      Remove the O-ring and spacer from the fuel pump.

  4. REMOVE FUEL MAIN VALVE ASSEMBLY


    1. B001W8DE02
      Text in Illustration
      *1 Fuel Filter Case
      *2 O-Ring

      Remove the fuel main valve from the fuel filter case.

    2. Remove the 2 O-rings from the fuel main valve.

  5. REMOVE NO. 1 FUEL SUCTION SUPPORT


    1. A01X0GG

      Detach the 2 claws from the claw holes to remove the fuel suction support.