СИСТЕМА ПЕРЕДАЧИ ДАННЫХ CAN Проверьте линию шины 3 на короткое замыкание на GND

ОПИСАНИЕ

Между одним из проводов шины CAN и GND может быть короткое замыкание, если между контактом 6 (CA3H) ЭБУ центрального сетевого шлюза (ЭБУ сетевого шлюза) и контактом 4 (CG) разъема DLC3 или между контактом 21 (CA3L) ЭБУ центрального сетевого шлюза (ЭБУ сетевого шлюза) и контактом 4 (CG) разъема DLC3 сопротивление отсутствует.

Признак Неисправный участок
Отсутствует сопротивление между контактом 6 (CA3H) ЭБУ центрального сетевого шлюза и контактом 4 (CG) DLC3, или контактом 21 (CA3L) ЭБУ центрального сетевого шлюза и контактом 4 (CG) DLC3.
  • Короткое замыкание на массу в главной шине CAN

  • Короткое замыкание на массу во вспомогательной шине CAN

  • ЭБУ центрального сетевого шлюза (ЭБУ сетевого шлюза)

  • Радиоприемник в сборе

    (для моделей с приемником системы навигации или с радиоприемником с дисплеем)

  • DCM (приемопередатчик системы обработки и передачи информации)

    (для моделей с ручным выключателем (SOS))

  • Разъем распределительного блока шины CAN № 8

СХЕМА ЭЛЕКТРИЧЕСКИХ СОЕДИНЕНИЙ

B001MV3E02

ПРЕДОСТЕРЕЖЕНИЕ / ПРИМЕЧАНИЕ / УКАЗАНИЕ

Note


  • Так как порядок проведения диагностики важен для получения корректных результатов, начните поиск неисправностей с раздела "Порядок поиска неисправностей", если выводятся коды DTC, связанные с системой передачей данных CAN.

    Нажмите здесь Click here

  • Перед измерением сопротивления шины CAN, выключите питание и оставьте автомобиль в покое на 1 минуту или более, не приводя в действие ключ, любые другие переключатели и не открывая/закрывая двери. После этого отсоедините провод от отрицательного (-) вывода вспомогательной аккумуляторной батареи и перед измерением сопротивления оставьте автомобиль в покое на 1 минуту или более.

  • После выключения питания следует подождать некоторое время, прежде чем отсоединять провод от отрицательного (-) вывода вспомогательной аккумуляторной батареи. Поэтому, прежде чем приступать к этой работе, обязательно ознакомьтесь с примечанием относительно отсоединения провода от отрицательного (-) вывода вспомогательной аккумуляторной батареи.

    Нажмите здесь Click here

  • После ремонта выполните проверку шины CAN и убедитесь, что все ЭБУ и датчики, подсоединенные к системе передачи данных CAN, отображаются как нормальные.

    Нажмите здесь Click here

Tech Tips


  • Перед отсоединением связанных компонентов для проверки нажмите на корпус каждого разъема, чтобы убедиться, что разъем не ослаблен и не отсоединен.

  • Если разъем отсоединен, убедитесь, что контакты и корпус разъема не имеют трещин, не деформированы и не подверглись коррозии.

ПОРЯДОК ВЫПОЛНЕНИЯ


  1. ПРОВЕРЬТЕ ШИНУ CAN НА КОРОТКОЕ ЗАМЫКАНИЕ НА GND (РАСПРЕДЕЛИТЕЛЬНЫЙ БЛОК № 8)


    1. Отсоедините провод от отрицательного (-) вывода вспомогательной аккумуляторной батареи.

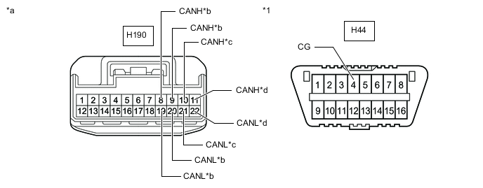
    2. Отсоедините разъем H190 распределительного блока шины CAN № 8.

    3. Измерьте сопротивление в соответствии со значениями, приведенными в таблице ниже.

      B001KAXC04
      *1 DLC3 - -
      *a

      Вид спереди разъема со стороны жгута проводов:

      (к разъему распределительного блока шины CAN № 8)

      *b к ЭБУ центрального сетевого шлюза (ЭБУ сетевого шлюза)
      *c

      К радиоприемнику в сборе

      (для моделей с приемником системы навигации или с радиоприемником с дисплеем)

      *d

      к DCM (приемопередатчику системы обработки и передачи информации)

      (для моделей с ручным выключателем (SOS))

      Номинальное сопротивление
      Подключение диагностического прибора Условие Заданные условия Куда подсоединить
      H190-8 (CANH) - H44-4 (CG) Провод отсоединен от отрицательного (-) вывода вспомогательной аккумуляторной батареи 200 Ом или более ЭБУ центрального сетевого шлюза (ЭБУ сетевого шлюза)
      H190-19 (CANL) - H44-4 (CG)
      H190-9 (CANH) - H44-4 (CG) Провод отсоединен от отрицательного (-) вывода вспомогательной аккумуляторной батареи 200 Ом или более ЭБУ центрального сетевого шлюза (ЭБУ сетевого шлюза)
      H190-20 (CANL) - H44-4 (CG)
      H190-10 (CANH) - H44-4 (CG) Провод отсоединен от отрицательного (-) вывода вспомогательной аккумуляторной батареи 200 Ом или более Радиоприемник в сборе*1
      H190-21 (CANL) - H44-4 (CG)
      H190-11 (CANH) - H44-4 (CG) Провод отсоединен от отрицательного (-) вывода вспомогательной аккумуляторной батареи 200 Ом или более DCM (приемопередатчик системы обработки и передачи информации)*2
      H190-22 (CANL) - H44-4 (CG)

      • *1: для моделей с приемником системы навигации или с радиоприемником с дисплеем

      • *2: для моделей с ручным выключателем (SOS)

      Результат
      Результат Перейти к
      OK А
      NG (линия к ЭБУ центрального сетевого шлюза (ЭБУ сетевого шлюза)) B
      NG (линия к ЭБУ или датчику) C

    А
    C
    B
  2. ПРОВЕРЬТЕ ЛИНИЮ ШИНЫ CAN НА КОРОТКОЕ ЗАМЫКАНИЕ НА GND (РАЗЪЕМ РАСПРЕДЕЛИТЕЛЬНОГО БЛОКА ШИНЫ CAN № 8 — ЭБУ ЦЕНТРАЛЬНОГО СЕТЕВОГО ШЛЮЗА (ЭБУ СЕТЕВОГО ШЛЮЗА))


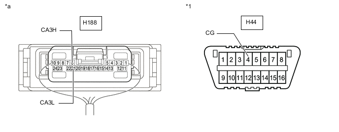
    1. Отсоедините разъем H188 ЭБУ центрального сетевого шлюза (ЭБУ сетевого шлюза).

    2. Измерьте сопротивление в соответствии со значениями, приведенными в таблице ниже.

      B001KAXC05
      *1 DLC3 - -
      *a

      Вид спереди разъема со стороны жгута проводов:

      (к разъему распределительного блока шины CAN № 8)

      *b к ЭБУ центрального сетевого шлюза (ЭБУ сетевого шлюза)
      Номинальное сопротивление
      Подключение диагностического прибора Условие Заданные условия
      H190-8 (CANH) - H44-4 (CG) Провод отсоединен от отрицательного (-) вывода вспомогательной аккумуляторной батареи 200 Ом или более
      H190-19 (CANL) - H44-4 (CG)
      H190-9 (CANH) - H44-4 (CG) Провод отсоединен от отрицательного (-) вывода вспомогательной аккумуляторной батареи 200 Ом или более
      H190-20 (CANL) - H44-4 (CG)
      Результат
      Результат
      OK
      NG

    OK
    NG
  3. ПРОВЕРЬТЕ ШИНУ CAN НА КОРОТКОЕ ЗАМЫКАНИЕ НА GND (ЭБУ ИЛИ ДАТЧИК)


    1. Подсоедините все жгуты проводов.

    2. Отсоедините разъем, содержащий контакты CANH и CANL, от ЭБУ или датчика, к которому подсоединена шина, коротко замкнутая на массу.

      Нажмите здесь Click here

    3. Измерьте сопротивление в соответствии со значениями, приведенными в таблице ниже.

      B001LJRC07
      *1 DLC3 - -
      *a

      Устройство с подсоединенным жгутом проводов

      (ЭБУ центрального сетевого шлюза (ЭБУ сетевого шлюза))

      - -
      Номинальное сопротивление
      Подключение диагностического прибора Условие Заданные условия
      H188-6 (CA3H) - H44-4 (CG) Провод отсоединен от отрицательного (-) вывода вспомогательной аккумуляторной батареи 200 Ом или более
      H188-21 (CA3L) - H44-4 (CG)

      Tech Tips


      • Если при отсоединении разъема от ЭБУ (или датчика) сопротивление составило не менее 200 Ом, то возможно короткое замыкание в ЭБУ или датчике.

      • Если при отсоединении разъема от ЭБУ или датчика сопротивление не становится нормальным, проверьте жгут проводов на короткое замыкание на массу и при необходимости отремонтируйте или замените жгут проводов или разъем.

      Результат
      Результат
      OK
      NG

    OK
    NG