СИСТЕМА ПЕРЕДАЧИ ДАННЫХ CAN, Diagnostic DTC:U0104

Код DTC Наименование DTC
U0104 Нарушение связи с ЭБУ помощи при движении

ОПИСАНИЕ

№ DTC Условие обнаружения DTC Неисправный участок
U0104 Нарушение обмена данными с ЭБУ помощи при движении продолжается.
  • Вспомогательная шина или разъем ЭБУ помощи при движении

  • Цепь питания ЭБУ помощи при движении

  • ЭБУ помощи при движении в сборе

Tech Tips

Данный порядок выполнения диагностики предназначен для случаев, когда ЭБУ распределения питания выводит код DTC U0104 (на экране GTS отображается: PM1 Gateway).

СХЕМА ЭЛЕКТРИЧЕСКИХ СОЕДИНЕНИЙ

A004XV5E02
A004Z80E04

ПРЕДОСТЕРЕЖЕНИЕ / ПРИМЕЧАНИЕ / УКАЗАНИЕ

Note


  • Выключите питание перед измерением сопротивления между главными и вспомогательными шинами CAN.

  • Выключите питание перед проверкой короткого замыкания шины CAN на массу.

  • После выключения питания убедитесь, что система оповещения о ключе, оставленном в замке зажигания, и система оповещения о невыключенном освещении не активированы.

  • Перед измерением сопротивления оставьте автомобиль на 1 минуту "как он есть", не трогая выключатель питания, другие переключатели и двери. Если необходимо открыть какую-либо дверь для проверки разъемов, откройте двери и не закрывайте их.

Tech Tips


  • Управление выключателем питания, какими-либо выключателями или дверями приводит к обмену данными между ЭБУ и датчиками по шине CAN. При осуществлении обмена данными сопротивление изменяется.

  • Если DTC регистрируется при непродолжительном движении на автомобиле даже после удаления кодов DTC, неисправность может возникать вследствие вибрации автомобиля. В подобных случаях необходимо пошевелить разъемы ЭБУ или жгутов проводов во время проверки, чтобы установить причину неисправности.

ПОРЯДОК ВЫПОЛНЕНИЯ


  1. СНОВА ПРОВЕРЬТЕ ВЫВОДИМЫЕ DTC


    1. Снова проверьте диагностические коды неисправности DTC.

      Tech Tips

      Если шлюз PM1 ЭБУ распределения питания выводит код DTC U1002, это указывает на неисправность шины V2. Выполните диагностику для кода DTC U1002 и проверьте исправность шины V2.

      Результат
      Результат Следующий шаг
      ЭБУ распределения питания не выводит код U1002 (на экране диагностического прибора GTS отображается: PM1 Gateway) А
      ЭБУ распределения питания выводит код U1002 (на экране GTS отображается: PM1 Gateway) B

    B
    А
  2. ПРОВЕРЬТЕ ШИНУ CAN НА ОБРЫВ (ВСПОМОГАТЕЛЬНАЯ ШИНА ЭБУ ПОМОЩИ ПРИ ДВИЖЕНИИ)


    1. Выключите питание.

    2. Отсоедините провод от отрицательного (-) вывода вспомогательной аккумуляторной батареи.

    3. A004XQBE02
      Обозначения на рисунке
      *a

      Вид спереди разъема со стороны жгута проводов:

      (к ЭБУ помощи при движении)

      Отсоедините разъем H5 ЭБУ помощи при движении.

    4. Измерьте сопротивление в соответствии со значениями, приведенными в таблице ниже.

      Номинальное сопротивление
      Подключение диагностического прибора Условие Заданные условия
      H5-39 (CA2H) - H5-17 (CA2L) Провод отсоединен от отрицательного (-) вывода вспомогательной аккумуляторной батареи 54 - 69 Ом

    NG
    OK
  3. ПРОВЕРЬТЕ ЖГУТ ПРОВОДОВ И РАЗЪЕМ (ЦЕПЬ ПИТАНИЯ)


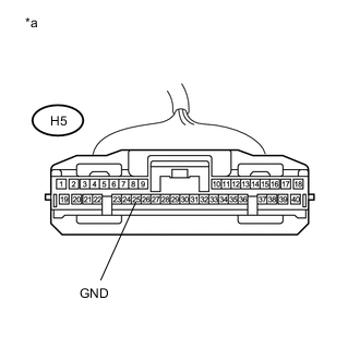
    1. A004VGME02
      Обозначения на рисунке
      *a

      Вид спереди разъема со стороны жгута проводов:

      (к ЭБУ помощи при движении)

      Измерьте сопротивление в соответствии со значениями, приведенными в таблице ниже.

      Номинальное сопротивление
      Подключение диагностического прибора Условие Заданные условия
      H5-25 (GND) - масса Провод отсоединен от отрицательного (-) вывода вспомогательной аккумуляторной батареи Менее 1 Ом
    2. Подсоедините провод к отрицательному (-) выводу вспомогательной аккумуляторной батареи.

    3. A004Z8IE02
      Обозначения на рисунке
      *a

      Вид спереди разъема со стороны жгута проводов:

      (к ЭБУ помощи при движении)

      Измерьте напряжение в соответствии со значениями, приведенными в таблице.

      Номинальное напряжение
      Подключение диагностического прибора Условие Заданные условия
      H5-30 (B) - масса Питание включено (IG) 11-14 В

    OK
    NG