СИСТЕМА ПЕРЕДАЧИ ДАННЫХ CAN, Diagnostic DTC:U1110

Код DTC Наименование DTC
U1110 Нарушение связи с блоком ультразвуковой локации

ОПИСАНИЕ

Код DTC Условие обнаружения DTC Неисправный участок
U1110 Прекращение обмена данными с ЭБУ предупреждения о недопустимой дистанции
  • Вспомогательная шина или разъем ЭБУ предупреждения о недопустимой дистанции

  • Цепь питания ЭБУ предупреждения о недопустимой дистанции в сборе

  • ЭБУ предупреждения о недопустимой дистанции

Tech Tips

Данный порядок выполнения диагностики предназначен для случаев, когда ЭБУ распределения питания выводит код DTC U1110 (на экране GTS отображается: PM1 Gateway).

СХЕМА ЭЛЕКТРИЧЕСКИХ СОЕДИНЕНИЙ

A004XD8E02
A004Z26E05

ПРЕДОСТЕРЕЖЕНИЕ / ПРИМЕЧАНИЕ / УКАЗАНИЕ

Note


  • Выключите питание перед измерением сопротивления между главными и вспомогательными шинами CAN.

  • Выключите питание перед проверкой короткого замыкания шины CAN на массу.

  • После выключения питания убедитесь, что система оповещения о ключе, оставленном в замке зажигания, и система оповещения о невыключенном освещении не активированы.

  • Перед измерением сопротивления оставьте автомобиль на 1 минуту "как он есть", не трогая выключатель питания, другие переключатели и двери. Если необходимо открыть какую-либо дверь для проверки разъемов, откройте двери и не закрывайте их.

Tech Tips


  • Управление выключателем питания, какими-либо выключателями или дверями приводит к обмену данными между ЭБУ и датчиками по шине CAN. При осуществлении обмена данными сопротивление изменяется.

  • Если DTC регистрируется при непродолжительном движении на автомобиле даже после удаления кодов DTC, неисправность может возникать вследствие вибрации автомобиля. В подобных случаях необходимо пошевелить разъемы ЭБУ или жгутов проводов во время проверки, чтобы установить причину неисправности.

ПОРЯДОК ВЫПОЛНЕНИЯ


  1. СНОВА ПРОВЕРЬТЕ ВЫВОДИМЫЕ DTC


    1. Снова проверьте диагностические коды неисправности DTC.

      Tech Tips

      Если шлюз PM1 ЭБУ распределения питания выводит код DTC U1002, это указывает на неисправность шины V2. Выполните диагностику для кода DTC U1002 и проверьте исправность шины V2.

      Результат
      Результат Перейти к
      ЭБУ распределения питания не выводит код U1002 (на экране GTS отображается: PM1 Gateway) А
      ЭБУ распределения питания выводит код U1002 (на экране GTS отображается: PM1 Gateway) B

    B
    А
  2. ПРОВЕРЬТЕ ЛИНИИ ШИНЫ CAN НА НАЛИЧИЕ ОБРЫВА (ВСПОМОГАТЕЛЬНАЯ ШИНА ЭБУ ПРЕДУПРЕЖДЕНИЯ О НЕДОПУСТИМОЙ ДИСТАНЦИИ)


    1. Выключите питание.

    2. Отсоедините провод от отрицательного (-) вывода вспомогательной аккумуляторной батареи.

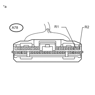
    3. A004WB6E01
      Обозначения на рисунке
      *a

      Вид спереди разъема со стороны жгута проводов:

      (к ЭБУ предупреждения о недопустимой дистанции)

      Отсоедините разъем А78 ЭБУ предупреждения о недопустимой дистанции.

    4. Измерьте сопротивление в соответствии со значениями, приведенными в таблице ниже.

      Номинальное сопротивление
      Подключение диагностического прибора Условие Заданные условия
      A78-17 (R1) - A78-18 (R2) Провод отсоединен от отрицательного (-) вывода вспомогательной аккумуляторной батареи 54 - 69 Ом

    NG
    OK
  3. ПРОВЕРЬТЕ ЖГУТ ПРОВОДОВ И РАЗЪЕМ (ЦЕПЬ ПИТАНИЯ)


    1. A004ZNPE02
      Обозначения на рисунке
      *a

      Вид спереди разъема со стороны жгута проводов:

      (к ЭБУ предупреждения о недопустимой дистанции)

      Измерьте сопротивление в соответствии со значениями, приведенными в таблице ниже.

      Номинальное сопротивление
      Подключение диагностического прибора Условие Заданные условия
      A78-27 (E) - масса Провод отсоединен от отрицательного (-) вывода вспомогательной аккумуляторной батареи Менее 1 Ом
    2. Подсоедините провод к отрицательному (-) выводу вспомогательной аккумуляторной батареи.

    3. Измерьте напряжение в соответствии со значениями, приведенными в таблице.

      Номинальное напряжение
      Подключение диагностического прибора Условие Заданные условия
      A78-12 (IG) - масса Питание включено (IG) 11-14 В

    OK
    NG