ИЛЛЮСТРАЦИЯ
| *A | Для моделей с левосторонним рулевым управлением | - | - |
| *1 | ПЕРЕДНЯЯ КАМЕРА РАСПОЗНАВАНИЯ ОБЪЕКТОВ (для моделей с системой безопасности Lexus +) |
*2 | ДАТЧИК РАДАРА МИЛЛИМЕТРОВОГО ДИАПАЗОНА В СБОРЕ (для моделей с системой безопасности Lexus +) |
| *3 | ECM | *4 | ЭБУ СИСТЕМЫ ПРОТИВОСКОЛЬЖЕНИЯ (УСИЛИТЕЛЬ ТОРМОЗНОЙ СИСТЕМЫ С ГЛАВНЫМ ЦИЛИНДРОМ В СБОРЕ) |
| *5 | ЭБУ И ПЕРЕКЛЮЧАТЕЛЬ УПРАВЛЕНИЯ ПОЛОЖЕНИЕМ В СБОРЕ (для моделей с запоминающим устройством положения сидений) |
- | - |
ИЛЛЮСТРАЦИЯ
| *A | Для моделей с правосторонним рулевым управлением | - | - |
| *1 | ПЕРЕДНЯЯ КАМЕРА РАСПОЗНАВАНИЯ ОБЪЕКТОВ (для моделей с системой безопасности Lexus +) |
*2 | ЭБУ СИСТЕМЫ ПРОТИВОСКОЛЬЖЕНИЯ (УСИЛИТЕЛЬ ТОРМОЗНОЙ СИСТЕМЫ С ГЛАВНЫМ ЦИЛИНДРОМ В СБОРЕ) |
| *3 | ДАТЧИК РАДАРА МИЛЛИМЕТРОВОГО ДИАПАЗОНА В СБОРЕ (для моделей с системой безопасности Lexus +) |
*4 | ECM |
| *5 | ЭБУ И ПЕРЕКЛЮЧАТЕЛЬ УПРАВЛЕНИЯ ПОЛОЖЕНИЕМ В СБОРЕ (для моделей с запоминающим устройством положения сидений) |
- | - |
ИЛЛЮСТРАЦИЯ
| *A | Для моделей с левосторонним рулевым управлением | - | - |
| *1 | РАЗЪЕМ РАСПРЕДЕЛИТЕЛЬНОГО БЛОКА ШИНЫ CAN № 1 | *2 | РАЗЪЕМ РАСПРЕДЕЛИТЕЛЬНОГО БЛОКА ШИНЫ CAN № 8 |
| *3 | РАЗЪЕМ РАСПРЕДЕЛИТЕЛЬНОГО БЛОКА ШИНЫ CAN № 6 | *4 | РАЗЪЕМ РАСПРЕДЕЛИТЕЛЬНОГО БЛОКА ШИНЫ CAN № 2 |
| *5 | РАЗЪЕМ РАСПРЕДЕЛИТЕЛЬНОГО БЛОКА ШИНЫ CAN № 4 | *6 | РАЗЪЕМ РАСПРЕДЕЛИТЕЛЬНОГО БЛОКА ШИНЫ CAN № 3 |
| *7 | ЭБУ ЭЛЕКТРОПРИВОДА НАРУЖНОГО ЗЕРКАЛА В СБОРЕ (СО СТОРОНЫ ПЕРЕДНЕГО ПАССАЖИРА) (для моделей с запоминающим устройством положения сидений) |
*8 | РАЗЪЕМ РАСПРЕДЕЛИТЕЛЬНОГО БЛОКА ШИНЫ CAN № 5 |
| *9 | ЭБУ ПОМОЩИ ПРИ ДВИЖЕНИИ В СБОРЕ (для моделей с системой безопасности Lexus +) |
*10 | ЭБУ ЦЕНТРАЛЬНОГО СЕТЕВОГО ШЛЮЗА (ЭБУ СЕТЕВОГО ШЛЮЗА) |
| *11 | ЭБУ ЭЛЕКТРОПРИВОДА НАРУЖНОГО ЗЕРКАЛА В СБОРЕ (СО СТОРОНЫ ВОДИТЕЛЯ) (для моделей с запоминающим устройством положения сидений) |
- | - |
ИЛЛЮСТРАЦИЯ
| *A | Для моделей с правосторонним рулевым управлением | - | - |
| *1 | РАЗЪЕМ РАСПРЕДЕЛИТЕЛЬНОГО БЛОКА ШИНЫ CAN № 1 | *2 | РАЗЪЕМ РАСПРЕДЕЛИТЕЛЬНОГО БЛОКА ШИНЫ CAN № 4 |
| *3 | РАЗЪЕМ РАСПРЕДЕЛИТЕЛЬНОГО БЛОКА ШИНЫ CAN № 2 | *4 | РАЗЪЕМ РАСПРЕДЕЛИТЕЛЬНОГО БЛОКА ШИНЫ CAN № 6 |
| *5 | РАЗЪЕМ РАСПРЕДЕЛИТЕЛЬНОГО БЛОКА ШИНЫ CAN № 3 | *6 | ЭБУ ЭЛЕКТРОПРИВОДА НАРУЖНОГО ЗЕРКАЛА В СБОРЕ (СО СТОРОНЫ ВОДИТЕЛЯ) (для моделей с запоминающим устройством положения сидений) |
| *7 | РАЗЪЕМ РАСПРЕДЕЛИТЕЛЬНОГО БЛОКА ШИНЫ CAN № 8 | *8 | ЭБУ ЦЕНТРАЛЬНОГО СЕТЕВОГО ШЛЮЗА (ЭБУ СЕТЕВОГО ШЛЮЗА) |
| *9 | ЭБУ ПОМОЩИ ПРИ ДВИЖЕНИИ В СБОРЕ (для моделей с системой безопасности Lexus +) |
*10 | РАЗЪЕМ РАСПРЕДЕЛИТЕЛЬНОГО БЛОКА ШИНЫ CAN № 5 |
| *11 | ЭБУ ЭЛЕКТРОПРИВОДА НАРУЖНОГО ЗЕРКАЛА В СБОРЕ (СО СТОРОНЫ ПЕРЕДНЕГО ПАССАЖИРА) (для моделей с запоминающим устройством положения сидений) |
- | - |
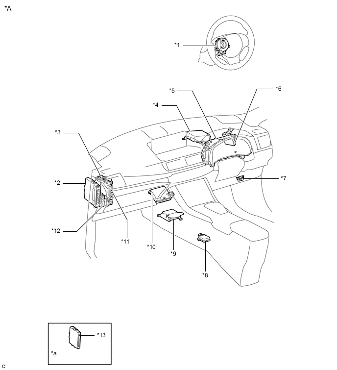
ИЛЛЮСТРАЦИЯ
| *A | Для моделей с левосторонним рулевым управлением | - | - |
| *1 | ДАТЧИК УГЛА ПОВОРОТА РУЛЕВОГО КОЛЕСА (ВИТОЙ КАБЕЛЬ С ДАТЧИКОМ В СБОРЕ) | *2 | ЭБУ РУЛЕВОГО УПРАВЛЕНИЯ С УСИЛИТЕЛЕМ |
| *3 | ЩИТОК ПРИБОРОВ В СБОРЕ | *4 | ЭБУ ПРЕДУПРЕЖДЕНИЯ О НЕДОПУСТИМОЙ ДИСТАНЦИИ В СБОРЕ (для моделей с системой сенсорной помощи при парковке LEXUS) |
| *5 | ЭБУ РАСПРЕДЕЛЕНИЯ ПИТАНИЯ | *6 | ЭБУ ТРАНСМИССИИ В СБОРЕ |
| *7 | ДАТЧИК ЗАМЕДЛЕНИЯ И РЫСКАНЬЯ | *8 | БЛОК УПРАВЛЕНИЯ СИСТЕМЫ SRS |
| *9 | БЛОК УПРАВЛЕНИЯ СИСТЕМОЙ КОНДИЦИОНИРОВАНИЯ | *10 | ГЛАВНЫЙ ЭБУ КУЗОВА (БОРТОВОЙ ЭБУ СЕТИ МУЛЬТИПЛЕКСНОЙ СВЯЗИ) |
| *11 | DLC3 | *12 | РАСПРЕДЕЛИТЕЛЬНЫЙ БЛОК ПАНЕЛИ ПРИБОРОВ В СБОРЕ |
| *13 | ЭБУ СЕРТИФИКАЦИИ (ЭБУ ЭЛЕКТРОННОГО КЛЮЧА ЗАЖИГАНИЯ В СБОРЕ) | - | - |
| *a | Установочное положение детали приводится в бюллетене технического обслуживания. | - | - |
ИЛЛЮСТРАЦИЯ
| *A | Для моделей с правосторонним рулевым управлением | - | - |
| *1 | ДАТЧИК УГЛА ПОВОРОТА РУЛЕВОГО КОЛЕСА (ВИТОЙ КАБЕЛЬ С ДАТЧИКОМ В СБОРЕ) | *2 | ЭБУ РАСПРЕДЕЛЕНИЯ ПИТАНИЯ |
| *3 | РАСПРЕДЕЛИТЕЛЬНЫЙ БЛОК ПАНЕЛИ ПРИБОРОВ В СБОРЕ | *4 | ЭБУ РУЛЕВОГО УПРАВЛЕНИЯ С УСИЛИТЕЛЕМ |
| *5 | ЩИТОК ПРИБОРОВ В СБОРЕ | *6 | ЭБУ ПРЕДУПРЕЖДЕНИЯ О НЕДОПУСТИМОЙ ДИСТАНЦИИ В СБОРЕ (для моделей с системой сенсорной помощи при парковке LEXUS) |
| *7 | DLC3 | *8 | ДАТЧИК ЗАМЕДЛЕНИЯ И РЫСКАНЬЯ |
| *9 | БЛОК УПРАВЛЕНИЯ СИСТЕМЫ SRS | *10 | БЛОК УПРАВЛЕНИЯ СИСТЕМОЙ КОНДИЦИОНИРОВАНИЯ |
| *11 | ГЛАВНЫЙ ЭБУ КУЗОВА (БОРТОВОЙ ЭБУ СЕТИ МУЛЬТИПЛЕКСНОЙ СВЯЗИ) | *12 | ЭБУ ТРАНСМИССИИ В СБОРЕ |
| *13 | ЭБУ СЕРТИФИКАЦИИ (ЭБУ ЭЛЕКТРОННОГО КЛЮЧА ЗАЖИГАНИЯ В СБОРЕ) | - | - |
| *a | Установочное положение детали приводится в бюллетене технического обслуживания. | - | - |
ИЛЛЮСТРАЦИЯ
| *A | Для моделей с левосторонним рулевым управлением | - | - |
| *1 | DCM (ПРИЕМОПЕРЕДАТЧИК ТЕЛЕМАТИЧЕСКОЙ СИСТЕМЫ) (для моделей с ручным выключателем (SOS)) |
*2 | РАЗЪЕМ РАСПРЕДЕЛИТЕЛЬНОГО БЛОКА ШИНЫ CAN № 7 (для моделей с мониторной системой помощи при парковке (без режима помощи при параллельной парковке)) |
| *3 | ЗАДНЯЯ ТЕЛЕКАМЕРА В СБОРЕ (для моделей с мониторной системой помощи при парковке (без режима помощи при параллельной парковке)) |
*4 | РАДИОПРИЕМНИК В СБОРЕ (для моделей с приемником системы навигации) |
| *5 | РАДИОПРИЕМНИК В СБОРЕ (для моделей с радиоприемником с дисплеем) |
- | - |
ИЛЛЮСТРАЦИЯ
| *A | Для моделей с правосторонним рулевым управлением | - | - |
| *1 | РАДИОПРИЕМНИК В СБОРЕ (для моделей с приемником системы навигации) |
*2 | РАДИОПРИЕМНИК В СБОРЕ (для моделей с радиоприемником с дисплеем) |