СИСТЕМА ПЕРЕДАЧИ ДАННЫХ CAN МЕРЫ ПРЕДОСТОРОЖНОСТИ


  1. ПРИМЕЧАНИЕ ПО ИНИЦИАЛИЗАЦИИ

    Note

    Если отрицательный (-) вывод вспомогательной аккумуляторной батареи был отсоединен, после его подсоединения выполните инициализацию следующих систем.

    Название системы См. стр.
    Система помощи при парковке

    Click here

    Система управления замками дверей
  2. МЕРЫ ПРЕДОСТОРОЖНОСТИ ПРИ ВЫПОЛНЕНИИ РАБОТ С СИСТЕМОЙ РУЛЕВОГО УПРАВЛЕНИЯ


    1. При замене деталей соблюдайте осторожность. Неправильно выполненная замена может ухудшить эксплуатационные качества системы рулевого управления и привести к опасным ситуациям при поездках.

  3. МЕРЫ ПРЕДОСТОРОЖНОСТИ ПРИ ВЫПОЛНЕНИИ РАБОТ С ПОДУШКАМИ БЕЗОПАСНОСТИ SRS


    1. Автомобиль оборудован системой SRS (дополнительной системой пассивной безопасности), включающей такие узлы, как подушки безопасности, установленные на водительском и переднем пассажирском местах. Нарушение последовательности операций по обслуживанию может привести к неожиданному срабатыванию SRS при обслуживании, что может привести к получению серьезной травмы. Прежде чем приступать к обслуживанию (в том числе к снятию, установке, осмотру или замене деталей), изучите меры предосторожности при работе с системой SRS (см. стр. Click here).

  4. РЕМОНТ ШИНЫ


    1. A004W8K

      После устранения обрыва на шине путем пайки оберните восстановленный участок изоляционной лентой.

      Note


      • Линии шины CANL и CANH всегда следует устанавливать вместе.

      • При установке убедитесь, что эти провода свиты. В противном случае шина CAN будет подвержена влиянию электрических помех.

      • Длины линий CANL и CANH должны различаться не более чем на 100 мм (3,937 дюйма).

      • Оставьте рядом с разъемом свободный участок нескрученных проводов длиной приблизительно 80 мм (3,150 дюйма).

    2. A004X15E01
      Обозначения на рисунке
      *a Обходной провод

      Запрещается соединять разъемы обходными проводами.

      Note

      При использовании обходных проводов теряется способность скрученных проводов шины противостоять помехам.

  5. КАК ОБРАЩАТЬСЯ С РАЗЪЕМАМИ


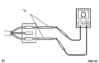
    1. A004YN1E28
      Обозначения на рисунке
      *a Щуп портативного диагностического прибора

      При измерении сопротивления щупы измерительного прибора следует вставлять с задней стороны разъема (со стороны жгута проводов).

    2. A004X87E02
      Обозначения на рисунке
      *a Технологический провод

      Если определить электропроводность с задней стороны разъема невозможно, используйте для измерения технологические провода.

  6. МЕРЫ ПРЕДОСТОРОЖНОСТИ ПРИ ПРОВЕРКЕ И ЗАМЕНЕ РАЗЪЕМОВ CAN РАСПРЕДЕЛИТЕЛЬНОГО БЛОКА


    1. При отсоединении разъема CAN распределительного блока в целях проверки или замены, после соответствующей проверки или замены обязательно присоедините разъем CAN распределительного блока и все провода жгута проводов на места и закрепите их лентой и зажимами.