ПЕРЕКЛЮЧАТЕЛИ НА РУЛЕВОМ КОЛЕСЕ ПРОВЕРКА

ПОРЯДОК ВЫПОЛНЕНИЯ


  1. ПРОВЕРЬТЕ ПЕРЕКЛЮЧАТЕЛЬ НА РУЛЕВОМ КОЛЕСЕ В СБОРЕ (для моделей с переключателем DISP)


    1. Измерьте сопротивление в соответствии со значениями, приведенными в таблице ниже.

      A004X0KE02
      Номинальное сопротивление
      Контакты для подключения диагностического прибора Условие Заданные условия
      z4-1 (HO) - A-1 (HO) Всегда Менее 2,5 Ом
      z4-4 (DIST) - z4-7 (ECC) Ни один из переключателей не нажат 1 МОм или более
      Переключатель контроля дистанции нажат*1 Менее 2,5 Ом
      z4-2 (+DP) - z4-3 (-DP) Ни один из переключателей не нажат 1 МОм или более
      Переключатель DISP нажат Менее 2,5 Ом
      z4-11 (AU1) - z4-8 (EAU) Ни один из переключателей не нажат 95 – 105 кОм
      Нажатие переключателя SEEK+ (поиск+) Менее 2,5 Ом
      Нажатие выключателя SEEK- (поиск-) 313 - 345 Ом
      Нажатие выключателя VOL+ (громкость+) 950 - 1050 Ом
      Нажатие переключателя VOL- (громкость-) 2955 - 3265 Ом
      z4-10 (AU2) - z4-8 (EAU) Ни один из переключателей не нажат 95 – 105 кОм
      Нажатие переключателя MODE (режим) Менее 2,5 Ом
      Переключатель Voice (голос) нажат*2 2955 - 3265 Ом
      Переключатель On hook (отключение от линии) нажат*2 313 - 345 Ом
      Переключатель Off Hook (подключение к линии) нажат*2 950 - 1050 Ом
      z4-6 (SUP) - z5-1 (SUP) Всегда Менее 2,5 Ом
      z4-7 (ECC) - z5-3 (ECC) Всегда Менее 2,5 Ом
      z4-12 (SDN) - z5-2 (SDN) Всегда Менее 2,5 Ом

      • *1: Для моделей с динамической радарной системой круиз-контроля

      • *2: для моделей с микрофоном телефона в сборе

      Tech Tips

      Если результат проверки не отвечает требованиям, замените переключатели на рулевом колесе.

      Обозначения на рисунке
      *A для моделей с микрофоном телефона в сборе *B Для моделей с динамической радарной системой круиз-контроля
      *a

      Устройство с неподсоединенным жгутом проводов

      (переключатели на рулевом колесе в сборе)

      *b MODE
      *c Volume+ (увеличение громкости) *d Volume- (уменьшение громкости)
      *e Seek+ (поиск вверх) *f Seek- (поиск вниз)
      *g DISP *h Voice (голос)
      *i Подключение к линии *j Отключение от линии
      *k Контроль дистанции - -
    2. Проверьте подсветку.

      A004Z0IE04

      1. Отсоедините разъем переключателя на рулевом колесе.

      2. Убедитесь, что переключатель на рулевом колесе светится в соответствии со следующей таблицей.

        OK
        Условие Заданные условия

        Положительный (+) вывод вспомогательной аккумуляторной батареи → 5 (IL+2)

        Отрицательный (-) вывод вспомогательной аккумуляторной батареи → 8 (EAU)

        Включается подсветка левого переключателя на рулевом колесе

        Положительный (+) вывод вспомогательной аккумуляторной батареи → 5 (IL+2)

        Отрицательный (-) вывод вспомогательной аккумуляторной батареи → 3 (-DP)

        Включается подсветка правого переключателя на рулевом колесе

        Tech Tips

        Если результат проверки не отвечает требованиям, замените переключатели на рулевом колесе.

        Обозначения на рисунке
        *a

        Устройство с неподсоединенным жгутом проводов

        (переключатели на рулевом колесе в сборе)

        - -
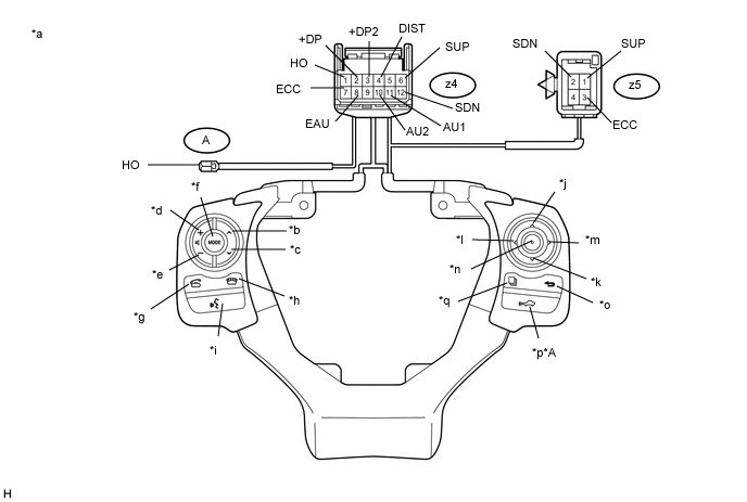
  2. ПРОВЕРЬТЕ ПЕРЕКЛЮЧАТЕЛЬ НА РУЛЕВОМ КОЛЕСЕ В СБОРЕ (для моделей без переключателя DISP)


    1. Измерьте сопротивление в соответствии со значениями, приведенными в таблице ниже.

      A004XTCE02
      Номинальное сопротивление
      Подключение диагностического прибора Условие Номинальное значение
      z4-1 (HO) - A-1 (HO) Всегда Менее 2,5 Ом
      z4-4 (DIST) - z4-7 (ECC) Ни один из переключателей не нажат 1 МОм или более
      Переключатель контроля дистанции нажат*1 Менее 2,5 Ом
      z4-11 (AU1) - z4-8 (EAU) Ни один из переключателей не нажат 95-105 кОм
      Нажатие переключателя SEEK+ (поиск+) Менее 2,5 Ом
      Нажатие выключателя SEEK- (поиск-) 313 – 345 Ом
      Нажатие выключателя VOL+ (громкость+) 950 - 1050 Ом
      Нажатие переключателя VOL- (громкость-) 2955 – 3265 Ом
      z4-10 (AU2) - z4-8 (EAU) Ни один из переключателей не нажат 95-105 кОм
      Нажатие переключателя MODE (режим) Менее 2,5 Ом
      Нажатие выключателя VOICE (голос) 2955 – 3265 Ом
      Нажатие выключателя ON HOOK (подключение к линии) 313 – 345 Ом
      Нажатие выключателя OFF HOOK (отключение от линии) 950 - 1050 Ом
      z4-2 (+DP) - z4-8 (EAU) Ни один из переключателей не нажат 95-105 кОм
      Нажат переключатель ENTER Менее 2,5 Ом
      Переключатель Top (верхний) нажат 313 – 345 Ом
      Нажат переключатель BACK (назад) 950 - 1050 Ом
      z4-3 (+DP2) - z4-8 (EAU) Ни один из переключателей не нажат 95-105 кОм
      Переключатель "влево" нажат Менее 2,5 Ом
      Переключатель "вверх" нажат 313 – 345 Ом
      Переключатель "вниз" нажат 950 - 1050 Ом
      Переключатель "вправо" нажат 2955 – 3265 Ом
      z4-6 (SUP) - z5-1 (SUP) Всегда Менее 2,5 Ом
      z4-7 (ECC) - z5-3 (ECC) Всегда Менее 2,5 Ом
      z4-12 (SDN) - z5-2 (SDN) Всегда Менее 2,5 Ом

      • *1: Для моделей с динамической радарной системой круиз-контроля

      Tech Tips

      Если результат проверки не отвечает требованиям, замените переключатели на рулевом колесе.

      Обозначения на рисунке
      *A Для моделей с динамической радарной системой круиз-контроля - -
      *a

      Устройство с неподсоединенным жгутом проводов

      (переключатели на рулевом колесе в сборе)

      *b Seek+ (поиск вверх)
      *c Seek- (поиск вниз) *d Volume+ (увеличение громкости)
      *e Volume- (уменьшение громкости) *f MODE
      *g Подключение к линии *h Отключение от линии
      *i Голос *j Вверх
      *k Вниз *l Влево
      *m Вправо *n Ввод
      *o назад *p Контроль дистанции
      *q Верх - -
    2. Проверьте подсветку

      B001MNTE02

      1. Подсоедините положительный (+) вывод аккумуляторной батареи к контакту 5 (IL+2), а отрицательный (-) – к контакту 8 (EAU) разъема переключателя на рулевом колесе в сборе.

      2. Убедитесь, что подсветка переключателя включается.

        OK
        Подсветка переключателя на рулевом колесе на включается.

        Tech Tips

        Если результат проверки не отвечает требованиям, замените переключатели на рулевом колесе.

        Обозначения на рисунке
        *a

        Устройство с неподсоединенным жгутом проводов

        (переключатели на рулевом колесе в сборе)

        - -