ILLUSTRATION
| *A | for LHD | *B | for Halogen Headlight |
| *C | for LED Headlight | *D | w/ Automatic High Beam System |
| *E | w/ Front Fog Light | - | - |
| *1 | SIDE TURN SIGNAL LIGHT ASSEMBLY LH | *2 | SIDE TURN SIGNAL LIGHT ASSEMBLY RH |
| *3 | HEADLIGHT ASSEMBLY LH - HEADLIGHT UNIT LH - HEADLIGHT LEVELING MOTOR LH |
*4 | HEADLIGHT ASSEMBLY RH - HEADLIGHT UNIT RH - HEADLIGHT LEVELING MOTOR RH |
| *5 | HEADLIGHT ASSEMBLY LH - HEADLIGHT UNIT ASSEMBLY LH - HEADLIGHT UNIT LH - HEADLIGHT LENS LH - HEADLIGHT LEVELING MOTOR LH - FRONT TURN SIGNAL LIGHT SOCKET AND WIRE |
*6 | HEADLIGHT ASSEMBLY RH - HEADLIGHT UNIT ASSEMBLY RH - HEADLIGHT UNIT RH - HEADLIGHT LENS RH - HEADLIGHT LEVELING MOTOR RH - FRONT TURN SIGNAL LIGHT SOCKET AND WIRE |
| *7 | FOG LIGHT ASSEMBLY LH | *8 | FOG LIGHT ASSEMBLY RH |
| *9 | SKID CONTROL ECU (BRAKE BOOSTER WITH MASTER CYLINDER ASSEMBLY) | *10 | ENGINE ROOM RELAY BLOCK - DRL RELAY - DIM RELAY - DRL FUSE - P/I 2 FUSE - ECU-B FUSE (except Europe) - H-LP LH HI FUSE - H-LP RH HI FUSE - H-LP HI MAIN FUSE - TURN & HAZ FUSE - DC/DC FUSE |
| *11 | FORWARD RECOGNITION CAMERA | *12 | REAR HEIGHT CONTROL SENSOR SUB-ASSEMBLY |
| *13 | NO. 1 INTEGRATION RELAY | - | - |
ILLUSTRATION
| *A | for RHD | *B | for Halogen Headlight |
| *C | for LED Headlight | *D | w/ Automatic High Beam System |
| *E | w/ Front Fog Light | - | - |
| *1 | SIDE TURN SIGNAL LIGHT ASSEMBLY LH | *2 | SIDE TURN SIGNAL LIGHT ASSEMBLY RH |
| *3 | HEADLIGHT ASSEMBLY LH - HEADLIGHT UNIT LH - HEADLIGHT LEVELING MOTOR LH |
*4 | HEADLIGHT ASSEMBLY RH - HEADLIGHT UNIT RH - HEADLIGHT LEVELING MOTOR RH |
| *5 | HEADLIGHT ASSEMBLY LH - HEADLIGHT UNIT ASSEMBLY LH - HEADLIGHT UNIT LH - HEADLIGHT LENS LH - HEADLIGHT LEVELING MOTOR LH - FRONT TURN SIGNAL LIGHT SOCKET AND WIRE |
*6 | HEADLIGHT ASSEMBLY RH - HEADLIGHT UNIT ASSEMBLY RH - HEADLIGHT UNIT RH - HEADLIGHT LENS RH - HEADLIGHT LEVELING MOTOR RH - FRONT TURN SIGNAL LIGHT SOCKET AND WIRE |
| *7 | FOG LIGHT ASSEMBLY LH | *8 | FOG LIGHT ASSEMBLY RH |
| *9 | SKID CONTROL ECU (BRAKE BOOSTER WITH MASTER CYLINDER ASSEMBLY) | *10 | ENGINE ROOM RELAY BLOCK - DRL RELAY - DIM RELAY - DRL FUSE - P/I 2 FUSE - H-LP LH HI FUSE - H-LP RH HI FUSE - H-LP HI MAIN FUSE - TURN & HAZ FUSE - DC/DC FUSE |
| *11 | FORWARD RECOGNITION CAMERA | *12 | REAR HEIGHT CONTROL SENSOR SUB-ASSEMBLY |
| *13 | NO. 1 INTEGRATION RELAY | - | - |
ILLUSTRATION
| *A | w/ Seat Position Memory | - | - |
| *1 | CENTER STOP LIGHT ASSEMBLY | *2 | RADIO SETTING CONDENSER |
| *3 | REAR COMBINATION LIGHT ASSEMBLY LH - REAR COMBINATION LIGHT LENS AND BODY LH - REAR COMBINATION LIGHT LED |
*4 | REAR COMBINATION LIGHT ASSEMBLY RH - REAR COMBINATION LIGHT LENS AND BODY RH - REAR COMBINATION LIGHT LED |
| *5 | REAR LIGHT ASSEMBLY LH - REAR LIGHT LENS AND BODY LH - REAR LIGHT LED - REAR LIGHT SOCKET AND WIRE LH |
*6 | REAR LIGHT ASSEMBLY RH - REAR LIGHT LENS AND BODY RH - REAR LIGHT LED - REAR LIGHT SOCKET AND WIRE RH |
| *7 | LICENSE PLATE LIGHT ASSEMBLY LH | *8 | LICENSE PLATE LIGHT ASSEMBLY RH |
| *9 | OUTER REAR VIEW MIRROR ASSEMBLY LH | *10 | OUTER REAR VIEW MIRROR ASSEMBLY RH |
| *11 | OUTER MIRROR CONTROL ECU ASSEMBLY (for LH) | *12 | OUTER MIRROR CONTROL ECU ASSEMBLY (for RH) |
| *13 | NO. 2 FUSE BLOCK - ECU-B NO. 4 FUSE (for LHD Europe, for RHD) |
- | - |
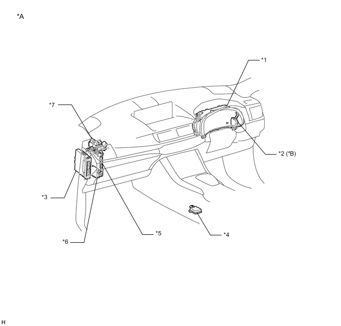
ILLUSTRATION
| *A | for LHD | *B | for Halogen Headlight |
| *C | w/ Automatic High Beam System | *D | w/ Vehicle Proximity Notification System |
| *E | w/o Vehicle Proximity Notification System | - | - |
| *1 | AUTOMATIC LIGHT CONTROL SENSOR | *2 | STOP LIGHT SWITCH ASSEMBLY |
| *3 | TURN SIGNAL FLASHER ASSEMBLY | *4 | HAZARD WARNING SIGNAL SWITCH ASSEMBLY |
| *5 | HEADLIGHT DIMMER SWITCH ASSEMBLY | *6 | HEADLIGHT LEVELING SWITCH |
| *7 | PARKING BRAKE SWITCH ASSEMBLY | *8 | AUTO HIGH BEAM SWITCH |
| *9 | DLC3 | *10 | STOP LIGHT CONTROL ECU ASSEMBLY |
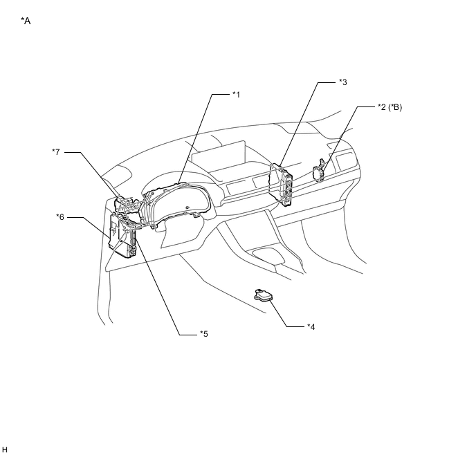
ILLUSTRATION
| *A | for LHD | *B | for LED Headlight |
| *1 | COMBINATION METER ASSEMBLY | *2 | HEADLIGHT LEVELING ECU ASSEMBLY |
| *3 | POWER MANAGEMENT CONTROL ECU | *4 | YAW RATE SENSOR |
| *5 | MAIN BODY ECU (MULTIPLEX NETWORK BODY ECU) | *6 | INSTRUMENT PANEL JUNCTION BLOCK ASSEMBLY - TAIL RELAY - FR FOG RELAY (w/ Front Fog Light) - FR FOG FUSE (w/ Front Fog Light) - RR FOG FUSE (w/ Rear Fog Light) - D FR DOOR FUSE - P FR DOOR FUSE - TAIL FUSE - STOP FUSE - GAUGE FUSE - DOOR NO. 1 FUSE - ECU-IG NO. 2 FUSE - ECU-IG NO. 3 FUSE |
| *7 | NO. 4 RELAY BLOCK - RR FOG RELAY (w/ Rear Fog Light) |
- | - |
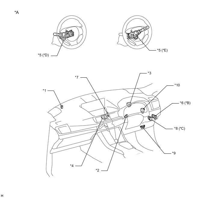
ILLUSTRATION
| *A | for RHD | *B | for Halogen Headlight |
| *C | w/ Automatic High Beam System | *D | for Light Control Switch LH Side Type |
| *E | for Light Control Switch RH Side Type | - | - |
| *1 | AUTOMATIC LIGHT CONTROL SENSOR | *2 | STOP LIGHT SWITCH ASSEMBLY |
| *3 | TURN SIGNAL FLASHER ASSEMBLY | *4 | HAZARD WARNING SIGNAL SWITCH ASSEMBLY |
| *5 | HEADLIGHT DIMMER SWITCH ASSEMBLY | *6 | HEADLIGHT LEVELING SWITCH |
| *7 | PARKING BRAKE SWITCH ASSEMBLY | *8 | AUTO HIGH BEAM SWITCH |
| *9 | DLC3 | *10 | STOP LIGHT CONTROL ECU ASSEMBLY |
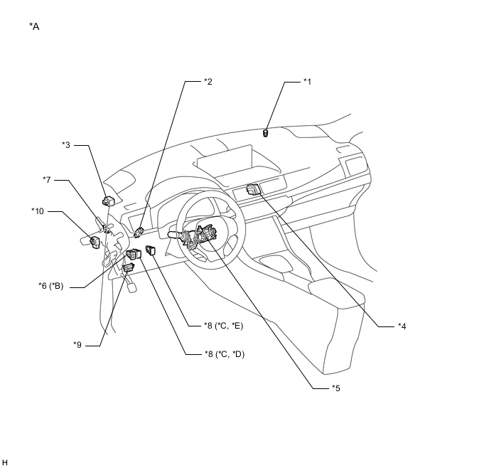
ILLUSTRATION
| *A | for RHD | *B | for LED Headlight |
| *1 | COMBINATION METER ASSEMBLY | *2 | HEADLIGHT LEVELING ECU ASSEMBLY |
| *3 | POWER MANAGEMENT CONTROL ECU | *4 | YAW RATE SENSOR |
| *5 | MAIN BODY ECU (MULTIPLEX NETWORK BODY ECU) | *6 | INSTRUMENT PANEL JUNCTION BLOCK ASSEMBLY - TAIL RELAY - FR FOG RELAY (w/ Front Fog Light) - FR FOG FUSE (w/ Front Fog Light) - RR FOG FUSE (w/ Rear Fog Light) - D FR DOOR FUSE - P FR DOOR FUSE - TAIL FUSE - STOP FUSE - GAUGE FUSE - DOOR NO. 1 FUSE - ECU-IG NO. 2 FUSE - ECU-IG NO. 3 FUSE |
| *7 | NO. 3 RELAY BLOCK - RR FOG RELAY (w/ Rear Fog Light) |
- | - |