ЗАДНЕЕ НЕОПУСКНОЕ СТЕКЛО УСТАНОВКА


  1. ОЧИСТИТЕ НЕОПУСКНОЕ СТЕКЛО


    1. A003HU5E02

      С помощью скребка удалите распорные детали, фиксаторы, уплотнитель и герметик с заднего неопускного стекла.

    2. Очистите наружные края заднего неопускного стекла не оставляющим осадка растворителем.

      Note


      • Не прикасайтесь к поверхности после очистки.

      • Даже при использовании нового заднего неопускного стекла его следует очистить не оставляющим осадка растворителем.

  2. ОЧИСТИТЕ ПОВЕРХНОСТЬ КУЗОВА АВТОМОБИЛЯ


    1. A003BJHE13
      Обозначения на рисунке
      *1 Герметик
      *2 Кузов автомобиля

      Очистите и сформируйте поверхность соприкосновения кузова.


      1. С помощью ножа срежьте все неровные участки герметика с поверхности контакта на кузове автомобиля, как показано на рисунке.

        Tech Tips

        Следует оставлять максимально возможное количество герметика на кузове автомобиля.

        Note

        Соблюдайте осторожность, чтобы не повредить кузов автомобиля.

      2. Очистите поверхность контакта на кузове техническим бензином.

        Tech Tips

        Кузов автомобиля следует очистить, даже если удален весь герметик.

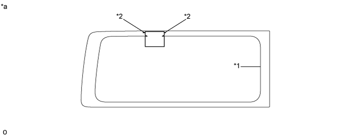
  3. УСТАНОВИТЕ РАСПОРНУЮ ДЕТАЛЬ ЛЕВОГО НЕОПУСКНОГО СТЕКЛА


    1. A003DBKE02
      Обозначения на рисунке
      *1 Распорная деталь заднего неопускного стекла
      *a Задняя сторона

      Нанесите грунтовку "G" на стекло в местах, где предполагается разместить распорные детали неопускного стекла.

      Tech Tips

      При случайном попадании грунтовки "G" на поверхность, не нуждающуюся в такой обработке, удалите грунтовку до ее высыхания с помощью не оставляющего осадка растворителя.

      Note


      • Просушите грунтовочное покрытие G в течение, по крайней мере, 3 минут.

      • Остатки грунтовки "G" необходимо выбросить.

      • Не наносите слишком много грунтовки.

    2. Установите 2 новых распорных детали на заднее неопускное стекло, как показано на рисунке.

  4. УСТАНОВИТЕ ФИКСАТОР ЛЕВОГО ЗАДНЕГО БОКОВОГО СТЕКЛА


    1. Нанесите грунтовку "G" на стекло в местах, где предполагается разместить фиксатор заднего бокового стекла.

      Tech Tips

      При случайном попадании грунтовки "G" на поверхность, не нуждающуюся в такой обработке, удалите грунтовку до ее высыхания с помощью не оставляющего осадка растворителя.

      Note


      • Просушите грунтовочное покрытие G в течение, по крайней мере, 3 минут.

      • Остатки грунтовки "G" необходимо выбросить.

      • Не наносите слишком много грунтовки.

  5. УСТАНОВИТЕ КЛЕЙКИЙ УПЛОТНИТЕЛЬ СТЕКЛА ЛЕВОЙ ЗАДНЕЙ ДВЕРИ № 1


    1. Нанесите грунтовку "G" на стекло в местах, где предполагается разместить клейкий уплотнитель стекла задней двери № 1.

      Tech Tips

      При случайном попадании грунтовки "G" на поверхность, не нуждающуюся в такой обработке, удалите грунтовку до ее высыхания с помощью не оставляющего осадка растворителя.

      Note


      • Просушите грунтовочное покрытие G в течение, по крайней мере, 3 минут.

      • Остатки грунтовки "G" необходимо выбросить.

      • Не наносите слишком много грунтовки.

  6. УСТАНОВИТЕ УСТАНОВОЧНУЮ ПЛАСТИНУ УПЛОТНИТЕЛЯ СТЕКЛА ЛЕВОЙ ЗАДНЕЙ ДВЕРИ (для моделей с установочной пластиной уплотнителя стекла)

    Note

    Обязательно заменяйте установочную пластину уплотнителя стекла левой задней двери новой.


    1. A003CRXE01
      Обозначения на рисунке
      *a Разметочная линия

      Нанесите грунтовку на установочную область в пределах разметочной линии установочной пластины уплотнителя стекла левой задней двери, как показано на рисунке.

      Note

      Не наносите слишком много грунтовки.

    2. Нанесите герметик на установочную пластину уплотнителя стекла левой задней двери, как показано на рисунке.

      A003D58E01
      Обозначения на рисунке
      *a Установочное положение: Центральный, задний *b Установочное положение: Передний
      *c Герметик - -
      Номинальное значение / Номинальный режим
      Область Заданные условия
      a 14,0 мм (0,552 дюйма)
      b 10,0 мм (0,394 дюйма)

      Note

      Остатки грунтовки необходимо выбросить.

    3. Снимите отслаивающуюся бумагу с поверхности установочной пластины уплотнителя стекла левой задней двери.

    4. Задайте положение, как показано на рисунке, и установите установочную пластину уплотнителя стекла левой задней двери в область, ограниченную разметочной линией.

      A003BZRE01
      Обозначения на рисунке
      *a Разметочная линия *b Приподняв поверхность, к которой приклеена двусторонняя клейкая лента, обеспечьте соприкосновение с нижней поверхностью направляющей.
      *c При соприкосновении с нижней поверхностью направляющей, поверните и приклейте двустороннюю клейкую ленту. - -

      Tech Tips


      • Положение для установки в продольном направлении: Установите в область в пределах разметочных линий.

      • Верхнее и нижнее положение: Обеспечьте касание с нижней поверхностью направляющей и установите.

    5. После застывания герметика налейте небольшое количество воды в направляющий водный канал, соблюдая осторожность, чтобы не пролить ее, и убедитесь, что вода вытекает из нижней части установочной пластины уплотнителя стекла левой задней двери.

      A003HN9E01
      Обозначения на рисунке
      *a Канал отвода воды *b ОК: Вода вытекает только из нижнего конца
  7. УСТАНОВИТЕ ЗАДНЕЕ НЕОПУСКНОЕ СТЕКЛО


    1. A003EKNE02
      Обозначения на рисунке
      *A ПРАВИЛЬНО
      *B НЕПРАВИЛЬНО
      *1 Грунтовка "M"
      *2 Герметик

      С помощью кисти или губки нанесите грунтовку "M" на открытые поверхности кузова автомобиля.

      Note


      • Просушите грунтовочное покрытие M в течение, по крайней мере, 3 минут.

      • Не следует наносить грунтовку "M" на герметик.

      • Остатки грунтовки "M" необходимо выбросить.

      • Не наносите чрезмерное количество грунтовки "M".

    2. С помощью кисти или губки нанесите грунтовку "G" на поверхности соприкосновения заднего неопускного стекла.

      A003AJRE02
      Обозначения на рисунке
      *A ПРАВАЯ ДВЕРЬ 5 *B ПРАВАЯ ДВЕРЬ 4
      *1 Грунтовка "G" *2 Центральная линия герметика-фиксатора
      *a Задняя сторона - -

      Tech Tips

      При случайном попадании грунтовки "G" на поверхность, не нуждающуюся в такой обработке, удалите грунтовку до ее высыхания с помощью не оставляющего осадка растворителя.

      Note


      • Просушите грунтовочное покрытие G в течение, по крайней мере, 3 минут.

      • Остатки грунтовки "G" необходимо выбросить.

      • Не наносите слишком много грунтовки.

    3. Нанесите герметик на заднее неопускное стекло.

      Герметик
      Фирменный герметик для ветровых стекол компании Тойота или аналогичный

      1. A003I42E02

        Срежьте кончик наконечника баллона, как показано на рисунке.

        Технические характеристики
        Область Измерение
        a 12,0 мм (0,472 дюйма)
        b 8,0 мм (0,315 дюйма)

        Tech Tips

        После этого весь герметик следует использовать в течение времени, указанного в таблице ниже.

        Время использования
        Температура Время использования
        35°C (95°F) 15 мин
        20°C (68°F) 1 час 40 минут
        5°C (41°F) 8 часов
      2. Вставьте баллон в пистолет для нанесения герметизирующего состава.

      3. Нанесите герметик на стекло двери багажного отделения, как показано на рисунке.

        A003E62E01
        Обозначения на рисунке
        *A ПРАВАЯ ДВЕРЬ 5 *B ПРАВАЯ ДВЕРЬ 4
        *C Для моделей с установочной пластиной уплотнителя стекла - -
        *1 Герметик *2 Центральная линия герметика-фиксатора
        *3 Герметик EPT - -
        *a Задняя сторона - -
        Технические характеристики
        Область Измерение
        a 12,0 мм (0,472 дюйма)
        b 8,0 мм (0,315 дюйма)
        c 11,5 мм (0,452 дюйма)
        d 14,6 мм (0,574 дюйма)
        e 6,0 мм (0,236 дюйма)
    4. Установите заднее неопускное стекло на кузов автомобиля.


      1. Аккуратно надавите на заднее неопускное стекло спереди, чтобы гарантировать его надежную фиксацию на кузове.

        Note


        • Убедитесь, что распорные детали правильно присоединены к кузову.

        • Убедитесь, что между кузовом и задним неопускным стеклом имеется небольшой зазор.

      2. Надежно зафиксируйте заднее неопускное стекло на месте с помощью защитной клейкой ленты или аналогичного средства до тех пор, пока фиксатор не затвердеет.

        Note

        Не приводите автомобиль в движение в течение времени, указанного в таблице ниже.

        Минимальное время
        Температура Минимальный период времени до движения автомобиля
        35°C (95°F) 1 час 30 минут
        20°C (68°F) 5 часов
        5°C (41°F) 24 часа
  8. УСТАНОВИТЕ ПРЕДУПРЕДИТЕЛЬНУЮ ТАБЛИЧКУ АВАРИЙНОГО МОЛОТКА (для моделей с предупредительной табличкой аварийного молотка)


    1. Для типа A:

      Tech Tips

      Только для правой стороны.


      1. Установите предупредительную табличку аварийного молотка, как показано на рисунке.

        A003HE5E01
        Обозначения на рисунке
        *1 Керамическая линия *2 Керамический паз
        *a Задняя сторона - -
    2. Для типа B:

      Tech Tips

      Только для левой стороны.


      1. Установите предупредительную табличку аварийного молотка, как показано на рисунке.

        A003H30E01
        Обозначения на рисунке
        *1 Керамическая линия *2 Керамический паз
        *a Задняя сторона - -
    3. Снимите отслаивающуюся ленту.

  9. ПРОВЕРЬТЕ, НЕТ ЛИ УТЕЧЕК; УСТРАНИТЕ ИХ, ЕСЛИ ОНИ ЕСТЬ


    1. Испытание на герметичность выполняйте после того, как герметик полностью затвердеет.

  10. УСТАНОВИТЕ ЛЕВУЮ ВЕРХНЮЮ ВНУТРЕННЮЮ БОКОВУЮ ОБЛИЦОВКУ КРЫШИ

  11. УСТАНОВИТЕ ОБИВКУ ЛЕВОЙ ЗАДНЕЙ БОКОВОЙ СТОЙКИ

  12. УСТАНОВИТЕ ЛЕВУЮ ЗАДНЮЮ НАРУЖНУЮ ОБЛИЦОВОЧНУЮ ПАНЕЛЬ В СБОРЕ

  13. УСТАНОВИТЕ УПЛОТНИТЕЛЬ ДВЕРИ БАГАЖНОГО ОТДЕЛЕНИЯ

  14. УСТАНОВИТЕ ОПОРНУЮ НАКЛАДКУ ДВЕРИ БАГАЖНОГО ОТДЕЛЕНИЯ

  15. ПОДСОЕДИНИТЕ ЛЕВЫЙ ПЕРЕДНИЙ РЕМЕНЬ С КАТУШКОЙ И ПРЕДНАТЯЖИТЕЛЕМ В СБОРЕ


    1. A003C9J

      Подсоедините правый передний ремень безопасности с катушкой и преднатяжителем в сборе и закрепите его болтом.

      Torque:
      42 Н*м  { 428 кгс*см, 31 фунт-сила-фут }
    2. A003EIR

      Введите в зацепление 2 захвата, чтобы закрыть крышку.

    3. A003E32

      Подсоедините правый передний ремень безопасности с катушкой и преднатяжителем в сборе и закрепите его болтом.

      Torque:
      42 Н*м  { 428 кгс*см, 31 фунт-сила-фут }