CAN COMMUNICATION SYSTEM AFS ECU Communication Stop Mode

DESCRIPTION

Detection Item Symptom Trouble Area
AFS ECU Communication Stop Mode

Either condition is met:


  • "Headlight swivel (AFS)" is not displayed on the "Bus Check" screen.

  • "AFS ECU Communication Stop Mode" in "DTC Communication Table" applies.


  • Power source or inside of headlight swivel ECU assembly (AFS ECU)

  • Headlight swivel ECU assembly (AFS ECU) CAN branch wire or connector

  • Headlight swivel ECU assembly (AFS ECU)


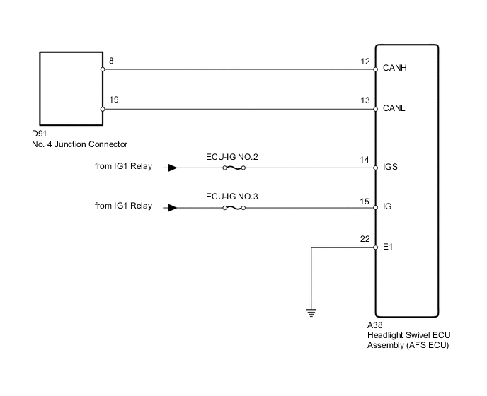
WIRING DIAGRAM

A004U6KE18

CAUTION / NOTICE / HINT

Note

Inspect the fuses for circuits related to this system before performing the following inspection procedure.

Tech Tips

Operating the ignition switch, any switches or any doors triggers related ECU and sensor communication with the CAN, which causes resistance variation.

PROCEDURE


  1. PRECAUTION

    Note

    After turning the ignition switch off, waiting time may be required before disconnecting the cable from the battery terminal. Therefore, make sure to read the disconnecting the cable from the battery terminal notice before proceeding with work Click here.


    NEXT
  2. DISCONNECT CABLE FROM NEGATIVE BATTERY TERMINAL


    1. Disconnect the cable from the negative (-) battery terminal before measuring the resistances of the CAN main wire and the CAN branch wire.

      CAUTION:

      Wait at least 90 seconds after disconnecting the cable from the negative (-) battery terminal to disable the SRS system.

      Note

      When disconnecting the cable, some systems need to be initialized after the cable is reconnected Click here.


    NEXT
  3. CHECK FOR OPEN IN CAN BUS WIRE (HEADLIGHT SWIVEL ECU ASSEMBLY CAN BRANCH WIRE)


    1. A004TIEE02
      Text in Illustration
      *a

      Rear view of wire harness connector

      (to Headlight Swivel ECU Assembly [AFS ECU])

      Disconnect the A38 headlight swivel ECU assembly (AFS ECU) connector.

    2. Measure the resistance according to the value(s) in the table below.

      Standard Resistance
      Tester Connection Switch Condition Specified Condition
      A38-12 (CANH) - A38-13 (CANL) Ignition switch off 54 to 69 Ω

    NG
    OK
  4. CHECK HARNESS AND CONNECTOR (HEADLIGHT SWIVEL ECU ASSEMBLY - BATTERY AND BODY GROUND)


    1. A004QIQE02
      Text in Illustration
      *a

      Rear view of wire harness connector

      (to Headlight Swivel ECU Assembly [AFS ECU])

      Connect the cable to the negative (-) battery terminal.

      Note

      When disconnecting the cable, some systems need to be initialized after the cable is reconnected Click here.

    2. Measure the voltage according to the value(s) in the table below.

      Standard Voltage
      Tester Connection Switch Condition Specified Condition
      A38-14 (IGS) - Body ground Ignition switch ON 11 to 14 V
      A38-15 (IG) - Body ground Ignition switch ON 11 to 14 V
    3. Measure the resistance according to the value(s) in the table below.

      Standard Resistance
      Tester Connection Condition Specified Condition
      A38-22 (E1) - Body ground Always Below 1 Ω

    OK
    NG