CAN COMMUNICATION SYSTEM, Diagnostic DTC:U0208

DTC Code DTC Name
U0208 Lost Communication with "Seat Control Module A"

DESCRIPTION

DTC Code DTC Detection Condition Trouble Area
U0208 There is no communication from the position control ECU assembly.
  • Power source or inside of position control ECU assembly

  • Position control ECU assembly CAN branch wire or connector

  • Position control ECU assembly


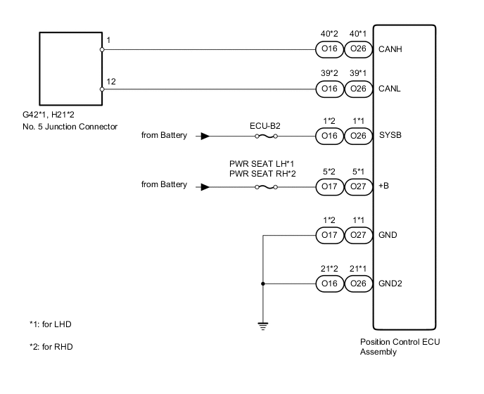
WIRING DIAGRAM

A004Q3UE02

CAUTION / NOTICE / HINT

Note

Inspect the fuses for circuits related to this system before performing the following inspection procedure.

Tech Tips

Operating the ignition switch, any switches or any doors triggers related ECU and sensor communication with the CAN, which causes resistance variation.

PROCEDURE


  1. PRECAUTION

    Note

    After turning the ignition switch off, waiting time may be required before disconnecting the cable from the battery terminal. Therefore, make sure to read the disconnecting the cable from the battery terminal notice before proceeding with work Click here.


    NEXT
  2. DISCONNECT CABLE FROM NEGATIVE BATTERY TERMINAL


    1. Disconnect the cable from the negative (-) battery terminal before measuring the resistances of the CAN main wire and the CAN branch wire.

      CAUTION:

      Wait at least 90 seconds after disconnecting the cable from the negative (-) battery terminal to disable the SRS system.

      Note

      When disconnecting the cable, some systems need to be initialized after the cable is reconnected Click here.


    NEXT
  3. CHECK FOR OPEN IN CAN BUS WIRE (POSITION CONTROL ECU ASSEMBLY CAN BRANCH WIRE)


    1. A004QFPE02
      Text in Illustration
      *A for LHD
      *B for RHD
      *a

      Rear view of wire harness connector

      (to Position Control ECU Assembly)

      Disconnect the O26*1 or O16*2 position control ECU assembly connector.


      • *1: for LHD

      • *2: for RHD

    2. Measure the resistance according to the value(s) in the table below.

      Standard Resistance
      for LHD
      Tester Connection Switch Condition Specified Condition
      O26-40 (CANH) - O26-39 (CANL) Ignition switch off 54 to 69 Ω
      for RHD
      Tester Connection Switch Condition Specified Condition
      O16-40 (CANH) - O16-39 (CANL) Ignition switch off 54 to 69 Ω

    NG
    OK
  4. CHECK HARNESS AND CONNECTOR (POSITION CONTROL ECU ASSEMBLY - BATTERY AND BODY GROUND)


    1. A004TEFE02
      Text in Illustration
      *A for LHD
      *B for RHD
      *a

      Rear view of wire harness connector

      (to Position Control ECU Assembly)

      Connect the cable to the negative (-) battery terminal.

      Note

      When disconnecting the cable, some systems need to be initialized after the cable is reconnected Click here.

    2. Disconnect the O27*1 or O17*2 position control ECU assembly connector.


      • *1: for LHD

      • *2: for RHD

    3. Measure the voltage according to the value(s) in the table below.

      Standard Voltage
      for LHD
      Tester Connection Condition Specified Condition
      O26-1 (SYSB) - Body ground Always 11 to 14 V
      O27-5 (+B) - Body ground Always 11 to 14 V
      for RHD
      Tester Connection Condition Specified Condition
      O16-1 (SYSB) - Body ground Always 11 to 14 V
      O17-5 (+B) - Body ground Always 11 to 14 V
    4. Measure the resistance according to the value(s) in the table below.

      Standard Resistance
      for LHD
      Tester Connection Condition Specified Condition
      O26-21 (GND2) - Body ground Always Below 1 Ω
      O27-1 (GND) - Body ground Always Below 1 Ω
      for RHD
      Tester Connection Condition Specified Condition
      O16-21 (GND2) - Body ground Always Below 1 Ω
      O17-1 (GND) - Body ground Always Below 1 Ω

    OK
    NG