| DTC Code | DTC Name |
|---|---|
| B1249 | Double Locking ECU Communication Stop |
DESCRIPTION
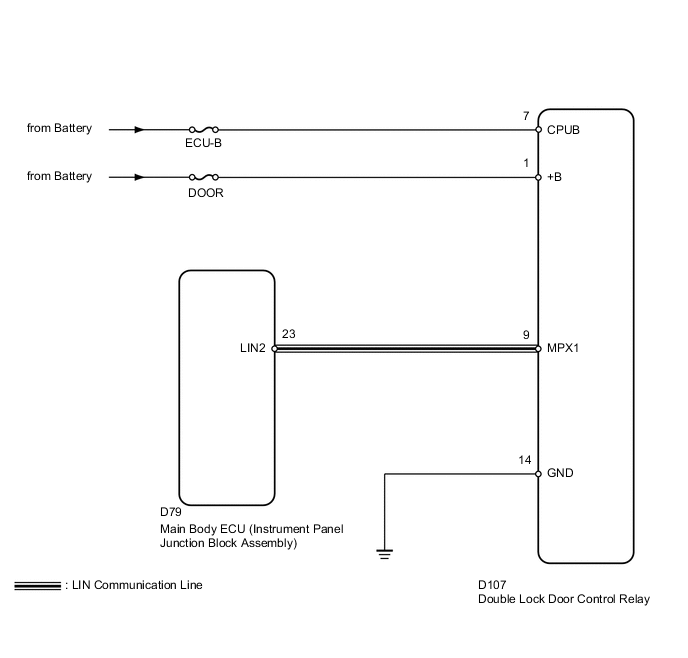
DTC B1249 is stored when communication between the double lock door control relay and main body ECU (instrument panel junction block assembly) stops for more than 10 seconds.
| DTC Code | DTC Detection Condition | Trouble Area |
|---|---|---|
| B1249 | No communication from the double door lock relay for more than 10 seconds. |
|
WIRING DIAGRAM
CAUTION / NOTICE / HINT
Note
When using the intelligent tester with the ignition switch off to troubleshoot:
Connect the intelligent tester to the vehicle, and turn a courtesy switch on and off at 1.5 second intervals until communication between the intelligent tester and vehicle begins.
Inspect the fuses and bulbs for circuits related to this system before performing the following inspection procedure.
Tech Tips
When the communication between the double lock door control relay and main body ECU (instrument panel junction block assembly) stops, DTC B2325 is also stored.
PROCEDURE
CLEAR DTC
Clear the DTCs Click here.
| NEXT |
|
CHECK FOR DTC
Recheck for DTCs Click here.
| Result | Proceed to |
|---|---|
| DTC B1249 is output | A |
| DTC B1249 is not output | B |
| B |
|
USE SIMULATION METHOD TO CHECK Click here |
| A |
|
CHECK HARNESS AND CONNECTOR (DOUBLE LOCK DOOR CONTROL RELAY - MAIN BODY ECU)
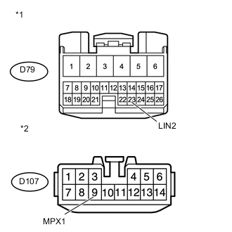
| *1 | Front view of wire harness connector (to Main Body ECU) |
| *2 | Front view of wire harness connector (to Double Lock Door Control Relay) |
Disconnect the D79 ECU connector.
Disconnect the D107 relay connector.
Measure the resistance according to the value(s) in the table below.
| Standard Resistance | |||||||||
|---|---|---|---|---|---|---|---|---|---|
|
| NG |
|
REPAIR OR REPLACE HARNESS OR CONNECTOR |
| OK |
|
CHECK HARNESS AND CONNECTOR (DOUBLE LOCK DOOR CONTROL RELAY - BATTERY AND BODY GROUND)
| *1 | Front view of wire harness connector (to Double Lock Door Control Relay) |
Disconnect the D107 relay connector.
Measure the resistance and voltage according to the value(s) in the table below.
| Standard Resistance | ||||||
|---|---|---|---|---|---|---|
|
| Standard Voltage | |||||||||
|---|---|---|---|---|---|---|---|---|---|
|
| NG |
|
REPAIR OR REPLACE HARNESS OR CONNECTOR |
| OK |
|
REPLACE DOUBLE LOCK DOOR CONTROL RELAY
Temporarily replace the double lock door control relay with a new or normally functioning one Click here.
Clear the DTCs Click here.
| NEXT |
|
CHECK FOR DTC
Recheck for DTCs Click here.
| Result | Proceed to |
|---|---|
| DTC B1249 is not output | A |
| DTC B1249 is output | B |
| A |
|
END (DOUBLE LOCK DOOR CONTROL RELAY IS DEFECTIVE) |
| B |
|
REPLACE MAIN BODY ECU (INSTRUMENT PANEL JUNCTION BLOCK ASSEMBLY) |