CAN COMMUNICATION SYSTEM, Diagnostic DTC:U1002

DTC Code DTC Name
U1002 Lost Communication with Gateway Module (Parking Assist Bus)

DESCRIPTION


DTC Code DTC Detection Condition Trouble Area
U1002 Lost communication with the gateway module (Parking Assist Bus).
  • Parking assist bus circuit

  • Driving support ECU assembly CAN main wire or connector

  • Millimeter wave radar sensor assembly CAN main wire or connector

  • Lane recognition camera sensor assembly CAN branch wire or connector

  • Driving support ECU assembly

  • Millimeter wave radar sensor assembly

  • Lane recognition camera sensor assembly

  • No. 6 junction connector


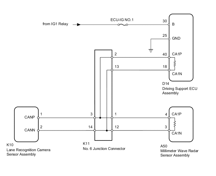
WIRING DIAGRAM

A004Q8LE02

CAUTION / NOTICE / HINT

Note

Inspect the fuses for circuits related to this system before performing the following inspection procedure.

Tech Tips

Operating the ignition switch, any switches or any doors triggers related ECU and sensor communication with the CAN, which causes resistance variation.

PROCEDURE


  1. PRECAUTION

    Note

    After turning the ignition switch off, waiting time may be required before disconnecting the cable from the battery terminal. Therefore, make sure to read the disconnecting the cable from the battery terminal notice before proceeding with work Click here.


    NEXT
  2. DISCONNECT CABLE FROM NEGATIVE BATTERY TERMINAL


    1. Disconnect the cable from the negative (-) battery terminal before measuring the resistances of the CAN main wire and the CAN branch wire.

      CAUTION:

      Wait at least 90 seconds after disconnecting the cable from the negative (-) battery terminal to disable the SRS system.

      Note

      When disconnecting the cable, some systems need to be initialized after the cable is reconnected Click here.


    NEXT
  3. CHECK CAN BUS WIRE (CAN MAIN WIRE FOR DISCONNECTION, BUS LINE FOR SHORT CIRCUIT)


    1. A004O7OE02
      Text in Illustration
      *a

      Component with harness connected

      (Driving Support ECU Assembly)

      *b Front view of DLC3

      Measure the resistance according to the value(s) in the table below.

      Standard Resistance
      Tester Connection Switch Condition Specified Condition Resistance: Malfunction
      D14-40 (CA1P) - D14-18 (CA1N) Ignition switch off 54 to 69 Ω Below 54 Ω: Short in line
      D14-40 (CA1P) - D14-18 (CA1N) Ignition switch off 54 to 69 Ω Higher than 69 Ω: Open in CAN main bus line
      D14-40 (CA1P) - D8-16 (BAT) Ignition switch off 6 kΩ or higher Below 6 kΩ: +B short
      D14-18 (CA1N) - D8-16 (BAT) Ignition switch off 6 kΩ or higher Below 6 kΩ: +B short
      D14-40 (CA1P) - D8-4 (CG) Ignition switch off 200 Ω or higher Below 200 Ω: Ground short
      D14-18 (CA1N) - D8-4 (CG) Ignition switch off 200 Ω or higher Below 200 Ω: Ground short
      Result
      Result Proceed to

      NG


      • Open in CAN main bus line

      A

      NG


      • Short in line

      • +B short

      • Ground short

      B
      OK C

    B
    C
    A
  4. CHECK FOR OPEN IN CAN BUS MAIN WIRE (NO. 6 JUNCTION CONNECTOR - DRIVING SUPPORT ECU ASSEMBLY)


    1. A004NQZE02
      Text in Illustration
      *a

      Rear view of wire harness connector

      (to No. 6 Junction Connector)

      Disconnect the K11 No. 6 junction connector.

    2. Measure the resistance according to the value(s) in the table below.

      Standard Resistance
      Tester Connection Switch Condition Specified Condition
      K11-2 (CANH) - K11-13 (CANL) Ignition switch off 108 to 132 Ω

    NG
    OK
  5. CHECK FOR OPEN IN CAN BUS MAIN WIRE (NO. 6 JUNCTION CONNECTOR - MILLIMETER WAVE RADAR SENSOR ASSEMBLY)


    1. A004NBRE02
      Text in Illustration
      *a

      Rear view of wire harness connector

      (to No. 6 Junction Connector)

      Measure the resistance according to the value(s) in the table below.

      Standard Resistance
      Tester Connection Switch Condition Specified Condition
      K11-1 (CANH) - K11-12 (CANL) Ignition switch off 108 to 132 Ω

    OK
    NG
  6. CONNECT CONNECTOR


    1. Reconnect the K11 No. 6 junction connector.


    NEXT
  7. CHECK FOR OPEN IN CAN BUS MAIN WIRE (DRIVING SUPPORT ECU ASSEMBLY - NO. 6 JUNCTION CONNECTOR)


    1. A004SESE02
      Text in Illustration
      *a

      Rear view of wire harness connector

      (to Driving Support ECU Assembly)

      Disconnect the D14 driving support ECU assembly connector.

    2. Measure the resistance according to the value(s) in the table below.

      Standard Resistance
      Tester Connection Switch Condition Specified Condition
      D14-40 (CA1P) - D14-18 (CA1N) Ignition switch off 108 to 132 Ω
      Result
      Result Proceed to
      OK (for LHD) A
      OK (for RHD) B
      NG C

    A
    B
    C
  8. CONNECT CONNECTOR


    1. Reconnect the K11 No. 6 junction connector.


    NEXT
  9. CHECK FOR OPEN IN CAN BUS MAIN WIRE (MILLIMETER WAVE RADAR SENSOR ASSEMBLY - NO. 6 JUNCTION CONNECTOR)


    1. A004O4JE02
      Text in Illustration
      *a

      Front view of wire harness connector

      (to Millimeter Wave Radar Sensor Assembly)

      Disconnect the A50 millimeter wave radar sensor assembly connector.

    2. Measure the resistance according to the value(s) in the table below.

      Standard Resistance
      Tester Connection Switch Condition Specified Condition
      A50-4 (CA1P) - A50-3 (CA1N) Ignition switch off 108 to 132 Ω

    OK
    NG
  10. CHECK FOR SHORT IN CAN BUS WIRE (NO. 6 JUNCTION CONNECTOR - LANE RECOGNITION CAMERA SENSOR ASSEMBLY)


    1. A004TWQE02
      Text in Illustration
      *a

      Rear view of wire harness connector

      (to No. 6 Junction Connector)

      *b Front view of DLC3

      Disconnect the K11 No. 6 junction connector.

    2. Measure the resistance according to the value(s) in the table below.

      Standard Resistance
      Tester Connection Switch Condition Specified Condition
      K11-3 (CANH) - K11-14 (CANL) Ignition switch off 200 Ω or higher
      K11-3 (CANH) - D8-4 (CG) Ignition switch off 200 Ω or higher
      K11-14 (CANL) - D8-4 (CG) Ignition switch off 200 Ω or higher
      K11-3 (CANH) - D8-16 (BAT) Ignition switch off 6 kΩ or higher
      K11-14 (CANL) - D8-16 (BAT) Ignition switch off 6 kΩ or higher

    NG
    OK
  11. CHECK FOR SHORT IN CAN BUS WIRE (NO. 6 JUNCTION CONNECTOR - DRIVING SUPPORT ECU ASSEMBLY)

    A004PDBE02
    Text in Illustration
    *a

    Rear view of wire harness connector

    (to No. 6 Junction Connector)

    *b Front view of DLC3

    1. Measure the resistance according to the value(s) in the table below.

      Standard Resistance
      Tester Connection Switch Condition Specified Condition
      K11-2 (CANH) - K11-13 (CANL) Ignition switch off 108 to 132 Ω
      K11-2 (CANH) - D8-4 (CG) Ignition switch off 200 Ω or higher
      K11-13 (CANL) - D8-4 (CG) Ignition switch off 200 Ω or higher
      K11-2 (CANH) - D8-16 (BAT) Ignition switch off 6 kΩ or higher
      K11-13 (CANL) - D8-16 (BAT) Ignition switch off 6 kΩ or higher

    NG
    OK
  12. CHECK FOR SHORT IN CAN BUS WIRE (NO. 6 JUNCTION CONNECTOR - MILLIMETER WAVE RADAR SENSOR ASSEMBLY)

    A004QFQE02
    Text in Illustration
    *a

    Rear view of wire harness connector

    (to No. 6 Junction Connector)

    *b Front view of DLC3

    1. Measure the resistance according to the value(s) in the table below.

      Standard Resistance
      Tester Connection Switch Condition Specified Condition
      K11-1 (CANH) - K11-12 (CANL) Ignition switch off 108 to 132 Ω
      K11-1 (CANH) - D8-4 (CG) Ignition switch off 200 Ω or higher
      K11-12 (CANL) - D8-4 (CG) Ignition switch off 200 Ω or higher
      K11-1 (CANH) - D8-16 (BAT) Ignition switch off 6 kΩ or higher
      K11-12 (CANL) - D8-16 (BAT) Ignition switch off 6 kΩ or higher

    OK
    NG
  13. CONNECT CONNECTOR


    1. Reconnect the K11 No. 6 junction connector.


    NEXT
  14. CHECK FOR SHORT IN CAN BUS WIRE (LANE RECOGNITION CAMERA SENSOR ASSEMBLY)


    1. A004O1YE02
      Text in Illustration
      *a

      Rear view of wire harness connector

      (to Lane Recognition Camera Sensor Assembly)

      *b Front view of DLC3

      Disconnect the K10 lane recognition camera sensor assembly connector.

    2. Measure the resistance according to the value(s) in the table below.

      Standard Resistance
      Tester Connection Switch Condition Specified Condition
      K10-1 (CA1P) - K10-2 (CA1N) Ignition switch off 54 to 69 Ω
      K10-1 (CA1P) - D8-4 (CG) Ignition switch off 200 Ω or higher
      K10-2 (CA1N) - D8-4 (CG) Ignition switch off 200 Ω or higher
      K10-1 (CA1P) - D8-16 (BAT) Ignition switch off 6 kΩ or higher
      K10-2 (CA1N) - D8-16 (BAT) Ignition switch off 6 kΩ or higher

    OK
    NG
  15. CONNECT CONNECTOR


    1. Reconnect the K11 No. 6 junction connector.


    NEXT
  16. CHECK FOR SHORT IN CAN BUS WIRE (DRIVING SUPPORT ECU ASSEMBLY)


    1. A004SNNE02
      Text in Illustration
      *a

      Rear view of wire harness connector

      (to Driving Support ECU Assembly)

      *b Front view of DLC3

      Disconnect the D14 driving support ECU assembly connector.

    2. Measure the resistance according to the value(s) in the table below.

      Standard Resistance
      Tester Connection Switch Condition Specified Condition
      D14-40 (CA1P) - D14-18 (CA1N) Ignition switch off 108 to 132 Ω
      D14-40 (CA1P) - D8-4 (CG) Ignition switch off 200 Ω or higher
      D14-18 (CA1N) - D8-4 (CG) Ignition switch off 200 Ω or higher
      D14-40 (CA1P) - D8-16 (BAT) Ignition switch off 6 kΩ or higher
      D14-18 (CA1N) - D8-16 (BAT) Ignition switch off 6 kΩ or higher
      Result
      Result Proceed to
      OK (for LHD) A
      OK (for RHD) B
      NG C

    A
    B
    C
  17. CONNECT CONNECTOR


    1. Reconnect the K11 No. 6 junction connector.


    NEXT
  18. CHECK FOR SHORT IN CAN BUS WIRE (MILLIMETER WAVE RADAR SENSOR ASSEMBLY)


    1. A004MV9E02
      Text in Illustration
      *a

      Front view of wire harness connector

      (to Millimeter Wave Radar Sensor Assembly)

      *b Front view of DLC3

      Disconnect the A50 millimeter wave radar sensor assembly connector.

    2. Measure the resistance according to the value(s) in the table below.

      Standard Resistance
      Tester Connection Switch Condition Specified Condition
      A50-4 (CA1P) - A50-3 (CA1N) Ignition switch off 108 to 132 Ω
      A50-4 (CA1P) - D8-4 (CG) Ignition switch off 200 Ω or higher
      A50-3 (CA1N) - D8-4 (CG) Ignition switch off 200 Ω or higher
      A50-4 (CA1P) - D8-16 (BAT) Ignition switch off 6 kΩ or higher
      A50-3 (CA1N) - D8-16 (BAT) Ignition switch off 6 kΩ or higher

    OK
    NG
  19. CHECK FOR OPEN IN CAN BUS WIRE (NO. 6 JUNCTION CONNECTOR - LANE RECOGNITION CAMERA SENSOR ASSEMBLY)


    1. A004NFIE02
      Text in Illustration
      *a

      Rear view of wire harness connector

      (to Lane Recognition Camera Sensor Assembly)

      Disconnect the K10 lane recognition camera sensor assembly connector.

    2. Measure the resistance according to the value(s) in the table below.

      Standard Resistance
      Tester Connection Switch Condition Specified Condition
      K10-1 (CA1P) - K10-2 (CA1N) Ignition switch off 54 to 69 Ω

    NG
    OK
  20. CHECK HARNESS AND CONNECTOR (DRIVING SUPPORT ECU ASSEMBLY - BATTERY AND GROUND)


    1. A004MNDE02
      Text in Illustration
      *a

      Rear view of wire harness connector

      (to Driving Support ECU Assembly)

      Connect the cable to the negative (-) battery terminal.

      Note

      When disconnecting the cable, some systems need to be initialized after the cable is reconnected Click here.

    2. Disconnect the D14 driving support ECU assembly connector.

    3. Measure the voltage according to the value(s) in the table below.

      Standard Voltage
      Tester Connection Switch Condition Specified Condition
      D14-30 (B) - Body ground Ignition switch ON 11 to 14 V
    4. Measure the resistance according to the value(s) in the table below.

      Standard Resistance
      Tester Connection Condition Specified Condition
      D14-25 (GND) - Body ground Always Below 1 Ω
      Result
      Result Proceed to
      OK (for LHD) A
      OK (for RHD) B
      NG C

    A
    B
    C