SHIFT LEVER INSPECTION

PROCEDURE


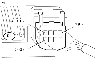
  1. INSPECT SHIFT LOCK CONTROL ECU (w/o Entry and Start System)

    A004TISE02
    Text in Illustration
    *1

    Component with harness connected

    (Shift Lock Control ECU)


    1. Measure the voltage and resistance according to the value(s) in the table below.

      Standard Voltage and Resistance
      Tester Connection Condition Specified Condition
      D4-6 (ACC) - D4-1 (E) Ignition switch ON 11 to 14 V
      D4-6 (ACC) - D4-1 (E) Ignition switch ACC 11 to 14 V
      D4-6 (ACC) - D4-1 (E) Ignition switch off Below 1 V
      D4-4 (STP) - D4-1 (E) Brake pedal depressed 11 to 14 V
      D4-4 (STP) - D4-1 (E) Brake pedal released Below 1 V
      D4-5 (KLS+) - D4-1 (E) 1. Ignition switch ACC and shift lever in P Below 1 V
      2. Ignition switch ACC and shift lever not in P (Within approx. 1 second) 7.5 to 11 V
      3. Ignition switch ACC and shift lever not in P (After approx. 2 seconds) 6 to 9.5 V
      D4-8 (IG) - D4-1 (E) Ignition switch ON 11 to 14 V
      D4-8 (IG) - D4-1 (E) Ignition switch off Below 1 V
      D4-1 (E) - Body ground Always Below 1 Ω

      Tech Tips

      Do not disconnect the shift lever assembly connector.

      If the result is not as specified, replace the shift lock control ECU.

  2. INSPECT SHIFT LOCK CONTROL ECU (w/ Entry and Start System)

    A004O23E02
    Text in Illustration
    *1

    Component with harness connected

    (Shift Lock Control ECU)


    1. Measure the voltage and resistance according to the value(s) in the table below.

      Standard Voltage and Resistance
      Tester Connection Condition Specified Condition
      D4-8 (IG) - D4-1 (E) Ignition switch ON 11 to 14 V
      D4-8 (IG) - D4-1 (E) Ignition switch off Below 1 V
      D4-4 (STP) - D4-1 (E) Brake pedal depressed 11 to 14 V
      D4-4 (STP) - D4-1 (E) Brake pedal released Below 1 V
      D4-1 (E) - Body ground Always Below 1 Ω

      Tech Tips

      Do not disconnect the shift lever assembly connector.

      If the result is not as specified, replace the shift lock control ECU.

  3. INSPECT TRANSMISSION CONTROL SWITCH

    A004QUHE33
    Text in Illustration
    *1

    Component without harness connected

    (Transmission Control Switch)


    1. Measure the resistance according to the value(s) in the table below.

      Standard Resistance
      Tester Connection Condition Specified Condition
      6 (IG) - 13 (S) Shift lever in M, "+" or "-" Below 1 Ω
      5 (SFTU) - 11 (E)

      Shift lever held in "+"

      (Up-shift)

      Below 1 Ω
      4 (SFTD) - 11 (E)

      Shift lever held in "-"

      (Down-shift)

      Below 1 Ω
      6 (IG) - 13 (S) Shift lever in not in M, "+" or "-" 10 kΩ or higher
      5 (SFTU) - 11 (E) Shift lever in M 10 kΩ or higher
      4 (SFTD) - 11 (E) Shift lever in M 10 kΩ or higher

      If the result is not as specified, replace the shift lock control unit.

  4. INSPECT SHIFT LOCK SOLENOID

    A004POH

    1. Disconnect the shift lock solenoid connector.

    2. A004U63E26
      Text in Illustration
      *1

      Component without harness connected

      (Shift Lock Solenoid)

      Measure the resistance according to the value(s) in the table below.

      Standard Resistance
      Tester Connection Condition Specified Condition
      4 (P) - 3 (E2) Shift lever in P 10 kΩ or higher
      4 (P) - 3 (E2) Shift lever not in P Below 1 Ω
      2 (SLS-) - 1 (SLS+) Always 112 Ω

      If the result is not as specified, replace the shift lock control unit.