LIGHTING SYSTEM, Diagnostic DTC:B2415

DTC Code DTC Name
B2415 Vehicle Speed Sensor Malfunction

DESCRIPTION

The headlight swivel ECU receives signals indicating the front wheel speed from the skid control ECU using CAN communication.

DTC Code DTC Detection Condition Trouble Area
B2415 A malfunction in the vehicle speed sensor.
  • Skid control ECU

  • Headlight swivel ECU assembly

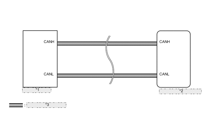
WIRING DIAGRAM

A0052GSE14
*1 Skid Control ECU
*2 Headlight Swivel ECU Assembly
*3 CAN Communication Line

CAUTION / NOTICE / HINT

Note

First perform the communication function inspections in How to Proceed with Troubleshooting to confirm that there are no CAN communication malfunctions before troubleshooting this symptom.

PROCEDURE


  1. CHECK FOR DTC


    1. Clear the DTCs Click here.

    2. Check for DTCs Click here.

      OK
      DTC B2415 output does not occur.

    OK
    NG
  2. CHECK FOR DTC (VEHICLE STABILITY CONTROL SYSTEM)


    1. Check for DTCs Click here.

      OK
      Vehicle stability control speed sensor DTCs are not output.

    OK
    NG