CAUTION / NOTICE / HINT
Tech Tips
When scrapping vehicles equipped with a seat belt pretensioner or disposing of a front seat outer belt (with seat belt pretensioner), always first activate the seat belt pretensioner in accordance with the procedures described below. If any abnormality occurs during activation of the seat belt pretensioner, contact the service department of the distributor.
CAUTION:
Never dispose of a front seat outer belt that has an un-activated pretensioner.
The seat belt pretensioner produces a loud, exploding sound when it activates. Perform the operation where it will not be a nuisance to nearby people.
When activating a front seat outer belt (with seat belt pretensioner), stand at least 10 m (32.8 ft.) away from the front seat outer belt.
Use gloves and safety glasses when handling a front seat outer belt with an activated pretensioner.
Always wash your hands with water after completing the disposal.
Do not apply water to a front seat outer belt that has an activated pretensioner.
Perform the procedure in a place away from electrical interference.
When activating the seat belt pretensioner, always use the specified SST (SRS airbag deployment tool).
PROCEDURE
DISPOSE OF REAR SEAT 3 POINT TYPE BELT ASSEMBLY (WHEN INSTALLED IN VEHICLE)
Tech Tips
Prepare a battery to activate the seat belt pretensioner.
Check if SST is functioning properly.
CAUTION:
When activating the seat belt pretensioner, always use the specified SST.
| *1 | Battery |
Connect the red clip of SST to the positive (+) battery terminal and the black clip to the battery negative (-) battery terminal.
Tech Tips
Do not connect the yellow connector. The yellow connector is used to connect to the seat belt pretensioner.
Press SST activation switch and check that the LED of SST activation switch illuminates.
CAUTION:
If the LED illuminates when the activation switch is not being pressed, SST may be malfunctioning. Replace SST with a new one.
Disconnect SST from the battery.
Disconnect the pretensioner connector.
Remove the rear seat 3 point type belt assembly Click here.
| *1 | Locking Button |
| *a | Protective Tape |
Disconnect the pretensioner connector as shown in the illustration.
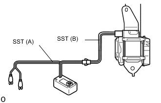
Prepare SST for activation of the seat belt pretensioner.
Connect SST (A) to SST (B). Then connect the connector of SST (B) to the seat belt pretensioner.
Note
To avoid damaging SST connector and wire harness, do not lock the secondary lock of the twin lock.
Install the rear seat 3 point type belt assembly Click here.
Install the floor anchor of the seat belt.
| *a | 10 m or more |
Move SST at least 10 m (32.8 ft.) away from the front of the vehicle.
Close all the doors and windows of the vehicle.
Tech Tips
Leave a gap in one of the windows for inserting SST wire harness.
Note
Take care not to damage SST wire harness.
Connect the red clip of SST to the positive (+) battery terminal and the black clip to the negative (-) battery terminal.
Activate the seat belt pretensioner.
Confirm that no one is inside the vehicle or within 10 m (32.8 ft.) of the vehicle.
Press SST activation switch to activate the seat belt pretensioner.
Tech Tips
The seat belt pretensioner operates at the same time SST activation switch LED illuminates.
Dispose of the front seat outer belt (with the seat belt pretensioner).
CAUTION:
Do not touch the front seat outer belt for at least 30 minutes after the seat belt pretensioner has been activated. It is very hot.
Use gloves and safety glasses when handling a front seat outer belt whose pretensioner has been activated.
Always wash your hands with water after completing the disposal.
Do not apply water to a front seat outer belt that has an activated pretensioner.
Tech Tips
When scrapping a vehicle, activate the seat belt pretensioner, and then scrap the vehicle with the activated front seat outer belt installed.
DISPOSE OF REAR SEAT 3 POINT TYPE BELT ASSEMBLY (WHEN NOT INSTALLED IN VEHICLE)
Note
Be sure to follow the procedure listed below when activating the seat belt pretensioner.
Remove the front seat outer belt.
Wind the seat belt with the retractor.
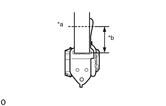
When the seat belt is sufficiently wound, cut the seat belt approximately 100 mm (0.393 in.) from the retractor as shown in the illustration.
Tech Tips
The seat belt is designed so that winding the seat belt before pretensioner activation will decrease the pulling power of the seat belt during pretensioner activation.
| *a | Cut |
| *b | 100 mm |
Check if SST is functioning properly.
CAUTION:
When activating the seat belt pretensioner, always use the specified SST.
| *1 | Battery |
Connect the red clip of SST to the positive (+) battery terminal and the black clip to the battery negative (-) battery terminal.
Tech Tips
Do not connect the yellow connector. The yellow connector is used to connect to the seat belt pretensioner.
Press SST activation switch and check that the LED of SST activation switch illuminates.
CAUTION:
If the LED illuminates when the activation switch is not being pressed, SST may be malfunctioning. Replace SST with a new one.
Prepare SST for activation of the seat belt pretensioner.
Connect SST (A) to SST (B). Then connect the connector of SST (B) to the seat belt pretensioner.
Note
To avoid damaging SST connector and wire harness, do not lock the secondary lock of the twin lock.
Place the front seat outer belt on the ground and cover it with a tire (with wheel).
Note
Set up the front seat outer belt as shown in the illustration.
| *a | 10 m or more |
Move SST at least 10 m (32.8 ft.) away from the wheel.
Note
Take care not to damage SST wire harness.
Activate the seat belt pretensioner.
Connect the red clip of SST to the positive (+) battery terminal and the black clip to the negative (-) battery terminal.
Check that no one is within 10 m (32.8 ft.) of the tire.
Press SST activation switch to activate the seat belt pretensioner.
Tech Tips
The seat belt pretensioner operates at the same time SST activation switch LED illuminates.
Dispose of the front seat outer belt (with the seat belt pretensioner).
CAUTION:
Do not touch the front seat outer belt for at least 30 minutes after the seat belt pretensioner has been activated. It is very hot.
Use gloves and safety glasses when handling a front seat outer belt whose pretensioner has been activated.
Always wash your hands with water after completing the disposal.
Do not apply water to a front seat outer belt that has an activated pretensioner.
Remove the tire (with wheel) and SST.
Place the front seat outer belt in a plastic bag, tie the end tightly and dispose of it in the same way as other general parts.