CONTINUOUSLY VARIABLE VALVE LIFT CONTROLLER INSTALLATION

CAUTION / NOTICE / HINT

Tech Tips

Perform "Inspection After Repairs" after replacing the continuously variable valve lift controller assembly Click here.

PROCEDURE


  1. INSTALL CONTINUOUSLY VARIABLE VALVE LIFT CONTROLLER ASSEMBLY

    Tech Tips

    Perform "Inspection After Repairs" after replacing the continuously variable valve lift controller assembly Click here.


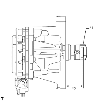
    1. A0058MWE03
      Text in Illustration
      *1 Connector
      *2 Protruding Distance

      Measure the protruding distance of the continuously variable valve lift controller assembly.

      Tech Tips


      • When reinstalling the continuously variable valve lift controller assembly, perform the measurement after the valve lift control actuator connector is installed.

      • It is not necessary to perform this measurement when installing a new continuously variable valve lift controller assembly as the protruding distance is 34.57 to 34.73 mm (1.36 to 1.37 in.).

        Standard protruding distance
        34.57 to 34.73 mm (1.36 to 1.37 in.)

        If the protruding distance of the continuously variable valve lift controller assembly is not 34.57 to 34.73 mm (1.36 to 1.37 in.), perform the Active Test and adjust the protruding distance to the specified value Click here.

    2. A00536HE05
      Text in Illustration
      *1 Protrusion
      *2 New O-Ring

      Install a new O-ring to the continuously variable valve lift controller assembly.

      Note


      • Align the protrusion of the O-ring with the protrusion of the continuously variable valve lift controller assembly.

      • Make sure that the O-ring is not protruding from the groove in the continuously variable valve lift controller assembly.

    3. A00573P

      Rotate the crankshaft clockwise to retract the valve rocker shaft.

    4. A0052N9

      Rotate the crankshaft clockwise again until the intake camshaft position at the No. 1 cylinder and No. 3 cylinder is as shown in the illustration.

    5. A0055WM

      Install the valve lift control actuator connector clip to the valve lift control actuator connector.

      Note

      Be sure to insert the protrusions of the valve lift control actuator connector clip into the holes in the valve lift control actuator connector.

      Tech Tips

      When the continuously variable valve lift controller assembly is new, a valve lift control actuator connector is attached to it. Remove the valve lift control actuator connector before performing these procedures.

    6. A00562B

      Install the valve lift control actuator connector to the valve rocker shaft.

      Tech Tips

      There are two types of valve lift control actuator connectors. One type is installed by rotating the connector, and the other type can be installed without being rotated.

    7. Insert the continuously variable valve lift controller assembly into the camshaft housing.

    8. Place the wire harness clamp bracket onto the stud bolts.

    9. A0057DK

      Install the continuously variable valve lift controller assembly to the camshaft housing with the bolt and 2 nuts.

      Torque:
      18 N*m  { 184 kgf*cm, 13 ft.*lbf }

      Note

      Make sure the O-ring is not caught between the parts.

    10. A0053L5

      Using a screwdriver, slide the valve lift control actuator connector clip from the valve lift control actuator connector.

      Note

      Slide only the upper part of the valve lift control actuator connector clip as the straight pin falls out from the bottom if the valve lift control actuator connector clip is completely removed.

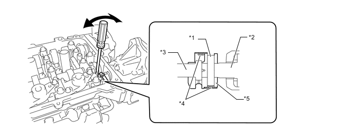
    11. Using a screwdriver, lightly pry the valve lift control actuator connector and align the hole in the valve lift control actuator connector with the hole in the continuously variable valve lift controller assembly.

      A0058W1E01

      Note


      • Do not forcefully pry the valve lift control actuator connector.

      • Do not damage the camshaft housing or camshaft bearing cap.

      Text in Illustration
      *1 Straight Pin
      *2 Controller Shaft
      *3 Rocker Shaft
      *4 Clip
      *5 Connector
    12. A0053M7

      Insert the straight pin into the valve lift control actuator connector.

      Note

      Do not use a tool to insert the straight pin. Insert the straight pin by hand.

      Tech Tips

      If the straight pin is difficult to insert, insert the pin while lightly prying the valve lift control actuator connector.

    13. A0056PD

      Using a screwdriver, install the valve lift control actuator connector clip to the valve lift control actuator connector.

      Note

      Insert the protrusion of the valve lift control actuator connector clip into the hole in the valve lift control actuator connector.

  2. INSTALL CYLINDER HEAD COVER GASKET

    Click here

  3. INSTALL CYLINDER HEAD COVER SUB-ASSEMBLY

    Click here

  4. INSTALL AIR TUBE


    1. A0057BN

      Install the air tube with the 2 bolts.

      Torque:
      10 N*m  { 102 kgf*cm, 7 ft.*lbf }
    2. Connect the No. 2 air hose and No. 1 fuel vapor feed hose.

    3. Connect the 2 union to connector tube hoses.

    4. Connect the fuel vapor feed hose to the purge VSV.

  5. INSTALL IGNITION COIL ASSEMBLY


    1. A00582W

      Install the 4 ignition coils with the 4 bolts.

      Torque:
      10 N*m  { 102 kgf*cm, 7 ft.*lbf }
  6. CONNECT ENGINE WIRE


    1. Attach the 10 clamps, and then connect the connectors.

      A0055PTE01
    2. Connect the engine wire with the 3 bolts and 2 nuts.

      Torque:
      for bolt A
      8.4 N*m  { 86 kgf*cm, 74 in.*lbf }
      for bolt B
      10 N*m  { 102 kgf*cm, 7 ft.*lbf }
      for nut
      8.4 N*m  { 86 kgf*cm, 74 in.*lbf }
  7. INSTALL BATTERY TRAY

  8. INSTALL BATTERY

  9. INSTALL BATTERY CLAMP SUB-ASSEMBLY

    Click here

  10. INSTALL AIR CLEANER CASE SUB-ASSEMBLY

    Click here

  11. INSTALL AIR CLEANER CAP SUB-ASSEMBLY

    Click here

  12. CONNECT CABLE TO NEGATIVE BATTERY TERMINAL

    Note

    When disconnecting the cable, some systems need to be initialized after the cable is reconnected Click here.

  13. INSTALL NO. 2 CYLINDER HEAD COVER

    Click here

  14. INSTALL RADIATOR SUPPORT OPENING COVER

    Click here