РЕЗИНОВЫЙ СКРЕБОК ЗАДНЕГО СТЕКЛООЧИСТИТЕЛЯ ЗАМЕНА


  1. СНИМИТЕ ЩЕТКУ ЗАДНЕГО СТЕКЛООЧИСТИТЕЛЯ


    1. A01DQ3HE01
      Обозначения на рисунке
      *1 Защитная клейкая лента

      Наклейте защитную клейкую ленту в местах, показанных на рисунке.

    2. Установите замок зажигания в положение ON (ВКЛ).

    3. Включите выключатель заднего стеклоочистителя.

      Tech Tips

      Электродвигатель стеклоочистителя не работает, если дверь багажного отделения или стекло двери багажного отделения не закрыты.

    4. Для моделей с кронштейном запасного колеса на двери багажного отделения:


      1. A01DUQ2E01

        Выключите зажигание, когда рычаг стеклоочистителя остановится в положении, показанном на рисунке.

        Номинальный зазор
        Область Заданные условия
        A - B

        Примерно

        27° - 39°

        C - D

        Примерно

        200 - 273 мм (7,87 - 10,8 дюйма)

        Tech Tips


        • Проще остановить щетку стеклоочистителя в положении, показанном на рисунке, во время возвращения щетки стеклоочистителя в исходное положение.

        • Убедитесь в том, что конец щетки стеклоочистителя останавливается между третьей и пятой нитями обогревателя стекла, если считать снизу.

    5. Для моделей без кронштейна запасного колеса на двери багажного отделения:


      1. A01DRL6E01

        Выключите зажигание, когда рычаг стеклоочистителя остановится в положении, показанном на рисунке.

        Номинальный зазор
        Область Расстояние
        A - B

        Примерно

        23° - 43°

        C - D

        Примерно

        170,4 - 304,9 мм (6,71 - 12,0 дюйма)

    6. A01DRTGE01
      Обозначения на рисунке
      *1 Защитная клейкая лента

      Поднимите рычаг заднего стеклоочистителя.

      Note


      • Убедитесь, что рычагу стеклоочистителя не мешает задний спойлер.

      • Если рычагу стеклоочистителя мешает задний спойлер, снова включите зажигание, чтобы рычаг стеклоочистителя остановился в почти вертикальном положении.

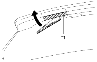
    7. A01DTBZ

      Поднимите щетку стеклоочистителя до расцепления захвата со щелчком, как показано на рисунке.

      Note

      Следует соблюдать осторожность, чтобы не повредить захват.

    8. A01DTGZ

      Потяните щетку стеклоочистителя в направлении левого бока автомобиля, чтобы снять ее с рычага.

      Note

      Не опускайте рычаг стеклоочистителя со снятой с него щеткой. Наконечник рычага может повредить поверхность стекла двери багажного отделения.

  2. СНИМИТЕ ЗАДНИЙ РЕЗИНОВЫЙ СКРЕБОК СТЕКЛООЧИСТИТЕЛЯ


    1. A01DU9PE02
      Обозначения на рисунке
      *1

      Стопор

      (в задней части щетки)

      *a

      Слегка надавите

      (сожмите)

      *b Поднимите
      *c Потяните

      Приподнимите и вытяните конец резинового скребка стеклоочистителя, выступающий за стопор щетки, как показано на рисунке.

      Note

      Не тяните за резиновый скребок стеклоочистителя слишком сильно. Это может привести к деформации опорных пластин или поломке захвата щетки.

      Tech Tips

      Если слегка надавить на резиновый скребок в середине, это упростит его снятие.

    2. Снимите опорные пластины резинового скребка заднего стеклоочистителя.

  3. УСТАНОВИТЕ РЕЗИНОВЫЙ СКРЕБОК ЩЕТКИ ЗАДНЕГО СТЕКЛООЧИСТИТЕЛЯ


    1. A01DNPUE05
      Обозначения на рисунке
      *1 Опорная пластина резинового скребка щетки заднего стеклоочистителя
      *2 Резиновый скребок щетки заднего стеклоочистителя
      *a Искривление

      Установите опорные пластины резинового скребка заднего стеклоочистителя, как показано на рисунке.

      Note

      Установите опорные пластины в правильном направлении.

    2. Выньте резиновый скребок из переднего конца щетки стеклоочистителя по направлению к заднему концу через второй захват.

    3. A01DSHME03
      Обозначения на рисунке
      *1 Второй захват
      *2 Захват в задней части
      *3 Стопор в задней части

      Протолкните резиновый скребок через задний конец захвата так, чтобы он выступал за задний стопор.

    4. A01DOHME03
      Обозначения на рисунке
      *1 Захват в передней части

      Сдвиньте резиновый скребок стеклоочистителя к переднему концу захвата.

  4. УСТАНОВИТЕ ЩЕТКУ ЗАДНЕГО СТЕКЛООЧИСТИТЕЛЯ


    1. A01DNSV

      Протолкните щетку стеклоочистителя в направлении правого бока автомобиля, чтобы установить ее на рычаг стеклоочистителя.

      Note

      Убедитесь, что рычагу стеклоочистителя не мешает задний спойлер.

    2. A01DTBZ

      Введите в зацепление захват и установите щетку заднего стеклоочистителя, как показано на рисунке.

      Note

      Следует соблюдать осторожность, чтобы не повредить захват.