НАКЛАДКА РУЛЕВОГО КОЛЕСА СНЯТИЕ С ЭКСПЛУАТАЦИИ

CAUTION:

Перед выполнением развертывания каких-либо деталей системы SRS с целью утилизации внимательно изучите все действующие экологические нормы и правила работы с опасными материалами и обеспечьте их соблюдение. Эта операция может считаться работой с опасными материалами.


  1. МЕРЫ ПРЕДОСТОРОЖНОСТИ

    Tech Tips

    При сдаче в лом автомобиля, оснащенного системой SRS, или снятии с эксплуатации накладки рулевого колеса сначала разверните подушку безопасности в соответствии с описанной ниже процедурой. При обнаружении неисправностей, связанных со срабатыванием подушки безопасности, обращайтесь в Отдел технического обслуживания фирмы-дистрибьютора.

    CAUTION:


    • Запрещается утилизация накладки рулевого колеса с неразвернутой подушкой безопасности.

    • Подушка безопасности при срабатывании издает громкий хлопок, поэтому работы следует проводить на открытом пространстве, чтобы не причинять неудобства жителям близлежащих зданий.

    • При развертывании подушки безопасности всегда применяйте предназначенный для этого SST (приспособление для срабатывания подушки безопасности SRS). Все операции следует выполнять в безопасном месте, удаленном от источников электрических помех.

    • При развертывании подушки безопасности следует находиться от нее на расстоянии не менее 10 м (32,8 фута).

    • Накладка рулевого колеса при развертывании подушки безопасности сильно нагревается. Не касайтесь ее как минимум в течение 30 минут после развертывания.

    • Для работы с накладкой рулевого колеса при развернутой подушке надевайте специальные перчатки и защитные очки.

    • Не допускайте попадания воды на накладку рулевого колеса после развертывания подушки.

    • По завершении работ всегда мойте руки водой.

    • Подушка безопасности или преднатяжитель ремня безопасности может сработать от разряда статического электричества. Во избежание подобной ситуации перед выполнением данной процедуры необходимо прикоснуться голой рукой к металлическому предмету.

  2. УТИЛИЗАЦИЯ НАКЛАДКИ РУЛЕВОГО КОЛЕСА (ЕСЛИ ОНА УСТАНОВЛЕНА В АВТОМОБИЛЕ).

    Tech Tips

    Подготовьте аккумуляторную батарею как источник питания для развертывания подушки безопасности.


    1. A01DQPHE12

      Проверьте работоспособность SST (см. стр. Click here).

    2. Изучите меры предосторожности (см. стр. Click here).

    3. Отсоедините провод от отрицательного (-) вывода аккумуляторной батареи.

      CAUTION:

      После отсоединения провода от отрицательного (-) вывода аккумуляторной батареи подождите не менее 90 с, чтобы предотвратить срабатывание системы SRS.

    4. Для моделей с наклонной телескопической рулевой колонкой с ручным приводом:


      1. Снимите нижний кожух рулевой колонки (см. стр. Click here).

    5. Для моделей с наклонной телескопической рулевой колонкой с электроприводом:


      1. Снимите нижний кожух рулевой колонки (см. стр. Click here).

    6. A01DNP9

      Установите SST.

      CAUTION:

      Убедитесь в отсутствии слабины в креплении рулевого колеса в сборе и накладки рулевого колеса.


      1. Отсоедините разъем подушки безопасности (желтый) от витого кабеля с датчиком положения рулевого колеса.

        Note

        При разъединении разъема подушки безопасности будьте осторожны, чтобы не повредить жгут проводов подушки безопасности.

      2. Подсоедините разъем SST к разъему подушки безопасности витого кабеля с датчиком положения рулевого колеса.

        SST
        09082-00700
        09082-00780

        Note

        Во избежание повреждения разъема SST и жгута проводов не закрывайте дополнительный замок парного замка.

      3. A01DN64E26
        Обозначения на рисунке
        *1 Аккумуляторная батарея
        *a 10 м или более

        Отодвиньте SST на расстояние не менее 10 м (32,8 фута) от переднего бокового стекла автомобиля.

      4. Жгут проводов SST должен обеспечивать достаточное расстояние до переднего бокового окна. Закройте все двери и окна автомобиля.

        Note

        Соблюдайте осторожность, чтобы не повредить жгут проводов SST.

      5. Подсоедините красный зажим SST к положительному (+) выводу аккумуляторной батареи, а черный – к отрицательному (-) выводу.

    7. Разверните подушку безопасности.


      1. Никто не должен находиться внутри автомобиля и на расстоянии до 10 м (32,8 фута) от него.

      2. Нажмите на активационный выключатель SST и разверните подушку безопасности.

        CAUTION:


        • При срабатывании подушки безопасности рядом с автомобилем не должно быть людей.

        • Накладка рулевого колеса при развертывании подушки безопасности сильно нагревается. Не касайтесь ее как минимум в течение 30 минут после развертывания.

        • Для работы с накладкой рулевого колеса при развернутой подушке надевайте специальные перчатки и защитные очки.

        • Не допускайте попадания воды на накладку рулевого колеса после развертывания подушки.

        • По завершении работ всегда мойте руки водой.

        Tech Tips

        Подушка безопасности развертывается в момент загорания светодиодного индикатора выключателя SST.

  3. УТИЛИЗАЦИЯ НАКЛАДКИ РУЛЕВОГО КОЛЕСА (ЕСЛИ ОНА НЕ УСТАНОВЛЕНА В АВТОМОБИЛЕ).

    CAUTION:

    При развертывании подушки безопасности тщательно следуйте приведенным ниже инструкциям.

    Tech Tips

    Подготовьте аккумуляторную батарею как источник питания для развертывания подушки безопасности.


    1. A01DQPHE12

      Проверьте работоспособность SST (см. стр. Click here).

    2. Снимите накладку рулевого колеса (см. стр. Click here).

      CAUTION:


      • При снятии накладки рулевого колеса работы следует начинать не ранее, чем через 90 секунд после выключения зажигания и отсоединения провода от отрицательного (-) вывода аккумуляторной батареи.

      • При хранении накладку рулевого колеса следует укладывать стороной, в направлении которой происходит развертывание подушки безопасности, вверх.

    3. A01DMYYE29

      С помощью запасного жгута проводов для автомобиля привяжите накладку рулевого колеса к колесному диску.

      Обозначения на рисунке
      *a Диаметр жгута проводов
      *b Поперечное сечение жгута проводов без изоляции
      Площадь поперечного сечения жилы
      1,25 мм2 (0,00192 дюйма2)

      CAUTION:

      При использовании для фиксации накладки рулевого колеса слишком тонкого жгута проводов или альтернативного приспособления во время удара при развертывании подушки безопасности фиксирующее приспособление может разорваться. Используйте только специальные автомобильные жгуты проводов с поперечным сечением жилы не менее 1,25 мм2(0,00192 дюйма2).

      Tech Tips

      Формула расчета площади поперечного сечения жилы: Площадь = 3,14 x (диаметр)2разделить на 4


      1. A01DT0EE01

        Вставьте 2 болта с шайбами в отверстия под болты в накладке рулевого колеса.

        Болт
        L: 35,0 мм (1,38 дюйма)
        М: 6,0 мм (0,236 дюйма)
        Шаг резьбы: 1,0 мм (0,0393 дюйма)

        Note


        • Затяните болты рукой, пока они не начнут поворачиваться с трудом.

        • Не затягивайте болты слишком сильно.

      2. A01DTTLE01

        После подсоединения проводов к SST, подсоедините их к накладке рулевого колеса.

        SST
        09082-00802   ( 09082-30801 )
      3. A01DS5RE01
        Обозначения на рисунке
        *a не менее 2 раз

        Обмотайте 3 жгута проводов не менее 2 раз вокруг болтов, установленных с левой и правой сторон от накладки рулевого колеса.

        CAUTION:


        • Обматывая жгуты проводов вокруг болтов, делайте это так туго, чтобы не было слабины.

        • Жгут проводов должен быть плотно затянут. Если намотать жгуты проводов слабо, при ударе во время развертывания подушки безопасности накладка рулевого колеса может оторваться.

      4. A01DU9Y

        Уложите накладку рулевого колеса так, чтобы сторона, в направлении которой происходит развертывание подушки безопасности, была обращена вверх. Отдельно привяжите накладку рулевого колеса с левой и правой сторон к колесному диску через отверстия в диске для гаек ступицы. Расположите разъем SST так, чтобы он свисал из отверстия для ступицы в колесном диске.

        CAUTION:


        • Жгут проводов должен быть плотно затянут. Если намотать жгуты проводов слабо, при ударе во время развертывания подушки безопасности накладка рулевого колеса может оторваться.

        • Всегда привязывайте накладку рулевого колеса вверх поверхностью, в направлении которой происходит развертывание подушки безопасности.

        Note

        Так как при развертывании подушки безопасности колесный диск может быть поврежден, используйте диск, который подлежит утилизации.

    4. A01DM94E01

      Установите SST.

      CAUTION:

      Разместите колесный диск на ровной площадке.


      1. Подсоедините разъем SST.

        SST
        09082-00700

        Note

        Во избежание повреждения разъема SST и жгута проводов не закрывайте дополнительный замок парного замка. Кроме того, оставьте некоторую слабину жгута проводов SST внутри колесного диска.

      2. A01DUMPE02
        Обозначения на рисунке
        *1 Аккумуляторная батарея
        *a 10 м или более

        Переместите SST на расстояние не менее 10 м (32,8 фута) от накладки рулевого колеса, привязанной к колесному диску.

    5. A01DLT0E01

      Накройте накладку рулевого колеса картонной коробкой или шинами.

      Обозначения на рисунке
      *a Груз

      1. Способ укрытия картонной коробкой: Накройте накладку рулевого колеса картонной коробкой и прижмите ее в четырех местах 4 грузами общим весом не менее 190 Н (19 кг, 41,8 фунта).

        Размер картонной коробки
        Должен быть больше следующих значений
        X: 460 мм (18,1 дюйма)
        Y: 650 мм (25,6 дюйма)

        Note


        • Если размер Y картонной коробки превышает диаметр колесного диска с шиной, к которой привязана накладка рулевого колеса, размер X должен быть следующим. X = 460 мм (18,1 дюйма) + ширина шины

        • Если использовать картонную коробку размером меньше указанного, ее разорвет при ударе во время развертывания подушки безопасности.

      2. A01DRPDE01
        Обозначения на рисунке
        *1

        Шины

        (3 или более)

        *a Внутренний диаметр
        *b Ширина

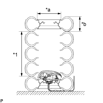
        Способ укрытия шинами: Положите, как минимум, 3 шины без колесных дисков поверх шины с колесным диском, к которому привязана накладка рулевого колеса. Положите на них другое колесо с диском.

        Размер шины
        Должен быть больше следующих значений
        Ширина: 185 мм (7,28 дюйма)
        Внутренний диаметр: 360 мм (14,2 дюйма)

        CAUTION:

        Не используйте шины с колесными дисками, кроме нижнего и верхнего колеса.

        Note


        • Так как при развертывании подушки безопасности шины могут быть повреждены, используйте шины, которые подлежат утилизации.

        • Не размещайте разъем SST под шиной, так как это может привести к его повреждению.

      3. A01DMNP

        Свяжите шины между собой с помощью двух жгутов проводов.

        CAUTION:

        Жгут проводов должен быть плотно затянут. Слабина жгута проводов приводит к расцеплению шин вследствие удара при развертывании подушки безопасности.

    6. A01DU7AE01
      Обозначения на рисунке
      *A При использовании картонной коробки
      *B При использовании шин
      *1 Накладка рулевого колеса
      *2 Аккумуляторная батарея
      *a 10 м или более

      Разверните подушку безопасности.


      1. Подсоедините красный зажим SST к положительному (+) выводу аккумуляторной батареи, а черный – к отрицательному выводу (-).

      2. Никто не должен находиться ближе 10 м (32,8 фута) к колесному диску, к которому привязана накладка рулевого колеса.

      3. Нажмите на активационный выключатель SST и разверните подушку безопасности.

        CAUTION:

        При срабатывании подушки безопасности рядом с шиной не должно быть людей.

        Tech Tips

        Подушка безопасности развертывается в момент загорания светодиодного индикатора выключателя SST.

    7. A01DTJW

      Отправьте на утилизацию накладку рулевого колеса.

      CAUTION:


      • Накладка рулевого колеса при развертывании подушки безопасности сильно нагревается. Не касайтесь ее как минимум в течение 30 минут после развертывания.

      • Для работы с накладкой рулевого колеса при развернутой подушке надевайте специальные перчатки и защитные очки.

      • Не допускайте попадания воды на накладку рулевого колеса после развертывания подушки.

      • По завершении работ всегда мойте руки водой.


      1. Снимите накладку рулевого колеса с колесного диска.

      2. Уложите накладку рулевого колеса в полиэтиленовый пакет, плотно завяжите его и утилизируйте так же, как и другие обычные детали.