СИСТЕМА ПОДУШЕК БЕЗОПАСНОСТИ, Diagnostic DTC:B1835/58, B1836/58, B1837/58, B1838/58

Код DTC Наименование DTC
B1835/58 Короткое замыкание в цепи пиропатрона левой подушки безопасности занавесочного типа
B1836/58 Обрыв цепи пиропатрона левой подушки безопасности занавесочного типа
B1837/58 Короткое замыкание на GND в цепи пиропатрона левой подушки безопасности занавесочного типа
B1838/58 Короткое замыкание на B+ в цепи пиропатрона левой подушки безопасности занавесочного типа

ОПИСАНИЕ

Цепь пиропатрона левой подушки безопасности занавесочного типа включает центральный блок управления системы SRS и левую подушку безопасности занавесочного типа.

Данная цепь служит для передачи управляющего сигнала системы SRS о необходимости активации пиропатрона при выполнении соответствующих условий.

Данные коды DTC регистрируются при обнаружении неисправности в цепи пиропатрона левой подушки безопасности занавесочного типа.

Код DTC Условие обнаружения DTC Неисправный участок
B1835/58

Выполняется одно из следующих условий:


  • Центральный блок управления системы SRS обнаруживает сигнал короткого замыкания в цепи пиропатрона левой подушки безопасности занавесочного типа 5 раз в ходе выполнения первичной проверки.

  • Неисправность пиропатрона левой подушки безопасности занавесочного типа.

  • Неисправность центрального датчика системы SRS.


  • Напольный провод

  • Левая подушка безопасности занавесочного типа в сборе (пиропатрон левой подушки безопасности занавесочного типа)

  • Центральный датчик системы SRS в сборе

B1836/58

Выполняется одно из следующих условий:


  • Центральный блок управления системы SRS обнаруживает сигнал обрыва в цепи пиропатрона левой подушки безопасности занавесочного типа в течение 2 с.

  • Неисправность пиропатрона левой подушки безопасности занавесочного типа.

  • Неисправность центрального датчика системы SRS.


  • Напольный провод

  • Левая подушка безопасности занавесочного типа в сборе (пиропатрон левой подушки безопасности занавесочного типа)

  • Центральный датчик системы SRS в сборе

B1837/58

Выполняется одно из следующих условий:


  • Центральный блок управления системы SRS обнаруживает сигнал короткого замыкания на массу в цепи пиропатрона левой подушки безопасности занавесочного типа в течение 0,5 с.

  • Неисправность пиропатрона левой подушки безопасности занавесочного типа.

  • Неисправность центрального датчика системы SRS.


  • Напольный провод

  • Левая подушка безопасности занавесочного типа в сборе (пиропатрон левой подушки безопасности занавесочного типа)

  • Центральный датчик системы SRS в сборе

B1838/58

Выполняется одно из следующих условий:


  • Центральный блок управления системы SRS обнаруживает сигнал короткого замыкания на B+ в цепи пиропатрона левой подушки безопасности занавесочного типа в течение 0,5 с.

  • Неисправность пиропатрона левой подушки безопасности занавесочного типа.

  • Неисправность центрального датчика системы SRS.


  • Напольный провод

  • Левая подушка безопасности занавесочного типа в сборе (пиропатрон левой подушки безопасности занавесочного типа)

  • Центральный датчик системы SRS в сборе

СХЕМА ЭЛЕКТРИЧЕСКИХ СОЕДИНЕНИЙ

A01DSJYE46
A01DSJYE47

ПОСЛЕДОВАТЕЛЬНОСТЬ ПРОВЕРКИ

Note


  • После выключения двигателя следует подождать некоторое время, прежде чем отсоединять провод от вывода аккумуляторной батареи. Поэтому, прежде чем приступать к этой работе, обязательно ознакомьтесь с примечанием относительно отсоединения провода от вывода аккумуляторной батареи (см. стр. Click here).

  • Если отрицательный (-) вывод аккумуляторной батареи отсоединялся во время выполнения ремонта, после его подсоединения необходимо инициализировать некоторые системы (см. стр. Click here).

Tech Tips

Чтобы выполнить проверку с имитацией условий возникновения неисправности, войдите в режим активной диагностики (режим проверки сигналов) портативного диагностического прибора (см. стр. Click here), а затем подвигайте каждый разъем системы SRS или совершите поездки по дорогам различного типа (см. стр. Click here).

ПОРЯДОК ВЫПОЛНЕНИЯ


  1. ПРОВЕРЬТЕ ТИП АВТОМОБИЛЯ


    1. Проверьте тип автомобиля.

      Результат
      Результат Следующий шаг
      Для 3-дверных моделей А
      Для 5-дверных моделей B

    А
    B
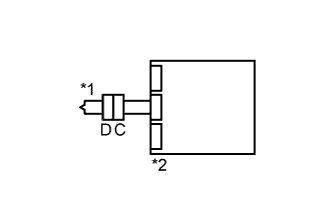
  2. ПРОВЕРЬТЕ ЛЕВУЮ ПОДУШКУ БЕЗОПАСНОСТИ ЗАНАВЕСОЧНОГО ТИПА В СБОРЕ (ПИРОПАТРОН ЛЕВОЙ ПОДУШКИ БЕЗОПАСНОСТИ ЗАНАВЕСОЧНОГО ТИПА)


    1. A01DRGOE01
      Обозначения на рисунке
      *1 Пиропатрон левой подушки безопасности занавесочного типа
      *2 Центральный блок управления системы SRS
      *3 Разъем C
      *4 SST
      *a

      Вид спереди разъема со стороны жгута проводов:

      (к пиропатрону левой подушки безопасности занавесочного типа)

      Выключите зажигание.

    2. Отсоедините провод от отрицательного (-) вывода аккумуляторной батареи и подождите не менее 90 секунд.

    3. Отсоедините разъем от левой подушки безопасности занавесочного типа.

    4. Подсоедините черную сторону провода SST (сопротивление: 2,1 Ом) к разъему С.

      CAUTION:

      Никогда не подключайте для измерения портативный диагностический прибор к левой подушке безопасности занавесочного типа (пиропатрон левой подушки безопасности занавесочного типа), так как это может привести к серьезной травме вследствие срабатывания подушки безопасности.

      Note


      • При подсоединении не следует вставлять SST в контакты разъема с усилием.

      • Вставляйте SST в контакты разъема по прямой.

      SST
      09843-18061
    5. Подсоедините провод к отрицательному (-) выводу аккумуляторной батареи и подождите не менее 2 секунд.

    6. Установите замок зажигания в положение ON (ВКЛ) и подождите не менее 60 секунд.

    7. Сбросьте коды DTC (см. стр. Click here).

    8. Выключите зажигание.

    9. Установите замок зажигания в положение ON (ВКЛ) и подождите не менее 60 секунд.

    10. Проверьте коды DTC (см. стр. Click here).

      OK
      DTC B1835, B1836, B1837 или B1838 не выводится.

      Tech Tips

      В этот раз могут выводиться другие коды, кроме B1835, B1836, B1837 и B1838, которые не связаны с данной проверкой.


    NG
    OK
  3. ПРОВЕРЬТЕ РАЗЪЕМ


    1. Выключите зажигание.

    2. Отсоедините провод от отрицательного (-) вывода аккумуляторной батареи и подождите не менее 90 секунд.

    3. Отсоедините SST от разъема С.

    4. A01DQP5E02
      Обозначения на рисунке
      *1 Пиропатрон левой подушки безопасности занавесочного типа
      *2 Центральный блок управления системы SRS

      Убедитесь, что разъемы напольного провода (со стороны левой подушки безопасности занавесочного типа) не повреждены.

      OK
      Кнопка блокировки не освобождена, а защелка замка не деформирована и не повреждена.

    NG
    OK
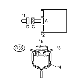
  4. ПРОВЕРЬТЕ НАПОЛЬНЫЙ ПРОВОД № 2 (ЛЕВАЯ ПОДУШКА БЕЗОПАСНОСТИ ЗАНАВЕСОЧНОГО ТИПА - ЦЕНТРАЛЬНЫЙ БЛОК УПРАВЛЕНИЯ СИСТЕМЫ SRS)


    1. A01DU81E01
      Обозначения на рисунке
      *1 Пиропатрон левой подушки безопасности занавесочного типа
      *2 Напольный провод № 2
      *3 Центральный блок управления системы SRS
      *4 Разъем C
      *a

      Вид спереди разъема со стороны жгута проводов:

      (к пиропатрону левой подушки безопасности занавесочного типа)

      Отсоедините разъемы от центрального блока управления системы SRS.

    2. Подсоедините провод к отрицательному (-) выводу аккумуляторной батареи и подождите не менее 2 секунд.

    3. Измерьте напряжение в соответствии со значениями, приведенными в таблице.

      Номинальное напряжение
      Подключение диагностического прибора Положение переключателя Заданные условия
      R5-1 (ICL+) - масса Зажигание включено Менее 1 В
      R5-2 (ICL-) - масса Зажигание включено Менее 1 В
    4. Выключите зажигание.

    5. Отсоедините провод от отрицательного (-) вывода аккумуляторной батареи и подождите не менее 90 секунд.

    6. Измерьте сопротивление в соответствии со значениями, приведенными в таблице ниже.

      Номинальное сопротивление
      Подключение диагностического прибора Условие Заданные условия
      R5-1 (ICL+) - R5-2 (ICL-) Всегда Менее 1 Ом
    7. Разомкните механизм предотвращения срабатывания, встроенный в разъем B (см. стр. Click here).

    8. Измерьте сопротивление в соответствии со значениями, приведенными в таблице ниже.

      Номинальное сопротивление
      Подключение диагностического прибора Условие Заданные условия
      R5-1 (ICL+) - R5-2 (ICL-) Всегда 1 МОм или более
      R5-1 (ICL+) - масса Всегда 1 МОм или более
      R5-2 (ICL-) - масса Всегда 1 МОм или более

    NG
    OK
  5. ПРОВЕРЬТЕ ЦЕНТРАЛЬНЫЙ БЛОК УПРАВЛЕНИЯ СИСТЕМЫ SRS


    1. A01DOWZE03
      Обозначения на рисунке
      *1 Пиропатрон левой подушки безопасности занавесочного типа
      *2 Центральный блок управления системы SRS

      Подсоедините разъемы к левой подушке безопасности занавесочного типа и центральному блоку управления системы SRS.

    2. Подсоедините провод к отрицательному (-) выводу аккумуляторной батареи и подождите не менее 2 с.

    3. Установите замок зажигания в положение ON (ВКЛ) и подождите не менее 60 секунд.

    4. Сбросьте коды DTC (см. стр. Click here).

    5. Выключите зажигание.

    6. Установите замок зажигания в положение ON (ВКЛ) и подождите не менее 60 секунд.

    7. Проверьте коды DTC (см. стр. Click here).

      OK
      DTC B1835, B1836, B1837 или B1838 не выводится.

      Tech Tips

      В этот раз могут выводиться другие коды, кроме B1835, B1836, B1837 и B1838, которые не связаны с данной проверкой.


    NG
    OK
  6. ПРОВЕРЬТЕ ЛЕВУЮ ПОДУШКУ БЕЗОПАСНОСТИ ЗАНАВЕСОЧНОГО ТИПА В СБОРЕ (ПИРОПАТРОН ЛЕВОЙ ПОДУШКИ БЕЗОПАСНОСТИ ЗАНАВЕСОЧНОГО ТИПА)


    1. A01DUD9E01
      Обозначения на рисунке
      *1 Пиропатрон левой подушки безопасности занавесочного типа
      *2 Центральный блок управления системы SRS
      *3 Разъем C
      *4 SST
      *a

      Вид спереди разъема со стороны жгута проводов:

      (к пиропатрону левой подушки безопасности занавесочного типа)

      Выключите зажигание.

    2. Отсоедините провод от отрицательного (-) вывода аккумуляторной батареи и подождите не менее 90 секунд.

    3. Отсоедините разъем от левой подушки безопасности занавесочного типа.

    4. Подсоедините белую сторону провода SST (сопротивление: 2,1 Ом) к разъему С.

      CAUTION:

      Никогда не подключайте для измерения портативный диагностический прибор к левой подушке безопасности занавесочного типа (пиропатрон левой подушки безопасности занавесочного типа), так как это может привести к серьезной травме вследствие срабатывания подушки безопасности.

      Note


      • При подсоединении не следует вставлять SST в контакты разъема с усилием.

      • Вставляйте SST в контакты разъема по прямой.

      SST
      09843-18061
    5. Подсоедините провод к отрицательному (-) выводу аккумуляторной батареи и подождите не менее 2 секунд.

    6. Установите замок зажигания в положение ON (ВКЛ) и подождите не менее 60 секунд.

    7. Удалите коды DTC (см. стр. Click here).

    8. Выключите зажигание.

    9. Установите замок зажигания в положение ON (ВКЛ) и подождите не менее 60 секунд.

    10. Проверьте коды DTC (см. стр. Click here).

      OK
      DTC B1835, B1836, B1837 или B1838 не выводится.

      Tech Tips

      В этот раз могут выводиться другие коды, кроме B1835, B1836, B1837 и B1838, которые не связаны с данной проверкой.


    NG
    OK
  7. ПРОВЕРЬТЕ РАЗЪЕМ


    1. Выключите зажигание.

    2. Отсоедините провод от отрицательного (-) вывода аккумуляторной батареи и подождите не менее 90 секунд.

    3. Отсоедините SST от разъема С.

    4. A01DQP5E02
      Обозначения на рисунке
      *1 Пиропатрон левой подушки безопасности занавесочного типа
      *2 Центральный датчик системы SRS

      Убедитесь, что разъемы напольного провода (со стороны левой подушки безопасности занавесочного типа) не повреждены.

      OK
      Кнопка блокировки не освобождена, а защелка замка не деформирована и не повреждена.

    NG
    OK
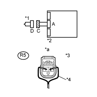
  8. ПРОВЕРЬТЕ НАПОЛЬНЫЙ ПРОВОД № 2 (ЛЕВАЯ ПОДУШКА БЕЗОПАСНОСТИ ЗАНАВЕСОЧНОГО ТИПА - ЦЕНТРАЛЬНЫЙ БЛОК УПРАВЛЕНИЯ СИСТЕМЫ SRS)


    1. A01DUBZE01
      Обозначения на рисунке
      *1 Пиропатрон левой подушки безопасности занавесочного типа
      *2 Напольный провод № 2
      *3 Центральный датчик системы SRS
      *4 Разъем C
      *a

      Вид спереди разъема со стороны жгута проводов:

      (к пиропатрону левой подушки безопасности занавесочного типа)

      Отсоедините разъемы от центрального блока управления системы SRS.

    2. Подсоедините провод к отрицательному (-) выводу аккумуляторной батареи и подождите не менее 2 с.

    3. Измерьте напряжение в соответствии со значениями, приведенными в таблице.

      Номинальное напряжение
      Контакты для подключения диагностического прибора Положение переключателя Заданные условия
      R35-1 (ICL+) - масса Замок зажигания в положении ON (ВКЛ) Менее 1 В
      R35-2 (ICL-) - масса Замок зажигания в положении ON (ВКЛ) Менее 1 В
    4. Выключите зажигание.

    5. Отсоедините провод от отрицательного (-) вывода аккумуляторной батареи и подождите не менее 90 секунд.

    6. Измерьте сопротивление в соответствии со значениями, приведенными в таблице ниже.

      Номинальное сопротивление
      Контакты для подключения диагностического прибора Условие Заданные условия
      R35-1 (ICL+) - R35-2 (ICL-) Всегда Менее 1 Ом
    7. Разомкните механизм предотвращения срабатывания, встроенный в разъем B (см. стр. Click here).

    8. Измерьте сопротивление в соответствии со значениями, приведенными в таблице ниже.

      Номинальное сопротивление
      Контакты для подключения диагностического прибора Условие Заданные условия
      R35-1 (ICL+) - R35-2 (ICL-) Всегда 1 МОм или более
      R35-1 (ICL+) - масса Всегда 1 МОм или более
      R35-2 (ICL-) - масса Всегда 1 МОм или более

    NG
    OK
  9. ПРОВЕРЬТЕ ЦЕНТРАЛЬНЫЙ БЛОК УПРАВЛЕНИЯ СИСТЕМЫ SRS


    1. A01DOWZE03
      Обозначения на рисунке
      *1 Пиропатрон левой подушки безопасности занавесочного типа
      *2 Центральный датчик системы SRS

      Подсоедините разъемы к левой подушке безопасности занавесочного типа и центральному блоку управления системы SRS.

    2. Подсоедините провод к отрицательному (-) выводу аккумуляторной батареи и подождите не менее 2 с.

    3. Установите замок зажигания в положение ON (ВКЛ) и подождите не менее 60 секунд.

    4. Удалите коды DTC (см. стр. Click here).

    5. Выключите зажигание.

    6. Установите замок зажигания в положение ON (ВКЛ) и подождите не менее 60 секунд.

    7. Проверьте коды DTC (см. стр. Click here).

      OK
      DTC B1835, B1836, B1837 или B1838 не выводится.

      Tech Tips

      В этот раз могут выводиться другие коды, кроме B1835, B1836, B1837 и B1838, которые не связаны с данной проверкой.


    NG
    OK