РУЛЕВОЙ МЕХАНИЗМ ПОВТОРНАЯ СБОРКА


  1. УСТАНОВИТЕ РУЛЕВУЮ ТЯГУ В СБОРЕ


    1. Временно установите 2 рулевых тяги на рейку рулевого механизма.

    2. Заполните шаровые шарниры рулевых тяг универсальной консистентной смазкой.

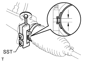
    3. A01DQEZE01
      Обозначения на рисунке
      *A Левая сторона
      *B Правая сторона
      *a Удерживайте
      *b Поверните

      Используя SST, установите рулевую тягу (с правой стороны) на рейку рулевого механизма.

      SST
      09922-10010
      Torque:
      Без SST
      105 Н*м  { 1071 кгс*см, 77 фунт-сила-футов }
      При использовании SST
      77 Н*м  { 784 кгс*см, 57 фунт-сила-футов }

      Tech Tips


      • Поверните SST в направлении, указанном на рисунке.

      • Используйте динамометрический ключ с длиной рычага 400 мм (15,7 дюйма).

    4. Используя SST и гаечный ключ, установите рулевую тягу (с левой стороны) на рейку рулевого механизма.

      SST
      09922-10010
      Torque:
      Без SST
      105 Н*м  { 1071 кгс*см, 77 фунт-сила-футов }
      При использовании SST
      77 Н*м  { 784 кгс*см, 57 фунт-сила-футов }

      Tech Tips


      • Поверните SST в направлении, указанном на рисунке.

      • Используйте динамометрический ключ с длиной рычага 400 мм (15,7 дюйма).

  2. УСТАНОВИТЕ ЗАЩИТНЫЙ ЧЕХОЛ РУЛЕВОГО МЕХАНИЗМА № 2


    1. Нанесите силиконовую консистентную смазку на внутреннюю поверхность небольшого отверстия в чехле.

    2. Установите 2 защитных чехла в канавку на кожухе рейки.

  3. УСТАНОВИТЕ ЗАЩИТНЫЙ ЧЕХОЛ РУЛЕВОГО МЕХАНИЗМА № 1

    Tech Tips

    Порядок выполнения работ такой же, как для защитного чехла № 2.

  4. УСТАНОВИТЕ ПРАВЫЙ ЗАЖИМ ЗАЩИТНОГО ЧЕХЛА РУЛЕВОГО МЕХАНИЗМА


    1. A01DMFUE03

      С помощью SST установите новый зажим защитного чехла, как показано на рисунке.

      SST
      09521-24010
      Номинальный зазор
      3,0 мм (0,118 дюйма) или менее

      Note

      Не допускайте повреждения чехла.

  5. УСТАНОВИТЕ ЛЕВЫЙ ЗАЖИМ ЗАЩИТНОГО ЧЕХЛА РУЛЕВОГО МЕХАНИЗМА

    Tech Tips

    Порядок выполнения работ такой же, как для правой стороны.

  6. УСТАНОВИТЕ ПРАВЫЙ ФИКСАТОР ЗАЩИТНОГО ЧЕХЛА РУЛЕВОГО МЕХАНИЗМА


    1. A01DT30E02
      Обозначения на рисунке
      *a Вверх
      *b 180°
      A01DQPB Передняя сторона автомобиля

      С помощью плоскогубцев установите фиксатор защитного чехла.

      Note

      Убедитесь, что захваты фиксатора находятся в зоне, указанной на рисунке.

  7. УСТАНОВИТЕ ЛЕВЫЙ ФИКСАТОР ЗАЩИТНОГО ЧЕХЛА РУЛЕВОГО МЕХАНИЗМА

    Tech Tips

    Порядок выполнения работ такой же, как для правой стороны.

  8. УСТАНОВИТЕ ВЫПУСКНУЮ ОБРАТНУЮ ТРУБУ РУЛЕВОГО МЕХАНИЗМА


    1. С помощью разрезной головки установите обратную трубу на рулевой механизм.

      Torque:
      25 Н*м  { 255 кгс*см, 18 фунт-сила-футов }

      Tech Tips

      Если совместно с динамометрическим ключом используется разрезная головка, используйте формулу для расчета заданных моментов затяжки (см. стр. Click here).

  9. УСТАНОВИТЕ НАГНЕТАТЕЛЬНУЮ ТРУБКУ ПОВОРОТА


    1. Смажьте жидкостью для механизма рулевого управления 2 новых кольцевых уплотнения. С помощью разрезной головки установите 2 кольцевых уплотнения и нагнетательную трубку левого поворота.

      Torque:
      13 Н*м  { 127 кгс*см, 9 фунт-сила-футов }

      Tech Tips

      Если совместно с динамометрическим ключом используется разрезная головка, используйте формулу для расчета заданных моментов затяжки (см. стр. Click here).

    2. Смажьте жидкостью для механизма рулевого управления 2 новых кольцевых уплотнения. С помощью разрезной головки установите 2 кольцевых уплотнения и нагнетательную трубку правого поворота.

      Torque:
      13 Н*м  { 127 кгс*см, 9 фунт-сила-футов }

      Tech Tips

      Если совместно с динамометрическим ключом используется разрезная головка, используйте формулу для расчета заданных моментов затяжки (см. стр. Click here).

  10. УСТАНОВИТЕ НАКОНЕЧНИК ЛЕВОЙ РУЛЕВОЙ ТЯГИ В СБОРЕ


    1. Совместите метки на тяге и наконечнике и временно закрепите тягу контргайкой.

      Tech Tips

      После регулировки схождения затяните контргайку.

      Torque:
      88 Н*м  { 897 кгс*см, 65 фунт-сила-футов }
  11. УСТАНОВИТЕ ПРАВЫЙ НАКОНЕЧНИК ТЯГИ В СБОРЕ

    Tech Tips

    Порядок выполнения работ такой же, как для левой стороны.