ЛОПАСТНОЙ НАСОС (для моделей с 1KD-FTV) ПОВТОРНАЯ СБОРКА

Note

При установке покройте детали, отмеченные стрелками, жидкостью для механизма рулевого управления с усилителем (см. стр. Click here).


  1. УСТАНОВИТЕ САЛЬНИК КОЖУХА ЛОПАСТНОГО НАСОСА


    1. Покройте кромку нового сальника кожуха лопастного насоса универсальной консистентной смазкой.

    2. A01DQT8E04

      При помощи SST и пресса установите сальник кожуха лопастного насоса на передний кожух лопастного насоса.

      SST
      09950-60010   ( 09951-00320 )
      09950-70010   ( 09951-07150 )

      Note

      Убедитесь, что сальник кожуха лопастного насоса установлен в правильном направлении, как показано на рисунке.

  2. УСТАНОВИТЕ ПОДШИПНИК ВАЛА ЛОПАСТНОГО НАСОСА


    1. A01DU7N

      При помощи съемника стопорных колец установите пружинное стопорное кольцо на вал лопастного насоса.

    2. Обмотайте зубчатую часть вала лопастного насоса защитной лентой.

    3. A01DLZEE04
      Обозначения на рисунке
      *1 Защитная клейкая лента
      *2 Внутреннее кольцо

      С помощью пресса установите подшипник вала лопастного насоса на вал лопастного насоса.

      Note


      • Не допускайте повреждения подшипника вала лопастного насоса.

      • Убедитесь, что внутреннее кольцо подшипника вала лопастного насоса установлено на V-образных призмах.

  3. УСТАНОВИТЕ ШЕСТЕРНЮ ЛОПАСТНОГО НАСОСА


    1. A01DQMLE02
      Обозначения на рисунке
      *1 Пресс

      С помощью SST и пресса установите шестерню лопастного насоса на вал лопастного насоса.

      SST
      09950-60010   ( 09951-00250 )

      Tech Tips

      Запрессовывайте вал лопастного насоса, пока конец вала и шестерня лопастного насоса не окажутся на одном уровне.

    2. A01DNKYE02

      С помощью SST и пресса установите вал лопастного насоса в передний кожух лопастного насоса.

      SST
      09950-60010   ( 09951-00250 )

      Tech Tips

      Запрессовывайте вал лопастного насоса, пока не покажется канавка пружинного стопорного кольца переднего кожуха лопастного насоса.

    3. Установите пружинное стопорное кольцо № 1 кожуха лопастного насоса на передний кожух лопастного насоса.

  4. УСТАНОВИТЕ ПЕРЕДНЮЮ ЗАЩИТНУЮ ШАЙБУ ЛОПАСТНОГО НАСОСА


    1. A01DN2F

      Покройте новое кольцевое уплотнение жидкостью для механизма рулевого управления с усилителем и установите его на передний кожух лопастного насоса.

    2. A01DMGM

      Покройте новое кольцевое уплотнение жидкостью для механизма рулевого управления с усилителем и установите его на переднюю боковую защитную шайбу лопастного насоса.

    3. A01DR55

      Совместите паз передней боковой защитной шайбы лопастного насоса с пазом переднего кожуха лопастного насоса и установите переднюю боковую защитную шайбу лопастного насоса.

      Note

      Убедитесь, что передняя боковая защитная шайба лопастного насоса установлена в правильном направлении, как показано на рисунке.

  5. УСТАНОВИТЕ СТОПОРНОЕ КОЛЬЦО ЛОПАСТНОГО НАСОСА


    1. A01DR0GE02
      Обозначения на рисунке
      *a Нанесенная метка

      Совместите паз стопорного кольца лопастного насоса с пазом передней боковой защитной шайбы лопастного насоса и установите стопорное кольцо лопастного насоса таким образом, чтобы нанесенная метка была направлена вверх.

      Note

      Убедитесь, что стопорное кольцо установлено в правильном направлении.

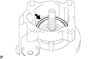
  6. УСТАНОВИТЕ РОТОР ЛОПАСТНОГО НАСОСА


    1. Смажьте ротор лопастного насоса жидкостью для механизма рулевого управления с усилителем.

    2. Установите ротор лопастного насоса.

      Tech Tips

      Ротор лопастного насоса может устанавливаться в любом направлении.

    3. Смажьте все 10 пластин лопастей насоса жидкостью для механизма рулевого управления с усилителем.

    4. A01DMNLE14
      Обозначения на рисунке
      *a Закругленный конец
      *b Наружу
      *c Внутрь

      Установите пластины лопастей насоса закругленными концами наружу.

      Note

      Убедитесь, что пластины лопастей насоса установлены в правильном направлении.

  7. УСТАНОВИТЕ ЗАДНИЙ КОЖУХ ЛОПАСТНОГО НАСОСА


    1. Покройте новое кольцевое уплотнение жидкостью для механизма рулевого управления с усилителем и установите его на задний кожух лопастного насоса.

    2. A01DP1H

      Совместите штифт заднего кожуха лопастного насоса с пазами стопорного кольца, передней боковой защитной шайбы и переднего кожуха лопастного насоса и закрепите задний кожух лопастного насоса 4 болтами.

      Torque:
      22 Н*м  { 224 кгс*см, 16 фунт-сила-футов }
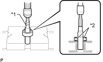
  8. ЗАКРЕПИТЕ ЛОПАСТНОЙ НАСОС В СБОРЕ


    1. A01DPXWE01

      С помощью SST зафиксируйте лопастной насос в сборе в тисках.

      SST
      09630-00014   ( 09631-00132 )
  9. ПРОВЕРЬТЕ СУММАРНЫЙ ПРЕДНАТЯГ


    1. Убедитесь, что насос работает плавно, без постороннего шума.

    2. Временно вверните технологический болт.

      Рекомендуемый технологический болт
      Параметр / Устройство Заданные условия
      Диаметр резьбы 10 мм (0,394 дюйма)
      Шаг резьбы 1,25 мм (0,0492 дюйма)
      Длина болта 50 мм (1,97 дюйма)
    3. A01DPGS

      С помощью динамометрического ключа проверьте крутящий момент.

      Номинальный крутящий момент
      Не более 0,3 Н*м (3 кгс*см, 2 фунт-сила-дюйма)

      Если крутящий момент не соответствует заданному, проверьте установку всех деталей.

  10. УСТАНОВИТЕ ШТУЦЕР КАНАЛА ВСАСЫВАНИЯ


    1. Смажьте новое кольцевое уплотнение жидкостью для механизма рулевого управления с усилителем и вставьте его в штуцер канала всасывания.

    2. Установите штуцер впускного отверстия на передний кожух лопастного насоса и закрепите его болтом.

      Torque:
      12 Н*м  { 122 кгс*см, 9 фунт-сила-футов }